公布日:2023.12.19
申請日:2023.10.08
分類號:C02F3/12(2023.01)I
摘要
本發明公開了一種好氧顆粒污泥反應器,涉及污水處理設備技術領域,包括臺板、緩沖式反應器機構、污水布水組件、曝氣溶氧機構和顆粒污泥沉降機構,臺板上表面左側開設有圓通孔;緩沖式反應器機構包含有固定底筒,固定底筒的底部固定在圓通孔處,固定底筒的底部內側固定連接有錐形底罩,錐形底罩的底部出水口連接污水轉移組件的一端,固定底筒的兩側分別開設有豎滑槽。該好氧顆粒污泥反應器,曝氣充分,讓固定底筒和滑動筒內的污水快速富含氧氣,好氧顆粒污泥培養的花費時間短,且采用顆粒污泥沉降機構促進好氧顆粒污泥的快速沉淀,方便和水快速分離,且污泥沉淀好收集起來,不容易受水流影響而浮動,利于提高污水的處理效率。

權利要求書
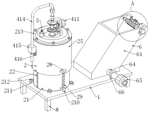
1.一種好氧顆粒污泥反應器,其特征在于,包括:臺板(1),上表面左側開設有圓通孔;緩沖式反應器機構(2),包含有固定底筒(21)、滑動筒(25)、密封防漏組件、污水轉移組件和緩沖收縮組件,固定底筒(21)的底部固定在圓通孔處,所述固定底筒(21)的底部內側固定連接有錐形底罩(216),錐形底罩(216)的底部出水口連接污水轉移組件的一端,所述固定底筒(21)的兩側分別開設有豎滑槽(22),所述滑動筒(25)滑動套接在固定底筒(21)的頂部外側,且固定底筒(21)的頂部外側安裝有密封防漏組件,滑動筒(25)的底部外側通過緩沖收縮組件連接固定底筒(21)的底部外側,所述滑動筒(25)內底部兩側分別固定連接有兩個滑動塊(23),兩個滑動塊(23)分別與對應的豎滑槽(22)滑動連接,所述滑動筒(25)的頂部固定連接有蓋板(213),所述蓋板(213)上設置有環形集氣室(215);污水布水組件(3),安裝在固定底筒(21)的底部;曝氣溶氧機構(4),安裝在蓋板(213)的中部;顆粒污泥沉降機構(6),安裝在臺板(1)上表面的右側,且顆粒污泥沉降機構(6)底部連接污水轉移組件的另一端。
2.根據權利要求1所述的好氧顆粒污泥反應器,其特征在于:還包括可控式泄壓機構(5),所述環形集氣室(215)的頂部固定連接可控式泄壓機構(5)的底部。
3.根據權利要求1所述的好氧顆粒污泥反應器,其特征在于:所述密封防漏組件包含有環形密封槽(26)和密封圈(27),所述固定底筒(21)的頂部外側開設有環形密封槽(26),環形密封槽(26)內安裝有密封圈(27),密封圈(27)的外側與滑動筒(25)的內壁接觸。
4.根據權利要求1所述的好氧顆粒污泥反應器,其特征在于:所述污水布水組件(3)包含有環形分布管(31)、布水管(32)、進水單向閥(33)、污水泵(34)和送水管道(35),所述錐形底罩(216)的底側固定連接有環形分布管(31),環形分布管(31)的頂部環形陣列連接有布水管(32),所述布水管(32)穿過錐形底罩(216)延伸至錐形底罩(216)上側,所述環形分布管(31)的一側連接送水管道(35)的一端,所述送水管道(35)的另一端穿過固定底筒(21)的底部側面并且連接污水泵(34)的出口,送水管道(35)上串接有進水單向閥(33)。
5.根據權利要求1所述的好氧顆粒污泥反應器,其特征在于:所述曝氣溶氧機構(4)包含有密封軸承(41)、外轉套(42)、內空心轉軸(43)、曝氣組件、氣泡打散攪動桿(46)、對向轉動動力組件和供氣組件,所述蓋板(213)的中部通過密封軸承(41)轉動連接外轉套(42)的頂部,所述外轉套(42)內轉動連接有內空心轉軸(43),內空心轉軸(43)的底部延伸至外轉套(42)的底端外側并且連接有曝氣組件,所述外轉套(42)的底部外周側環形陣列連接有氣泡打散攪動桿(46),所述外轉套(42)的頂部外側和內空心轉軸(43)的頂部均連接對向轉動動力組件,且內空心轉軸(43)的頂端連接供氣組件。
6.根據權利要求5所述的好氧顆粒污泥反應器,其特征在于:所述曝氣組件包含有排氣彎管(44)和曝氣頭(45),所述內空心轉軸(43)的底部外周側環形陣列連接有排氣彎管(44),排氣彎管(44)的內側等距離的連接有曝氣頭(45)。
7.根據權利要求1所述的好氧顆粒污泥反應器,其特征在于:所述顆粒污泥沉降機構(6)包含有反應沉降分離箱(61)、豎隔板(62)和防浮擋泥板(63),所述臺板(1)的上表面右側固定連接有反應沉降分離箱(61),所述反應沉降分離箱(61)的頂部向右上方傾斜設置,所述反應沉降分離箱(61)內底部固定連接有豎隔板(62),豎隔板(62)將反應沉降分離箱(61)底部分隔為左側的進水腔和右側的污泥腔,豎隔板(62)的頂部與反應沉降分離箱(61)內左側之間留有矩形的穩流口,所述豎隔板(62)的頂部右側固定連接防浮擋泥板(63)的左端,所述防浮擋泥板(63)左高右低傾斜設置,防浮擋泥板(63)的右端與反應沉降分離箱(61)內右側之間留有落泥口,所述反應沉降分離箱(61)的頂部右側開設有溢流缺口(67)。
8.根據權利要求7所述的好氧顆粒污泥反應器,其特征在于:所述顆粒污泥沉降機構(6)還包含有排泥組件,所述污泥腔連接排泥組件的一端。
9.根據權利要求1所述的好氧顆粒污泥反應器,其特征在于:還包括污泥清水分離機構(7),反應沉降分離箱(61)的頂部對應溢流缺口的位置安裝有污泥清水分離機構(7)。
10.根據權利要求9所述的好氧顆粒污泥反應器,其特征在于:所述污泥清水分離機構(7)包含有污泥顆粒分離組件和防堵組件,溢流缺口內安裝有污泥顆粒分離組件,所述反應沉降分離箱(61)的頂部安裝有防堵組件,防堵組件與污泥顆粒分離組件的內側接觸。
發明內容
本發明要解決的技術問題是克服現有的缺陷,提供一種好氧顆粒污泥反應器,曝氣充分,讓固定底筒和滑動筒內的污水快速富含氧氣,好氧顆粒污泥培養的花費時間短,且采用顆粒污泥沉降機構促進好氧顆粒污泥的快速沉淀,方便和水快速分離,且污泥沉淀好收集起來,不容易受水流影響而浮動,利于提高污水的處理效率,可以有效解決背景技術中的問題。
為實現上述目的,本發明提供如下技術方案:一種好氧顆粒污泥反應器,包括:
臺板,上表面左側開設有圓通孔;
緩沖式反應器機構,包含有固定底筒、豎滑槽、滑動塊、滑動筒、錐形底罩、密封防漏組件、污水轉移組件和緩沖收縮組件,固定底筒的底部固定在圓通孔處,所述固定底筒的底部內側固定連接有錐形底罩,錐形底罩的底部出水口連接污水轉移組件的一端,所述固定底筒的兩側分別開設有豎滑槽,所述滑動筒滑動套接在固定底筒的頂部外側,且固定底筒的頂部外側安裝有密封防漏組件,滑動筒的底部外側通過緩沖收縮組件連接固定底筒的底部外側,所述滑動筒內底部兩側分別通過固定螺絲固定連接有兩個滑動塊,兩個滑動塊分別與對應的豎滑槽滑動連接,所述滑動筒的頂部通過拆卸螺栓固定連接有蓋板,所述蓋板上設置有環形集氣室;
污水布水組件,安裝在固定底筒的底部;
曝氣溶氧機構,安裝在蓋板的中部;
顆粒污泥沉降機構,安裝在臺板上表面的右側,且顆粒污泥沉降機構底部連接污水轉移組件的另一端。
固定底筒和滑動筒構成緩沖式的反應器體,通過污水布水組件向固定底筒內充水,由于反應器體內水壓變大,則滑動筒會通過滑動塊和豎滑槽的滑動向上活動,擴大反應器體內的容積,密封防漏組件可以避免滑動筒與固定底筒的連接處漏水,錐形底罩的形狀可以使初始形成的一些好氧顆粒污泥聚集,方便通過污水轉移組件轉移至顆粒污泥沉降機構內,當反應器體內的污水被曝氣溶氧機構充分曝氣,空氣會在反應器體上升,匯集到環形集氣室內,含氧量達標后,此時打開污水轉移組件中的電磁閥,緩沖收縮組件則拉動滑動筒向下活動,將反應器體內底部具有較多好氧顆粒污泥的水通過污水轉移組件緩慢壓入顆粒污泥沉降機構內,而上層剩余的具有少量好氧顆粒污泥的水留在固定底筒內等待下次從污水布水組件中進來的污水混合,利用剩余水中的微生物促進下次好氧顆粒污泥的產生,而進入顆粒污泥沉降機構內污水中的好氧顆粒污泥沉淀,清水排出,污水的處理效率高,每次通過污水布水組件向反應器體內送入一定量的污水,將滑動筒頂起至最高位置,待曝氣溶氧機構曝氣完成,打開電磁閥,緩沖收縮組件拉動滑動筒下降反應器體內底部的污水進入顆粒污泥沉降機構內,直到滑動筒下降最低的位置,然后電磁閥關閉,繼續借助污水布水組件向反應器體內送水,實現脈沖式的污水處理流程,需要注意污水布水組件向固定底筒內充水的過程也是需要曝氣溶氧機構同步工作的,能夠促進曝氣的充分性。
進一步的,還包括可控式泄壓機構,所述環形集氣室的頂部固定連接可控式泄壓機構的底部。由于曝氣溶氧機構不斷在反應器體內曝氣,環形集氣室內匯集的空氣不斷增多,隨著環形集氣室內氣壓的升高,高氣壓可以打開可控式泄壓機構進行泄壓,同時利于空氣中的氧氣溶于污水中。
進一步的,所述密封防漏組件包含有環形密封槽和密封圈,所述固定底筒的頂部外側開設有環形密封槽,環形密封槽內安裝有密封圈,密封圈的外側與滑動筒的內壁接觸。環形密封槽用于安裝密封圈,密封圈采用橡膠圈,可以將固定底筒與滑動筒之間的縫隙密封,避免連接處滲水。
進一步的,所述污水布水組件包含有環形分布管、布水管、進水單向閥、污水泵和送水管道,所述錐形底罩的底側固定連接有環形分布管,環形分布管的頂部環形陣列連接有布水管,所述布水管穿過錐形底罩延伸至錐形底罩上側,所述環形分布管的一側連接送水管道的一端,所述送水管道的另一端穿過固定底筒的底部側面并且連接污水泵的出口,送水管道上串接有進水單向閥。污水泵的進口可以連接外部污水源,污水泵將污水通過送水管道送入環形分布管內,然后通過布水管將污水分散的送入固定底筒內,利于污水與曝氣溶氧機構充分接觸,進水單向閥可以避免污水泵停止工作后固定底筒內的水返流。
進一步的,所述曝氣溶氧機構包含有密封軸承、外轉套、內空心轉軸、曝氣組件、氣泡打散攪動桿、對向轉動動力組件和供氣組件,所述蓋板的中部通過密封軸承轉動連接外轉套的頂部,所述外轉套內轉動連接有內空心轉軸,內空心轉軸的底部延伸至外轉套的底端外側并且連接有曝氣組件,所述外轉套的底部外周側環形陣列連接有氣泡打散攪動桿,所述外轉套的頂部外側和內空心轉軸的頂部均連接對向轉動動力組件,且內空心轉軸的頂端連接供氣組件。密封軸承可以保證外轉套與蓋板連接處的密封性,對向轉動動力組件帶動外轉套和內空心轉軸以相反的方向轉動轉動,內空心轉軸在轉動時可以接受供氣組件輸送來的空氣,然后將空氣通過曝氣組件送入反應器體內的污水中,讓污水與空氣充分接觸,提高污水中的含氧量,促進好氧顆粒污泥的生成,氣泡打散攪動桿與曝氣組件反向轉動,可以將曝氣組件曝出的氣泡打散,促進氣泡與污水的充分接觸,進一步提高污水中的含氧量。
進一步的,所述曝氣組件包含有排氣彎管和曝氣頭,所述內空心轉軸的底部外周側環形陣列連接有排氣彎管,排氣彎管的內側等距離的連接有曝氣頭。排氣彎管可以輔助安裝更多的曝氣頭,曝氣頭可以將內空心轉軸和排氣彎管內的空氣分散的送入反應器體內的污水中。
進一步的,所述顆粒污泥沉降機構包含有反應沉降分離箱、豎隔板和防浮擋泥板,所述臺板的上表面右側固定連接有反應沉降分離箱,所述反應沉降分離箱的頂部向右上方傾斜設置,所述反應沉降分離箱內底部固定連接有豎隔板,豎隔板將反應沉降分離箱底部分隔為左側的進水腔和右側的污泥腔,豎隔板的頂部與反應沉降分離箱內左側之間留有矩形的穩流口,所述豎隔板的頂部右側固定連接防浮擋泥板的左端,所述防浮擋泥板左高右低傾斜設置,防浮擋泥板的右端與反應沉降分離箱內右側之間留有落泥口,所述反應沉降分離箱的頂部右側開設有溢流缺口。
進一步的,所述顆粒污泥沉降機構還包含有排泥組件,所述污泥腔連接排泥組件的一端。
送入進水腔中的污水通過穩流口逐步進入反應沉降分離箱內頂部,污水中的好氧顆粒污泥在反應沉降分離箱內沉降落入反應沉降分離箱內右側的斜面上,然后隨著沉積的好氧顆粒污泥越來越多會通過落泥口進入污泥腔內暫時存儲,待污泥腔內好氧顆粒污泥較多時,可以借助排泥組件排出,反應沉降分離箱內上層的清水通過溢流缺口溢出,完成污水的反應處理,防浮擋泥板上沉淀的好氧顆粒污泥也會落入落泥口處。
進一步的,還包括污泥清水分離機構,反應沉降分離箱的頂部對應溢流缺口的位置安裝有污泥清水分離機構。一些浮起的好氧顆粒污泥如果到了溢流缺口處則會被污泥清水分離機構過濾下來。
進一步的,所述污泥清水分離機構包含有污泥顆粒分離組件和防堵組件,溢流缺口內安裝有污泥顆粒分離組件,所述反應沉降分離箱的頂部安裝有防堵組件,防堵組件與污泥顆粒分離組件的內側接觸。污泥顆粒分離組件用于分類清水的好氧顆粒污泥,如果好氧顆粒污泥堵住污泥顆粒分離組件,則防堵組件可以對污泥顆粒分離組件進行清理,防止好氧顆粒污泥堵塞影響清水的溢出。
與現有技術相比,本發明的有益效果是:本好氧顆粒污泥反應器,具有以下好處:
1、固定底筒和滑動筒構成緩沖式的反應器體,通過污水布水組件向固定底筒內充水,由于反應器體內水壓變大,則滑動筒會通過滑動塊和豎滑槽的滑動向上活動,擴大反應器體內的容積,密封防漏組件可以避免滑動筒與固定底筒的連接處漏水,錐形底罩的形狀可以使初始形成的一些好氧顆粒污泥聚集,方便通過污水轉移組件轉移至顆粒污泥沉降機構內,當反應器體內的污水被曝氣溶氧機構充分曝氣,空氣會在反應器體上升,匯集到環形集氣室內,含氧量達標后,此時打開污水轉移組件中的電磁閥,緩沖收縮組件則拉動滑動筒向下活動,將反應器體內底部具有較多好氧顆粒污泥的水通過污水轉移組件緩慢壓入顆粒污泥沉降機構內,而上層剩余的具有少量好氧顆粒污泥的水留在固定底筒內等待下次從污水布水組件中進來的污水混合,利用剩余水中的微生物促進下次好氧顆粒污泥的產生,而進入顆粒污泥沉降機構內污水中的好氧顆粒污泥沉淀,清水排出,污水的處理效率高
2、曝氣充分,讓固定底筒和滑動筒內的污水快速富含氧氣,好氧顆粒污泥培養的花費時間短,且采用顆粒污泥沉降機構促進好氧顆粒污泥的快速沉淀,方便和水快速分離,且污泥沉淀好收集起來,不容易受水流影響而浮動,利于提高污水的處理效率。
(發明人:倪康祥;陽重陽;馬東方;鄧根明;謝永貴;何雄健;廖鳳珍;梁輝政)






