公布日:2024.06.28
申請日:2024.04.09
分類號:C02F1/52(2023.01)I
摘要
本發明公開了污水處理技術領域的一種模塊化生活污水處理裝置,包括沉淀池,所述沉淀池頂部設置有暫存池,所述暫存池底部設置有出料管,所述沉淀池上設置有移動出料組件,所述移動出料組件用于將暫存池內部的藥物通過出料管加入到沉淀池內部的隨機位置,本發明通過移動出料組件控制帶動出料管在沉淀池內部移動,出料管既能夠在沉淀池內部水平轉動,又能夠在沉淀池內部豎直調節高度,且多組出料管的位置并不是對應的,每個出料管同時所在的高度位置都不相同,這樣通過出料管將藥劑添加至沉淀池內部與污水凝絮反應,使得沉淀池內部的污水能夠充分與藥液接觸反應,且出料管的低速轉動并不會對凝絮沉淀的過程造成影響,提高污水處理的效果。

權利要求書
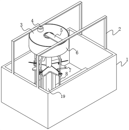
1.一種模塊化生活污水處理裝置,包括沉淀池(1),所述沉淀池(1)頂部設置有暫存池(6),所述暫存池(6)底部設置有出料管(8),其特征在于:所述沉淀池(1)上設置有移動出料組件,所述移動出料組件用于將暫存池(6)內部的藥物通過出料管(8)加入到沉淀池(1)內部的隨機位置。
2.根據權利要求1所述的一種模塊化生活污水處理裝置,其特征在于:所述移動出料組件包括支撐桿(19),所述暫存池(6)底部固定連接有支撐桿(19),所述支撐桿(19)底部轉動連接有轉動座(21),所述沉淀池(1)內部固定連接有定位桿(10),所述轉動座(21)滑動套接在定位桿(10)外部,所述支撐桿(19)底部固定連接有傳動齒輪(17),所述沉淀池(1)底部固定連接有用于和傳動齒輪(17)嚙合的齒條板(9),所述支撐桿(19)上轉動套接有轉板(7),所述轉板(7)底部固定連接有滑動板(11),所述滑動板(11)底部與齒條板(9)滑動連接,所述暫存池(6)底部固定連接有若干個呈等距分布的軟管(18),所述軟管(18)底部固定連接有螺紋管(16),所述螺紋管(16)底部與出料管(8)對接,所述支撐桿(19)側壁上固定連接有若干個與螺紋管(16)對應的傳動齒條(13),所述螺紋管(16)上螺紋連接有傳動齒輪(17),所述傳動齒輪(17)外部轉動套接有固定筒(14),所述傳動齒條(13)與傳動齒輪(17)嚙合,所述固定筒(14)外部轉動套接有滑動套(15),所述滑動套(15)與轉板(7)滾動連接,所述傳動齒條(13)上固定連接有用于固定筒(14)復位的連接彈簧,所述螺紋管(16)頂部滑動連接有定位軸,所述定位軸頂部與暫存池(6)底部滑動連接。
3.根據權利要求2所述的一種模塊化生活污水處理裝置,其特征在于:所述暫存池(6)內部設置有固定電機,所述暫存池(6)頂部轉動連接有密封板(3),所述沉淀池(1)頂部固定連接有用于和密封板(3)滑動連接的連接桿(2),所述連接桿(2)一側固定連接有連接板(5),所述固定電機頂部與連接板(5)固定連接。
4.根據權利要求2所述的一種模塊化生活污水處理裝置,其特征在于:所述轉動座(21)底部轉動連接有若干個呈等距分布的滑輪(20)。
5.根據權利要求3所述的一種模塊化生活污水處理裝置,其特征在于:所述密封板(3)頂部開設有進料口(4),所述密封板(3)上設置有用于和暫存池(6)密封連接的密封墊圈。
6.根據權利要求1所述的一種模塊化生活污水處理裝置,其特征在于:所述轉板(7)的外壁均為倒角圓弧狀。
7.根據權利要求1所述的一種模塊化生活污水處理裝置,其特征在于:所述出料管(8)底部開設有若干個呈等距分布的出料口。
8.根據權利要求2所述的一種模塊化生活污水處理裝置,其特征在于:所述轉動座(21)的內壁能夠與定位桿(10)外壁完全貼合。
發明內容
本發明的目的在于提供一種模塊化生活污水處理裝置,以解決上述背景技術中提出的問題。
為實現上述目的,本發明提供如下技術方案:一種模塊化生活污水處理裝置,包括沉淀池,所述沉淀池頂部設置有暫存池,所述暫存池底部設置有出料管,所述沉淀池上設置有移動出料組件,所述移動出料組件用于將暫存池內部的藥物通過出料管加入到沉淀池內部的隨機位置。
作為本發明的進一步方案,所述移動出料組件包括支撐桿,所述暫存池底部固定連接有支撐桿,所述支撐桿底部轉動連接有轉動座,所述沉淀池內部固定連接有定位桿,所述轉動座滑動套接在定位桿外部,所述支撐桿底部固定連接有傳動齒輪,所述沉淀池底部固定連接有用于和傳動齒輪嚙合的齒條板,所述支撐桿上轉動套接有轉板,所述轉板底部固定連接有滑動板,所述滑動板底部與齒條板滑動連接,所述暫存池底部固定連接有若干個呈等距分布的軟管,所述軟管底部固定連接有螺紋管,所述螺紋管底部與出料管對接,所述支撐桿側壁上固定連接有若干個與螺紋管對應的傳動齒條,所述螺紋管上螺紋連接有傳動齒輪,所述傳動齒輪外部轉動套接有固定筒,所述傳動齒條與傳動齒輪嚙合,所述固定筒外部轉動套接有滑動套,所述滑動套與轉板滾動連接,所述傳動齒條上固定連接有用于固定筒復位的連接彈簧,所述螺紋管頂部滑動連接有定位軸,所述定位軸頂部與暫存池底部滑動連接。
作為本發明的進一步方案,所述暫存池內部設置有固定電機,所述暫存池頂部轉動連接有密封板,所述沉淀池頂部固定連接有用于和密封板滑動連接的連接桿,所述連接桿一側固定連接有連接板,所述固定電機頂部與連接板固定連接。
作為本發明的進一步方案,所述轉動座底部轉動連接有若干個呈等距分布的滑輪。
作為本發明的進一步方案,所述密封板頂部開設有進料口,所述密封板上設置有用于和暫存池密封連接的密封墊圈。
作為本發明的進一步方案,所述轉板的外壁均為倒角圓弧狀。
作為本發明的進一步方案,所述出料管底部開設有若干個呈等距分布的出料口。
作為本發明的進一步方案,所述轉動座的內壁能夠與定位桿外壁完全貼合。
與現有技術相比,本發明的有益效果是:
1.本發明通過移動出料組件控制帶動出料管在沉淀池內部移動,出料管既能夠在沉淀池內部水平轉動,又能夠在沉淀池內部豎直調節高度,且多組出料管的位置并不是對應的,每個出料管同時所在的高度位置都不相同,這樣通過出料管將藥劑添加至沉淀池內部與污水凝絮反應,使得沉淀池內部的污水能夠充分與藥液接觸反應,提高污水處理的效果。
(發明人:任艷娜;單保貞;高艷莉;李麗;張云霞;李靖存)






