公布日:2023.11.21
申請日:2023.08.25
分類號:C02F1/38(2023.01)I;C02F1/00(2023.01)I;C02F1/24(2023.01)I;B01D36/00(2006.01)I;B01D35/16(2006.01)I
摘要
本發明公開了一種多級離心式污水處理裝置,包括:殼體,所述殼體頂部和底部分別設置有用于連接污水排水管內部的污水入料管和用于處理后水出料的凈化水出料管,所述污水入料管上設置有用于控制污水入料管連通開關的電磁閥,所述凈化水出料管上設置有用于控制凈化水出料管出料流速的蠕動軟管泵;離心過濾組件,設置在殼體內部且與污水入料管連接,用于對殼體內部的污水進行離心過濾處理;加壓溶氣組件,設置在離心過濾組件上用于在污水進行離心過濾操作的同時控制殼體內部的氣壓加壓減壓讓污水中的較輕污染物漂浮在水面上。本發明能夠在進行污水離心分離處理的同時對分離后的污水進行氣浮處理,提高污水的凈化效率,凈化效率高。

權利要求書
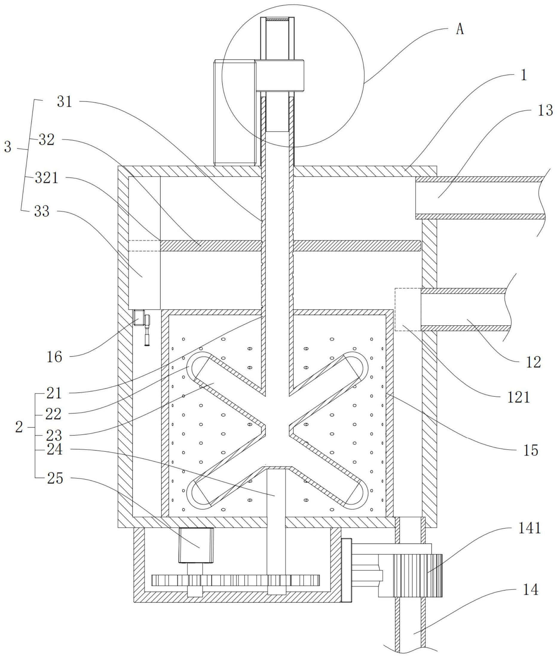
1.一種多級離心式污水處理裝置,其特征在于,包括:殼體(1),所述殼體(1)頂部和底部分別設置有用于連接污水排水管內部的污水入料管(11)和用于處理后水出料的凈化水出料管(14),所述污水入料管(11)上設置有用于控制污水入料管(11)連通開關的電磁閥(113),所述凈化水出料管(14)上設置有用于控制凈化水出料管(14)出料流速的蠕動軟管泵(141);離心過濾組件(2),設置在殼體(1)內部且與污水入料管(11)連接,用于對殼體(1)內部的污水進行離心過濾處理;加壓溶氣組件(3),設置在離心過濾組件(2)上用于在污水進行離心過濾操作的同時控制殼體(1)內部的氣壓加壓減壓讓污水中的較輕污染物漂浮在水面上。
2.如權利要求1所述的多級離心式污水處理裝置,其特征在于,所述離心過濾組件(2)包括連通污水入料管(11)并在殼體(1)內部轉動的轉動管(21)、設置在轉動管(21)底端的多個環形分布的分離管(23)、設置在分離管(23)末端的過濾紗布(22)、同軸設置在轉動管(21)底端的轉動軸(24)和設置在殼體(1)底端用于驅動轉動軸(24)轉動的驅動件(25)。
3.如權利要求2所述的多級離心式污水處理裝置,其特征在于,所述加壓溶氣組件(3)包括設置在轉動管(21)外側的往復螺紋(31)、螺紋轉動在往復螺紋(31)上并豎直滑動在殼體(1)內部的壓板(32)、在殼體(1)內部沿豎直方向設置的限位板塊(33)和開設在壓板(32)外緣用于壓板(32)卡合滑動在限位板塊(33)上的限位滑槽(321)。
4.如權利要求3所述的多級離心式污水處理裝置,其特征在于,所述殼體(1)內頂端側壁連通設置有通氣管(13)。
5.如權利要求3所述的多級離心式污水處理裝置,其特征在于,所述殼體(1)內側設置有用于感應污水液面高度的液面傳感器(16)。
6.如權利要求3所述的多級離心式污水處理裝置,其特征在于,所述殼體(1)內側壁設置有用于水面上漂浮污染物排出的漂浮物出料管(12),所述漂浮物出料管(12)位于污水液面上方,且所述漂浮物出料管(12)上還設置有用于在離心過程中將漂浮物引導至漂浮物出料管(12)的刮板(121)。
7.如權利要求3所述的多級離心式污水處理裝置,其特征在于,所述殼體(1)內部設置有頂部封蓋的過濾套筒(15),所述過濾套筒(15)上設置有多個過濾篩孔(151),且所述轉動管(21)轉動穿過過濾套筒(15)頂部。
8.如權利要求3所述的多級離心式污水處理裝置,其特征在于,所述污水入料管(11)內側設置有頂端相連的安裝套管(112),且所述安裝套管(112)和污水入料管(11)之間形成用于限位轉動管(21)轉動的夾層。
9.如權利要求8所述的多級離心式污水處理裝置,其特征在于,所述污水入料管(11)內側設置有用于過濾污水排水管中大型異物的過濾柵格(111)。
發明內容
本發明的主要目的在于提供一種能夠在進行污水離心分離處理和多級過濾的同時對分離后的污水污染顆粒進行加壓溶氣氣浮處理,提高污水的凈化效率,方便持續進行污水凈化處理的一種多級離心式污水處理裝置。
本發明采用以下技術方案解決上述技術問題:
一種多級離心式污水處理裝置,包括:
殼體,所述殼體頂部和底部分別設置有用于連接污水排水管內部的污水入料管和用于處理后水出料的凈化水出料管,所述污水入料管上設置有用于控制污水入料管連通開關的電磁閥,所述凈化水出料管上設置有用于控制凈化水出料管出料流速的蠕動軟管泵;
離心過濾組件,設置在殼體內部且與污水入料管連接,用于對殼體內部的污水進行離心過濾處理;
加壓溶氣組件,設置在離心過濾組件上用于在污水進行離心過濾操作的同時控制殼體內部的氣壓加壓減壓讓污水中的較輕污染物漂浮在水面上。
優選的,所述離心過濾組件包括連通污水入料管并在殼體內部轉動的轉動管、設置在轉動管底端的多個環形分布的分離管、設置在分離管末端的過濾紗布、同軸設置在轉動管底端的轉動軸和設置在殼體底端用于驅動轉動軸轉動的驅動件。
優選的,所述加壓溶氣組件包括設置在轉動管外側的往復螺紋、螺紋轉動在往復螺紋上并豎直滑動在殼體內部的壓板、在殼體內部沿豎直方向設置的限位板塊和開設在壓板外緣用于壓板卡合滑動在限位板塊上的限位滑槽。
優選的,所述殼體內頂端側壁連通設置有通氣管。
優選的,所述殼體內側設置有用于感應污水液面高度的液面傳感器。
優選的,所述殼體內側壁設置有用于水面上漂浮污染物排出的漂浮物出料管,所述漂浮物出料管位于污水液面上方,且所述漂浮物出料管上還設置有用于在離心過程中將漂浮物引導至漂浮物出料管的刮板。
優選的,所述殼體內部設置有頂部封蓋的過濾套筒,所述過濾套筒上設置有多個過濾篩孔,且所述轉動管轉動穿過過濾套筒頂部。
優選的,所述污水入料管內側設置有頂端相連的安裝套管,且所述安裝套管和污水入料管之間形成用于限位轉動管轉動的夾層。
優選的,所述污水入料管內側設置有用于過濾污水排水管中大型異物的過濾柵格。
本發明提供了一種多級離心式污水處理裝置。與現有技術相比本發明的有益效果體現在:
1.本發明通過設置離心過濾組件的同時還在離心過濾組件的轉動管上設置同步驅動的加壓溶氣組件,能夠在進行污水離心分離處理和多級過濾的同時對分離后的污水進行氣浮處理,提高污水的凈化效率,凈化效率高,且該裝置結構簡單,能夠持續進行污水凈化處理,方便直接應用于建筑污水的排水現場或小批量污水排放的水質凈化操作。
2.本發明通過驅動件驅動離心過濾組件在殼體內部持續轉動,此時由于壓板螺紋連接在轉動管上的往復螺紋上,因此能夠在裝置進行離心過濾操作的同時實現壓板的往復升降操作,每實現一次壓板往復升降操作,都能夠完成殼體內污水的加壓減壓,進而完成分離后污水的加壓溶氣氣浮,將未能分離的小型污染顆粒分離漂浮于水面上,便于提高污水凈化質量,方便持續使用。
3.本發明通過在殼體內部設置具有刮板的漂浮物出料管,由于刮板位于靜置水面的上方,且離心時的外緣水面高于靜置水面高度,因此能夠在裝置內部進行離心分離操作的同時利用刮板能夠刮取加壓溶氣氣浮后水面上的漂浮物,方便小型污染顆粒的分離排出。
4.本發明通過在污水入料管和凈化水出料管上分別設置電磁閥和蠕動軟管泵,既能夠控制殼體內部的污水入料也能夠控制處理后水的排出流動速度,因此該裝置既能夠適用于單一大批量的污水凈化處理,也能夠適用于小型污水管內部排出污水的持續凈化處理。
(發明人:陳安慶;龍曉東;宗超)






