申請日2013.09.16
公開(公告)日2014.03.12
IPC分類號B65G65/40; B65G47/19
摘要
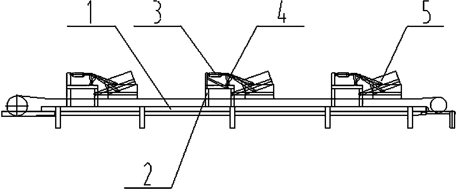
本實用新型屬于污泥輸送、卸料技術領域,提出一種污泥輸送多點卸料分料系統。提出的一種污泥輸送多點卸料分料系統,包括有分料皮帶機(1)、卸料裝置和污泥脫水儲存倉(6);所述的卸料裝置為設置在所述分料皮帶機(1)上的多個,多個所述的卸料裝置沿分料皮帶機的運行方向順序設置并位于分料皮帶機(1)的上方;所述污泥脫水儲存倉(6)為多個并與所述卸料裝置對應設置,多個所述污泥脫水儲存倉(6)位于所述分料皮帶機(1)的下方。本實用新型裝置可實現一點進料,多點卸料,拓展了傳統的一點進料、一點卸料的方式。
權利要求書
1.一種污泥輸送多點卸料分料系統,其特征在于:所述系統包括有分料皮帶機(1)、卸料裝置和污泥脫水儲存倉(6);所述的卸料裝置為設置在所述分料皮帶機(1)上的多個,多個所述的卸料裝置沿分料皮帶機的運行方向順序設置并位于分料皮帶機(1)的上方;所述污泥脫水儲存倉(6)為多個并與所述卸料裝置對應設置,多個所述污泥脫水儲存倉(6)位于所述分料皮帶機(1)的下方。
2.按照權利要求1所述的污泥輸送多點卸料分料系統,其特征在于:所述分料皮帶機(1)采用平皮帶輸送機。
3.按照權利要求1所述的污泥輸送多點卸料分料系統,其特征在于:所述卸料裝置采用犁式卸料器。
4.按照權利要求1所述的污泥輸送多點卸料分料系統,其特征在于:所述污泥脫水儲存倉(6)下部設置有脫水后的污泥計量投放裝置;所述脫水后的污泥計量投放裝置采用斗體與螺旋輸送機配合的結構,并裝有對投放污泥稱量的傳感器;所述脫水后的污泥計量投放裝置的下方設置脫水后的污泥投料皮帶機,所述脫水后的污泥投料皮帶機的輸送皮帶位于所述螺旋輸送機出口的下方,所述脫水后的污泥投料皮帶機的出料端與攪拌混合主機頂部的污泥緩存斗連通。
說明書
污泥輸送多點卸料分料系統
技術領域
本實用新型屬于污泥處理設備,提出一種污泥輸送多點卸料分料系統。
背景技術
由于原態污泥含水份較多,可再生能源污泥次氧化處理技術,在原態污泥處理前需要進行靜置、脫水處理;原態污泥脫水、靜置時間較長,并且還要滿足每天處理掉污水處理廠源源不斷生產出的原態污泥。就需要有多個存儲倉輪換間歇地對污泥進行靜置、脫水處理,所以就會產生單個進料口而有多個卸料口的情況。這樣就需要一種既能輸送還能多點卸料的裝置來解決這種問題。
實用新型內容
為解決上述問題,本實用新型提出一種污泥輸送多點卸料分料系統,滿足既能輸送污泥又能多點卸料分料的要求。
本實用新型完成發明目的采用以下技術方案:
一種污泥輸送多點卸料分料系統,所述卸料分料系統包括有分料皮帶機、卸料裝置和污泥脫水儲存倉;所述的卸料裝置為設置在所述分料皮帶機上的多個,多個所述的卸料裝置沿分料皮帶機的運行方向順序設置并位于分料皮帶機的上方;多個所述污泥脫水儲存倉位于所述分料皮帶機的下方,所述污泥脫水儲存倉為多個并與所述卸料裝置對應設置。
所述分料皮帶機采用平皮帶輸送機。
所述卸料裝置采用犁式卸料器。
所述污泥脫水儲存倉下部設置有脫水后的污泥計量投放裝置;所述脫水后的污泥計量投放裝置采用斗體與螺旋運輸機配合的結構,并裝有對投放污泥稱量的傳感器;通過控制系統控制污泥計量和投放;設置脫水后的污泥投料皮帶機,所述脫水后的污泥投料皮帶機的輸送皮帶位于脫水后的污泥計量投放裝置的所述螺旋輸送機出口的下方,多個所述污泥脫水儲存倉通過所述脫水后的污泥計量投放裝置依次投放污泥,所述脫水后的污泥投料皮帶機的出料端與攪拌混合主機上方的污泥緩存斗連通,使脫水后的污泥投料皮帶機將接收的污泥,輸送到攪拌混合主機上方的污泥緩存斗。
本實用新型裝置可實現一點進料,多點卸料,拓展了傳統的一點進料、一點卸料的方式。







