申請日2014.11.05
公開(公告)日2015.03.25
IPC分類號E03C1/12; E03B11/02; E03B7/07
摘要
本實用新型提供一種利用重力提升廢水的裝置,包括自來水儲水箱、升降柜、低位廢水儲水箱、高位廢水儲水箱等,廢水提升箱和儲水動力箱繞過導向定滑輪與儲水動力箱連接,儲水動力箱的進水口與自來水供水管連通,儲水動力箱的出水口依次與用水管道、水龍頭連通,廢水沉淀槽通過管道與低位廢水儲水箱連通,低位廢水儲水箱的出水口與廢水提升箱的進水口連通,廢水提升箱的出水口與高位廢水儲水箱的進水口連通;廢水提升箱的進水口的最低位置低于低位廢水儲水箱的出水口。本實用新型結構簡單、不耗費能源,不使用電子元器件,不耗費人力,制造成本和使用成本低,整個過程自動完成,在突遇停水時能為用戶提供一定量的水源。
權利要求書
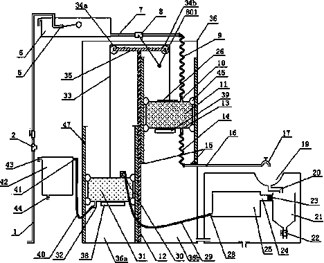
1.一種利用重力提升廢水的裝置,其特征在于:包括升降柜(36)、低位廢水儲水箱(25)、高位廢水儲水箱(42)、儲水動力箱(11)、廢水提升箱(31),所述升降柜(36)通過承重支架(12)分為豎直平行的第一箱體(36a)和第二箱體(36b),承重橫梁(35)固定在承重支架(12)的上端,設置在第一箱體(36a)中的廢水提升箱(31)和設置在第二箱體(36b)中的儲水動力箱(11)通過纜繩(33)繞過固定在承重橫梁(35)上的導向定滑輪(34a、34b)與儲水動力箱(11)連接,所述儲水動力箱的進水口(10)與自來水供水管(7)通過第一軟管(9)連通,并在自來水供水管(7)上設置水閥(8),所述儲水動力箱(11)的出水口(13)依次與用水管道(16)、水龍頭(17)通過第二軟管(14)連通,所述水龍頭(17)下設盆池(19),盆池(19)下部的排水管(20)連通廢水沉淀槽(21),廢水沉淀槽(21)通過管道(24)與低位廢水儲水箱(25)連通,低位廢水儲水箱的出水口(28)通過第三軟管(29)與廢水提升箱的進水口(30)連通,廢水提升箱的出水口(32)通過第四軟管(40)與高位廢水儲水箱的進水口(41)連通;廢水提升箱的進水口(30)的最低位置低于低位廢水儲水箱的出水口(28),此時儲水動力箱(11)向上頂起水閥(8)的開關球頭(801);與用水管道(16)平行的第二箱體(36b)內壁處設置止動點(15)作為儲水動力箱(11)下滑的最低點;所述廢水提升箱(31)的空箱重力大于儲水動力箱(11)的空箱重力以及相關機構的重力和摩擦力,儲水動力箱(11)的容積大于廢水提升箱(31)的容積,儲水動力箱(11)注滿水后產生的重力大于注滿水的廢水提升箱(31)產生的重力以及相關機構的重力和摩擦力;其中,相關機構的重力和摩擦力包括第一軟管(9)、第二軟管(14)、第三軟管(29)、第四軟管(40)的重力和摩擦力,纜繩(33)、導向定滑輪(34a、34b)、定位輪(45)的重力和摩擦力,水閥(8)的開啟阻力。
2.根據權利要求1所述的利用重力提升廢水的裝置,其特征在于:所述儲水動力箱(11)和廢水提升箱(31)上安裝至少兩個定位輪(45),升降柜(36)內壁的對應位置設有供定位輪(45)上下滑動的定位滑動槽(47)。
3.根據權利要求1所述的利用重力提升廢水的裝置,其特征在于:所述管道(24)內設置有過濾網(23)。
4.根據權利要求1所述的利用重力提升廢水的裝置,其特征在于:所述自來水供水管(7)連接自來水儲水箱(6)。
5.根據權利要求1所述的利用重力提升廢水的裝置,其特征在于:所述高位廢水儲水箱(42)上設有出水口(44)和溢水管道(43)。
6.根據權利要求1所述的利用重力提升廢水的裝置,其特征在于:所述廢水提升箱(31)和儲水動力箱(11)的下方均設有配重裝置(38、39)。
7.根據權利要求1所述的利用重力提升廢水的裝置,其特征在于:所述儲水動力箱(11)和廢水提升箱(31)至少各設置一個。
8.根據權利要求1所述的利用重力提升廢水的裝置,其特征在于:所述第一軟管(9)和第二軟管(14)為螺旋形軟管。
9.根據權利要求1所述的利用重力提升廢水的裝置,其特征在于:所述第一軟管(9)和第三軟管(29)的內徑相同或第一軟管(9)的內徑小于第三軟管(29)的內徑,且第一軟管(9)和第三軟管(29)的長度相同或第一軟管(9)的長度大于第三軟管(29)的長度。
說明書
一種利用重力提升廢水的裝置
技術領域
本實用新型涉及一種利用重力提升廢水的裝置,屬于機械設備技術領域。
背景技術
為了節約水資源,實現生活廢水的收集再利用。目前市場上有多種用于家庭生活廢水收集的裝置,其中不少使用動力泵等自動裝置,能節水卻不節能。還有部分節能型廢水利用裝置,又因機械結構過于復雜,不易維護,使用成本高,或對水壓要求過高。這樣就制約了家庭廢水回收利用裝置的普及。
因此有必要研發一種節能的裝置,適合家用供水和廢水再利用。
發明內容
為了克服現有廢水再利用裝置耗費電能和不易維護,使用條件苛刻等問題,本實用新型提供了一種不消耗電能、結構簡單的裝置,利用自來水的高位重力勢能轉化成動能做功,自動將水從低位提升到高位的目的。
本實用新型通過下列技術方案實現:一種利用重力提升廢水的裝置,包括升降柜36、低位廢水儲水箱25、高位廢水儲水箱42、儲水動力箱11、廢水提升箱31,所述升降柜36通過承重支架12分為豎直平行的第一箱體36a和第二箱體36b,承重橫梁35固定在承重支架12的上端,設置在第一箱體36a中的廢水提升箱31和設置在第二箱體36b中的儲水動力箱11通過纜繩33繞過固定在承重橫梁35上的導向定滑輪34a、34b與儲水動力箱11連接,所述儲水動力箱的進水口10與自來水供水管7通過第一軟管9連通,并在自來水供水管7上設置水閥8,所述儲水動力箱11的出水口13依次與用水管道16、水龍頭17通過第二軟管14連通,所述水龍頭17下設盆池19,盆池19下部的排水管20連通廢水沉淀槽21,廢水沉淀槽21通過管道24與低位廢水儲水箱25連通,低位廢水儲水箱的出水口28通過第三軟管29與廢水提升箱的進水口30連通,廢水提升箱的出水口32通過第四軟管40與高位廢水儲水箱的進水口41連通;廢水提升箱的進水口30的最低位置低于低位廢水儲水箱的出水口28,此時儲水動力箱11向上頂起水閥8的開關球頭801;與用水管道16平行的第二箱體36b內壁處設置止動點15作為儲水動力箱11下滑的最低點;所述廢水提升箱31的空箱重力大于儲水動力箱11的空箱重力以及相關機構的重力和摩擦力,儲水動力箱11的容積大于廢水提升箱31的容積,儲水動力箱11注滿水后產生的重力大于注滿水的廢水提升箱31產生的重力以及相關機構的重力和摩擦力。
所述儲水動力箱11和廢水提升箱31上安裝至少兩個定位輪45,升降柜36內壁的對應位置設有供定位輪45上下滑動的定位滑動槽47。
所述管道24內設置有過濾網23。
所述自來水供水管7連接自來水儲水箱6。
所述高位廢水儲水箱42上設有出水口44和溢水管道43。
所述廢水提升箱31和儲水動力箱11的下方均設有配重裝置38、39,用于調節并實現應有平衡。
所述相關機構的重力和摩擦力包括第一軟管9、第二軟管14、第三軟管29、第四軟管40的重力和摩擦力,纜繩33、導向定滑輪34a、34b、定位輪45的重力和摩擦力,水閥8的開啟阻力。
所述儲水動力箱11和廢水提升箱31至少各設置一個。
所述第一軟管9和第二軟管14為螺旋形軟管,以避免儲水動力箱11升降帶來纏繞。
所述第一軟管9和第三軟管29的內徑相同或第一軟管9的內徑小于第三軟管29的內徑,且第一軟管9和第三軟管29的長度相同或第一軟管9的長度大于第三軟管29的長度。
所述水閥8靠開關球頭801的自身重力帶動閥門旋柄轉動,下落時關閉;靠外力頂升時開啟。
儲水動力箱11和廢水提升箱31在沒有注水時,由于廢水提升箱31的重力大于儲水動力箱11的重力以及相關機構的重力和摩擦力,廢水提升箱31會沉降于升降柜36底部,此時儲水動力箱11相應被提升到達升降柜36上端,并向上頂起水閥8的開關球頭801達到開啟位置,水閥8開啟后自來水會流入儲水動力箱11中,同時而廢水提升箱31沉降至降柜36底部也使廢水提升箱的進水口30的位置低于低位廢水儲水箱的出水口28,由于螺旋形的第一軟管9和第三軟管29的內徑相同或螺旋形的第一軟管9的內徑小于第三軟管29的內徑,且螺旋形的第一軟管9和第三軟管29的長度相同或螺旋形的第一軟管9的長度大于第三軟管29的長度,因此在沉降過程中廢水提升箱31有廢水注入就會先于儲水動力箱11有凈水注入,由此能保證注水過程廢水提升箱31始終沉降,并能先于儲水動力箱11注滿。當儲水動力箱11注滿水后,由于儲水動力箱11的容量大于廢水提升箱31,擁有的重力將大于廢水提升箱31的重力以及相關機構的重力和摩擦力。此時儲水動力箱11在重力的作用下開始克服各項阻力下降,而對應的廢水提升箱31開始上升;當儲水動力箱11下降至止動點15時,停止下降過程,而廢水提升過程也相應完成,廢水提升箱31升至相應位置后,箱內廢水流入高位廢水儲水箱42內,通過出水口44用于沖洗用水、灌溉用水等。而儲水動力箱11內的水通過水龍頭17供人們日常使用,當儲水動力箱11和廢水提升箱31都已排空后,廢水提升箱31會在自身重力下克服儲水動力箱11的重力以及相關機構件的重力和摩擦力開始下降,進入下一個循環工作中。
本實用新型的優點是:由于采用上述技術方案,本實用新型直接利用自來水重力將生活廢水提升后送入高位廢水儲水箱內,用于沖廁或拖地,方便了生活廢水的存儲和二次利用。本實用新型的結構簡單可靠,不使用易損電子元器件,不耗費電力、人力,制造成本和使用成本低;整個過程自動完成,無需人工干預,只要有自來水的地方都能安裝使用;本裝置的自來水儲水箱和廢水儲水箱,在突遇停水時能為用戶提供一定量的水源。







