申請日2014.10.24
公開(公告)日2015.02.18
IPC分類號C02F9/06
摘要
本實用新型提供一種利用微電解聯合芬頓處理壓裂廢水的設備,主要利用設備中鐵碳微電解反應、芬頓氧化和絮凝沉淀原理處理壓裂廢水。設備采用重力自流,無需加壓,將微電解、芬頓、絮凝沉淀過程設備化。設備前段為微電解反應器,向壓裂廢水中投加ph調節劑,通過管道混合使廢水和藥劑混合均勻,混合液在通過微電解反應器的填料層時發生微電解反應,廢水中的難降解有機污染物在此過程中大量的分子鍵斷裂,并產生大量Fe2+;中段為芬頓反應器,在芬頓進水前端中投加過氧化氫,混合均勻后在混合液中發生強氧化反應,使大部分有機物氧化成CO2和H2O;后段為絮凝沉淀器,加入ph調節劑和PAM混凝沉淀,將未被氧化的污染物與水進行分離。
權利要求書
1.一種微電解聯合芬頓處理壓裂廢水的設備,其特征 是:包括微電解反應器、芬頓反應器、絮凝沉淀器依序連通 組成的三段式處理設備。
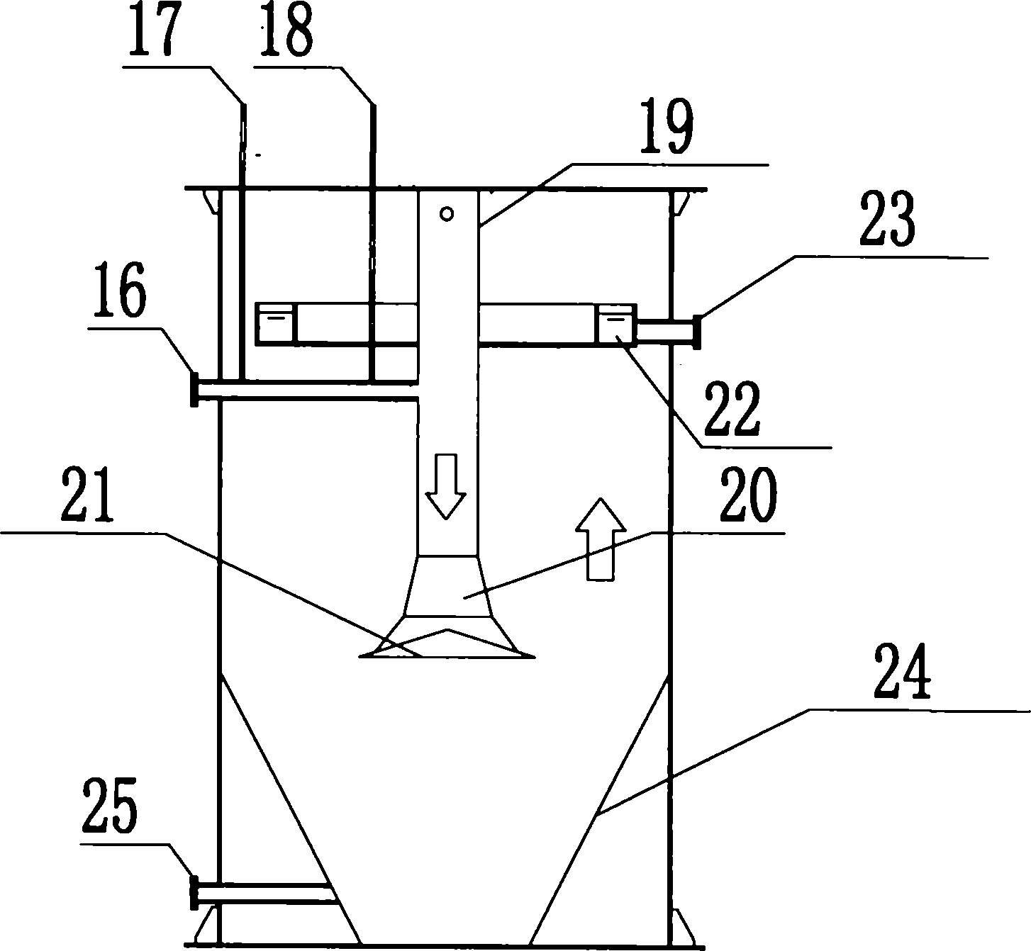
2.根據權利要求1所述的一種微電解聯合芬頓處理壓 裂廢水的設備,其特征是:所述的微電解反應器為UPVC塑 料圓柱形罐體,罐體內微電解進水管與罐頂部的微電解pH 調節加藥管、微電解中心導流管連通,微電解中心導流管、 曝氣支管由上而下至罐體底部;罐體中部為鐵碳填料層,下 部有環形曝氣管等組成。
3.根據權利要求1所述的一種微電解聯合芬頓處理壓 裂廢水的設備,其特征是:所述的芬頓反應器為UPVC塑料 圓柱形罐體,罐體內芬頓進水管與罐頂部的過氧化氫加藥 管、芬頓中心導流管連通,芬頓中心導流管由上而下至罐體 底部,下設芬頓底部出水孔;罐體下部設芬頓底部排空管, 上部設芬頓出水管。
4.根據權利要求1所述的一種微電解聯合芬頓處理壓 裂廢水的設備,其特征是:所述的絮凝沉淀器為UPVC塑料 圓柱形罐體,罐體內絮凝沉淀進水管與罐頂部的絮凝沉淀pH 值加藥管、絮凝劑加藥管、絮凝沉淀中心導流管連通;絮凝 沉淀中心導流管由上而下至罐體中下 部,設有喇叭口和擋泥板;罐體下部設收泥斗和排泥管,上 部設收水環堰、絮凝沉淀出水管。
說明書
一種微電解聯合芬頓處理壓裂廢水的設備
一、技術領域
本實用新型涉及環境工程廢水處理領域的一種壓裂廢 水處理設備,具體是一種微電解聯合芬頓處理壓裂廢水的設 備。
二、背景技術
目前,石油和非常規天然氣(如頁巖氣等)開采過程中 水力壓裂需要消耗大量淡水,并產生相應的壓裂廢水。該類廢水中含有多種難生物降解化學添加劑,并且含鹽度較高, 一般的生化處理方法難以湊效,必須采用特定的物理、化學 處理方式才能處理達標。
三、發明內容
本實用新型提供一種利用微電解聯合芬頓處理壓裂廢 水的設備,主要利用鐵碳微電解反應和芬頓氧化絮凝沉淀處 理。設備采用重力自流,無需加壓,將微電解、芬頓、絮凝 沉淀過程設備化。
本實用新型解決其技術問題所采取的技術方案是:包括 微電解反應器、芬頓反應器、絮凝沉淀器依序連通組成的三 段式處理設備。
所述的微電解反應器為UPUC塑料圓柱形罐體或鋼混結 構的方形池體,罐體內微電解進水管與罐頂部的微電解pH 調節加藥管、微電解中心導流管連通,微電解中心導流管、 曝氣支管由上而下至罐體底部;罐體中部為鐵碳填料層,下 部有環形曝氣管等組成。
所述的芬頓反應器為UPUC塑料圓柱形罐體或鋼混結構 的方形池體,罐體內芬頓進水管與罐頂部的過氧化氫加藥 管、芬頓中心導流管連通,芬頓中心導流管由上而下至罐體 底部,下設芬頓底部出水孔;罐體下部設芬頓底部排空管, 上部設芬頓出水管。
所述的絮凝沉淀器為UPUC塑料圓柱形罐體或鋼混結構 的方形池體,罐體內絮凝沉淀進水管與罐頂部的絮凝沉淀ph 值加藥管、絮凝劑加藥管、絮凝沉淀中心導流管連通;絮凝 沉淀中心導流管由上而下至罐體中下部,設有喇叭口和擋泥 板;罐體下部設收泥斗和排泥管,上部設收水環堰、絮凝沉 淀出水管。
本實用新型前段為微電解反應,向壓裂廢水中投加pH 調節劑,通過管道混合使廢水和藥劑混合均勻,并使混合液 達到4-5之間。微電解反應器的填料層為鐵刨花與焦炭,混 合液在通過微電解反應器的填料層時發生微電解反應,廢水 中的難降解有機污染物在此過程中大量的分子鍵斷裂,并產 生大量Fe2+。中段為芬頓反應器,向前段出水中投加過氧化 氫,混合均勻后在混合液中發生強氧化反應,將大部分有機 物氧化成CO2和H2O。后段為絮凝沉淀器,加入pH調節劑和 PAM混凝沉淀,將未被氧化的污染物與水進行分離。
經過微電解聯合芬頓處理的壓裂廢水,COD去除率達到 85%以上,SS、色度、TOC都能得到較大程度的去除。







