申請日2014.10.24
公開(公告)日2015.01.07
IPC分類號C05F17/02
摘要
本發明公開了一種多層消化床好氧堆肥系統,包括多個多層消化床、至少一個堆肥室、至少一個供氧系統。本發明在對污泥混合物進行好氧堆肥的過程中無需翻堆或攪拌,也無需對污泥混合物進行強制通風,污泥混合物中的好氧微生物就能獲得充足的氧氣完成好氧堆肥,好氧堆肥的過程中更能充分利用好氧微生物的自發熱能,從而使本發明的技術方案不僅項目占地面積小,而且能能顯著減少好氧堆肥的設備投資和運營成本,污泥穩定化率高,好氧堆肥時間短,能顯著提高好氧堆肥的效果和效率,最大限度地減少污泥堆肥過程中的能量損失和減少環境污染。
權利要求書
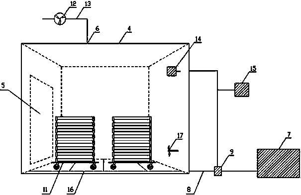
1.多層消化床污泥好氧堆肥系統,其特征在于:包括多個多層消化床、至少一個堆肥室、至少一個供氧系統;
所述的多層消化床包括多個垂直向疊放的多邊形的網框和污泥混合物;
所述的網框包括多邊形的多孔板或多邊形的濾網,還包括沿多孔板或濾網的邊線與多孔板或濾網固定連接的多邊形的邊框;所述的污泥混合物包括預堆肥的污泥,還包括植物粉碎物或好氧微生物菌種或已進行堆肥后的返混污泥;所述的污泥混合物水平攤鋪在網框的多孔板或濾網上;
所述的堆肥室為殼體或箱體,其側面設有至少一個供多層消化床進出的門,其頂部或上部設有至少一個廢氣排放口;
所述的供氧系統包括至少一個氧氣儲罐、連通氧氣儲罐和堆肥室的內部的供氧管道、安裝在氧氣儲罐上或供氧管道上的控制閥;
所述的多層消化床好氧堆肥系統,其特征在于:進行好氧堆肥時一個堆肥室內放置多個多層消化床,供氧系統的氧氣儲罐內的氧氣通過供氧管道進入堆肥室,控制閥控制進入堆肥室的氧氣的流量,好氧堆肥產生的廢氣通過廢氣排放口排出堆肥室。
2.如權利要求1所述的多層消化床污泥好氧堆肥系統,其特征在于:所述的污泥混合物水平攤鋪在網框的多孔板或濾網上時,污泥混合物的垂直向厚度為10—200mm;所述的網框在疊放時,上下相鄰的網框上的污泥混合物之間的垂直向間距為10—200mm。
3.如權利要求1所述的多層消化床污泥好氧堆肥系統,其特征在于:所述的網框的邊框上設有至少三個支承件,多層消化床的上下相鄰的網框的邊框上的支承件相配合以固定網框的位置以及保持上下網框的垂直間距。
4.如權利要求1所述的多層消化床污泥好氧堆肥系統,其特征在于:所述的多層消化床還包括垂直向為多層結構的多層支架,所述的網框分層放置在多層支架上。
5.如權利要求1所述的多層消化床污泥好氧堆肥系統,其特征在于:所述的多層消化床還包括底部平車,所述的網框垂直向疊放在底部平車上。
6.如權利要求1所述的多層消化床污泥好氧堆肥系統,其特征在于:所述的廢氣排放口設有負壓風機,負壓風機直接連接廢氣排放口或通過排氣管道與廢氣排放口相連接。
7.如權利要求1所述的多層消化床污泥好氧堆肥系統,其特征在于:所述的供氧系統還包括氧氣含量傳感器和工業控制計算機,所述的安裝在氧氣儲罐上或供氧管道上的控制閥為電磁控制閥;氧氣含量傳感器設于堆肥室內,工業控制計算機連接氧氣含量傳感器和電磁控制閥;當氧氣含量傳感器指示的堆肥室內的氧氣含量等于或低于10%—30%的任一預先設定的氧氣含量低位限值時,工業控制計算機開啟電磁控制閥以向堆肥室內輸送氧氣;當氧氣含量傳感器指示的堆肥室內的氧氣含量等于或高于40%—90%的任一預先設定的氧氣含量高位限值時,工業控制計算機關閉電磁控制閥以停止向堆肥室內輸送氧氣。
8.如權利要求1所述的多層消化床污泥好氧堆肥系統,其特征在于:所述的堆肥室的內部設有氧氣布氣管道,氧氣布氣管道連通供氧管道。
9.如權利要求1所述的多層消化床污泥好氧堆肥系統,其特征在于:所述的堆肥室的內部設有若干個風扇。
說明書
多層消化床污泥好氧堆肥系統
技術領域
本發明涉及環保領域的污泥好氧堆肥技術,特別是涉及一種多層消化床污泥好氧堆肥系統。
背景技術
隨著經濟、社會的發展,我國城市和農村的污水處理量逐年增加,相應地,污水處理過程中產生的的污泥數量也急劇上升。污水處理產生的污泥成分復雜,除含大量的有機質外,還含有病原菌、寄生蟲卵及重金屬等有毒物質,如不經妥善處理就直接進入自然環境,將對土壤、水體、大氣乃至人類的生命健康造成嚴重影響。污水處理產生的污泥往往富含有機質和氮、磷、鉀等植物生長繁殖所需的營養元素,對污泥進行有效的堆肥處理可以變廢為寶,將污泥變成農用或綠化肥料,用以改良土壤,增加土壤肥力,從而有效地實現污泥的穩定化、無害化處理和資源化利用。
好氧堆肥是具備一定溫度和氧氣的條件下,利用污泥中的好氧微生物對污泥中的有機質進行生物降解的過程。與厭氧堆肥相比,好氧堆肥具有投資少、成本低、堆肥周期短、堆肥產品肥效好、經濟效益高等優點。
目前國內外正在應用和研究的好氧堆肥技術主要以條垛式、強制通風靜態垛以及反應器、發酵塔或發酵倉工藝為主。條垛式工藝存在占地面積大、處理效率低、處理成本高和臭氣難以控制等缺點。強制通風靜態垛目前為主流的發酵工藝,但該技術仍存在占地面積偏大,處理效率偏低、處理成本高等缺陷。條垛式和強制通風靜態垛堆肥工藝均難以實現污泥堆肥的自動化和流水線作業。反應器、發酵塔或發酵倉工藝是污泥堆肥處理的新興技術,該類工藝不僅能實現對污泥堆肥的自動化和流水線作業,而且占地小,設備投資適中,但由于該類工藝仍是將污泥在發酵容器內堆放,為了均勻發酵容器內污泥堆體內外的氧氣和溫度仍需要持續地對污泥堆體進行翻堆作業從而存在運營成本高的缺陷。
根據本發明人的研究,無論是條垛式、強制通風靜態垛還是反應器、發酵塔或發酵倉工藝均存在污泥堆放的層厚過厚的問題,容易導致污泥堆層內外部的氧氣和溫度含量嚴重不均從而影響污泥堆層內部的好氧堆肥效果,而為了均勻污泥堆層內、外部的氧氣和溫度就必須持續地對污泥堆層進行翻堆作業,從而大大增加了污泥堆肥的運營成本。
在吸收反應器、發酵塔和發酵倉污泥堆肥工藝的優點的基礎上,本發明人認為,在封閉空間內將污泥攤鋪成薄層進行堆肥處理能夠克服污泥堆體內、外部的氧氣和溫度不均的缺陷,在好氧堆肥的過程中無需頻繁翻堆,不僅能夠提高好氧堆肥的效果和效率、節省好氧堆肥的能耗,同時還能避免在好氧堆肥的過程中因供氧不足而產生的臭氣污染。
發明人在申請號為201410494523.6的中國專利申請中公開了一種多層消化床好氧堆肥法的技術方案,本發明進一步公開一種多層消化床污泥好氧堆肥系統的產品技術方案。
發明內容
以下是發明公開的技術方案。
1、多層消化床污泥好氧堆肥系統,其特征在于:包括多個多層消化床、至少一個堆肥室、至少一個供氧系統;
所述的多層消化床包括多個垂直向疊放的多邊形的網框和污泥混合物;
所述的網框包括多邊形的多孔板或多邊形的濾網,還包括沿多孔板或濾網的邊線與多孔板或濾網固定連接的多邊形的邊框;所述的污泥混合物包括預堆肥的污泥,還包括植物粉碎物或好氧微生物菌種或已進行堆肥后的返混污泥;所述的污泥混合物水平攤鋪在網框的多孔板或濾網上;
所述的堆肥室為殼體或箱體,其側面設有至少一個供多層消化床進出的門,其頂部或上部設有至少一個廢氣排放口;
所述的供氧系統包括至少一個氧氣儲罐、連通氧氣儲罐和堆肥室的內部的供氧管道、安裝在氧氣儲罐上或供氧管道上的控制閥;
所述的多層消化床好氧堆肥系統,其特征在于:進行好氧堆肥時一個堆肥室內放置多個多層消化床,供氧系統的氧氣儲罐內的氧氣通過供氧管道進入堆肥室,控制閥控制進入堆肥室的氧氣的流量,好氧堆肥產生的廢氣通過廢氣排放口排出堆肥室。
2、根據技術方案1所述的多層消化床污泥好氧堆肥系統,一個優選的技術方案是:所述的污泥混合物水平攤鋪在網框的多孔板或濾網上時,污泥混合物的垂直向厚度為10—200mm;所述的網框在疊放時,上下相鄰的網框上的污泥混合物之間的垂直向間距為10—200mm。
3、根據技術方案1所述的多層消化床污泥好氧堆肥系統,一個優選的技術方案是:所述的網框的邊框上設有至少三個支承件,多層消化床的上下相鄰的網框的邊框上的支承件相配合以固定網框的位置以及保持上下網框的垂直間距。
4、根據技術方案1所述的多層消化床污泥好氧堆肥系統,一個優選的技術方案是:所述的多層消化床還包括垂直向為多層結構的多層支架,所述的網框分層放置在多層支架上。
5、根據技術方案1所述的多層消化床污泥好氧堆肥系統,一個優選的技術方案是:所述的多層消化床還包括底部平車,所述的網框垂直向疊放在底部平車上。
6、根據技術方案1所述的多層消化床污泥好氧堆肥系統,一個優選的技術方案是:所述的廢氣排放口設有負壓風機,負壓風機直接連接廢氣排放口或通過排氣管道與廢氣排放口相連接。
7、根據技術方案1所述的多層消化床污泥好氧堆肥系統,一個優選的技術方案是:所述的供氧系統還包括氧氣含量傳感器和工業控制計算機,所述的安裝在氧氣儲罐上或供氧管道上的控制閥為電磁控制閥;氧氣含量傳感器設于堆肥室內,工業控制計算機連接氧氣含量傳感器和電磁控制閥;當氧氣含量傳感器指示的堆肥室內的氧氣含量等于或低于10%—30%的任一預先設定的氧氣含量低位限值時,工業控制計算機開啟電磁控制閥以向堆肥室內輸送氧氣;當氧氣含量傳感器指示的堆肥室內的氧氣含量等于或高于40%—90%的任一預先設定的氧氣含量高位限值時,工業控制計算機關閉電磁控制閥以停止向堆肥室內輸送氧氣。
8、根據技術方案1所述的多層消化床污泥好氧堆肥系統,一個優選的技術方案是:所述的堆肥室的內部設有氧氣布氣管道,氧氣布氣管道連通供氧管道。
9、根據技術方案1所述的多層消化床污泥好氧堆肥系統,一個優選的技術方案是:所述的堆肥室的內部設有若干個風扇。
根據本發明公開的技術方案,本發明與現有的技術相比,由于本發明是在封閉的空間內對水平攤鋪在多層消化床的網框上的污泥混合物實施好氧堆肥,且本發明采取的是在好氧堆肥過程中向堆肥室內直接供氧的供氧方式,因此本發明在對污泥混合物進行好氧堆肥的過程中無需翻堆或攪拌,也無需對污泥混合物進行強制通風,污泥混合物中的好氧微生物就能獲得充足的氧氣完成好氧堆肥,好氧堆肥的過程中更能充分利用好氧微生物的自發熱能,從而使本發明的技術方案不僅項目占地面積小,而且能能顯著減少好氧堆肥的設備投資和運營成本,污泥穩定化率高,好氧堆肥時間短,能顯著提高好氧堆肥的效果和效率,最大限度地減少污泥堆肥過程中的能量損失和減少環境污染。







