申請日2017.12.29
公開(公告)日2018.04.17
IPC分類號C02F11/12
摘要
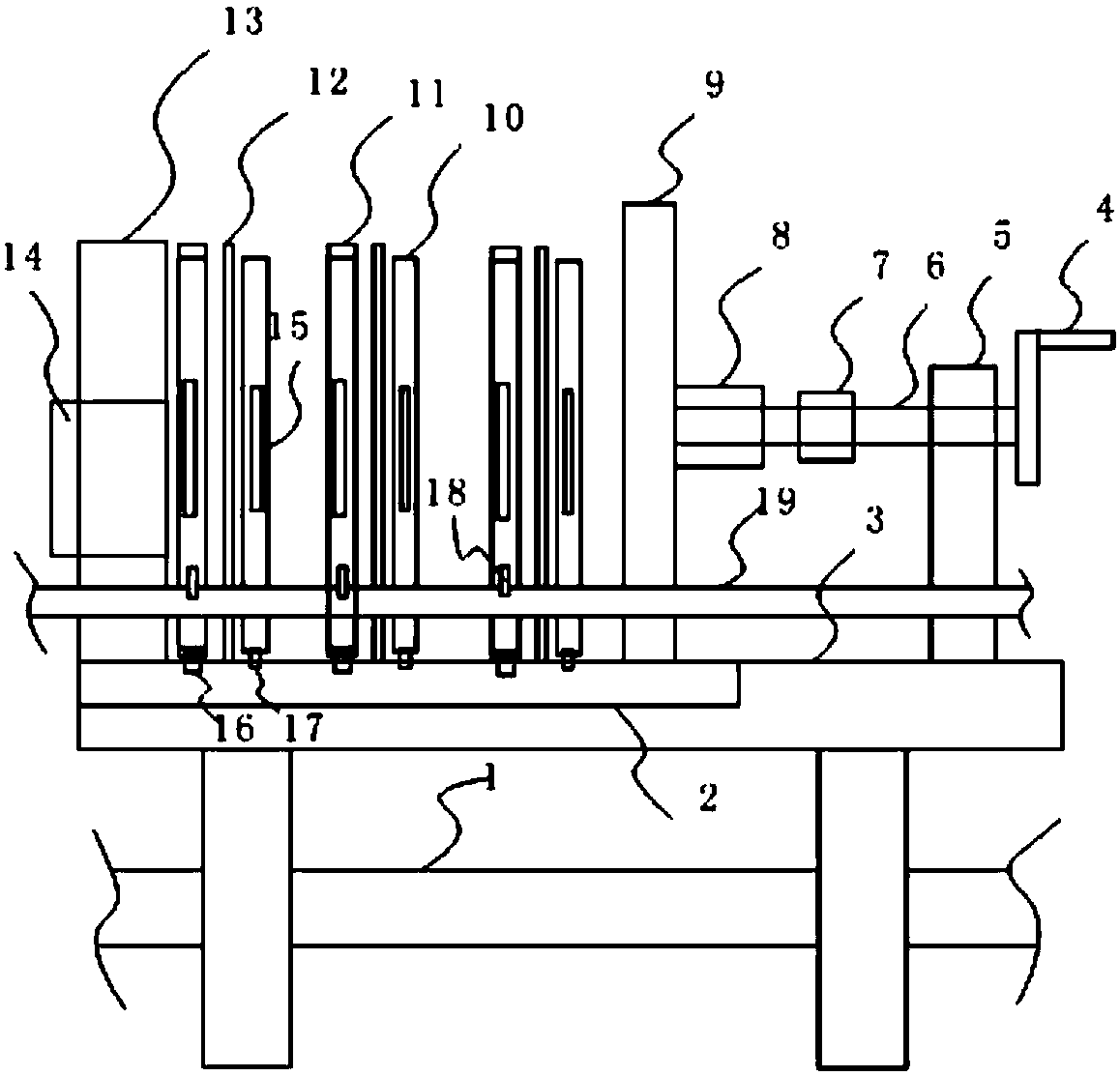
本發明涉及污泥處理設備領域,尤其涉及一種板框式污泥泥漿壓濾機,其包括機架、壓濾裝置及壓緊裝置,壓濾裝置包括多個依次設置的濾框、濾布及濾板,機架一端固定安裝有止推板,下部沿機架延伸方向設有滑軌,止推板上設有進料口,滑軌上分別交錯設置多個濾框滑托及濾板滑托,濾框滑托上設有濾框卡槽,濾板滑托上設有濾板卡槽,濾框安裝于濾框卡槽內,濾板安裝于濾板卡槽內,濾框及濾框滑托上設有濾板滑托讓位,壓緊裝置設于機架的另一端,包括安裝座、絲杠及壓緊板,壓緊板通過螺母套與絲杠的端部連接,絲杠穿過安裝座并通過手柄控制其旋轉,絲杠在安裝座與壓緊板之間套設有鎖緊螺母。本發明提供的裝置濾框與濾板安裝更換方便可靠、擠壓省力且能形成可靠自鎖。
權利要求書
1.一種板框式污泥泥漿壓濾機,其特征在于,包括機架、壓濾裝置及壓緊裝置,所述壓濾裝置包括多個依次設置的濾框、濾布及濾板,所述機架一端固定安裝有止推板,下部沿機架延伸方向設有滑軌,止推板上設有進料口,滑軌上分別交錯設置多個濾框滑托及濾板滑托,濾框滑托上設有濾框卡槽,濾板滑托上設有濾板卡槽,所述濾框安裝于濾框卡槽內,濾板安裝于濾板卡槽內,所述濾框及濾框滑托上設有濾板滑托讓位,所述壓緊裝置設于機架的另一端,包括安裝座、絲杠及壓緊板,所述壓緊板通過螺母套與絲杠的端部連接,所述絲杠穿過安裝座并通過手柄控制其旋轉,所述絲杠在安裝座與壓緊板之間套設有鎖緊螺母。
2.根據權利要求1所述的一種板框式污泥泥漿壓濾機,其特征在于,所述濾框的一側設有出水孔,出水孔與下方的濾液總管相連通。
3.根據權利要求2所述的一種板框式污泥泥漿壓濾機,其特征在于,機架的下方安裝有泥餅輸送帶。
4.根據權利要求3所述的一種板框式污泥泥漿壓濾機,其特征在于,濾框及濾板的外側安裝有把手。
說明書
一種板框式污泥泥漿壓濾機
技術領域
本發明涉及污泥處理設備領域,尤其涉及一種板框式污泥泥漿壓濾機。
背景技術
污水處理廠在處理污水的過程中會產生污泥,由于污泥內還存在大量的水,如果不進行處理或者是處理不當而將其排放,也不利于污泥的焚燒處理,并且將會給水體及空氣造成二次污染。現在污泥脫水處理經常會用到板框式壓濾機,將污泥進行擠壓過濾成餅狀后進行焚燒處理,現有的板框式壓濾機濾框與濾板有的直接放置在機架上,有的是穿到一個連接管上,濾框與濾板直接放置在機架上,擠壓的過程中,容易造成濾框與濾板晃動,并且擠壓過程比較費力,而把濾框與濾板穿到一個連接管上,濾框與濾板的安裝及更換很不方便,并且現在的擠壓裝置不能形成可靠的鎖定。
發明內容
本發明所要解決的技術問題是提供濾框與濾板安裝更換方便可靠、擠壓省力且能形成可靠自鎖的一種板框式污泥泥漿壓濾機。
本發明是通過以下技術方案予以實現:
一種板框式污泥泥漿壓濾機,其包括機架、壓濾裝置及壓緊裝置,所述壓濾裝置包括多個依次設置的濾框、濾布及濾板,所述機架一端固定安裝有止推板,下部沿機架延伸方向設有滑軌,止推板上設有進料口,滑軌上分別交錯設置多個濾框滑托及濾板滑托,濾框滑托上設有濾框卡槽,濾板滑托上設有濾板卡槽,所述濾框安裝于濾框卡槽內,濾板安裝于濾板卡槽內,濾框及濾框滑托上設有濾板滑托讓位,所述壓緊裝置設于機架的另一端,包括安裝座、絲杠及壓緊板,所述壓緊板通過螺母套與絲杠的端部連接,所述絲杠穿過安裝座并通過手柄控制其旋轉,所述絲杠在安裝座與壓緊板之間套設有鎖緊螺母。
進一步,所述濾框的一側設有出水孔,出水孔與下方的濾液總管相連通。
進一步,機架的下方安裝有泥餅輸送帶。
進一步,濾框及濾板的外側安裝有把手。
發明的有益效果
一種板框式污泥泥漿壓濾機,其包括機架、壓濾裝置及壓緊裝置,所述壓濾裝置包括多個依次設置的濾框、濾布及濾板,所述機架一端固定安裝有止推板,下部沿機架延伸方向設有滑軌,止推板上設有進料口,滑軌上分別交錯設置多個濾框滑托及濾板滑托,濾框滑托上設有濾框卡槽,濾板滑托上設有濾板卡槽,所述濾框安裝于濾框卡槽內,濾板安裝于濾板卡槽內,這樣將濾板及濾框通過一個滑托安裝到滑軌上,濾板及濾框卡到滑托上,安裝比較方便可靠,在擠壓的過程中,比較省力,濾板及濾框也不會發生晃動,并且拆卸更換也比較方便,只需將其從卡槽內拔出即可。
濾框及濾框滑托上設有濾板滑托讓位,可以使濾框及濾板對泥漿形成可靠擠壓。
所述壓緊裝置設于機架的另一端,包括安裝座、絲杠及壓緊板,所述壓緊板通過螺母套與絲杠的端部連接,所述絲杠穿過安裝座并通過手柄控制其旋轉,所述絲杠在安裝座與壓緊板之間套設有鎖緊螺母,這樣當旋轉手柄時,絲杠會帶動壓緊板向前運動擠壓濾板與濾框,從而將濾板與濾框之間的污泥之間的水分擠出,壓緊板運動到極限位置時,可以將壓緊裝置形成可靠自鎖,停留一段時間,有利于泥漿中的水分充分濾出。
所述濾框的一側設有出水孔,出水孔與下方的濾液總管相連通,這樣,泥漿中的水分從出水孔流出后進入濾液總管后運輸到指定地點統一處理。
機架的下方安裝有泥餅輸送帶,擠壓完成后,將鎖緊螺母松掉,反向旋轉手柄,使壓緊裝置后退,移動濾板及濾框,濾板及濾框之間被壓濾后的泥餅就會自動脫落到下方的泥餅輸送帶上運輸到下一工序。
濾框及濾板的外側安裝有把手,可以方便濾框及濾板的移動。







