申請日2014.10.27
公開(公告)日2015.07.22
IPC分類號C02F3/30; B01D65/02
摘要
本發明涉及下水處理工序的分離膜盒清洗裝置。根據本發明,安裝于下水處理工序的膜分離好氧槽的內部,使包含在下水中的污染物質固液分離,并且回收污染的分離膜盒之后,以能夠分離的方式放置于能夠旋轉地設置于用于儲存清洗液的清洗槽的內部的水碓式的盒清洗裝置之后,用清洗液浸漬污染的分離膜盒,并從上部的過濾器清洗單元噴射水和空氣來進行清洗,具有對分離膜盒的清洗作業方便,能夠提高作業性的效果。
權利要求書
1.一種下水處理工序的分離膜盒清洗裝置,上述下水處理工序中包括如下裝置:流量儲存槽(1),下水流入該流量儲存槽(1);厭氧槽(2),流入水和回流污泥流入該厭氧槽(2),并利用能夠分解的有機物來放出磷;交替反應槽(3),并列排列,以非曝氣-曝氣-非曝氣和非曝氣方式運轉,用于去除氮;膜分離好氧槽(4),用于使聚烯烴類中空纖維精密過濾膜浸漬,來去除浮游物及大腸桿菌;以及溶解氧降低槽(5),用于提高去除氮及磷的效率性,上述下水處理工序的分離膜盒清洗裝置的特征在于,
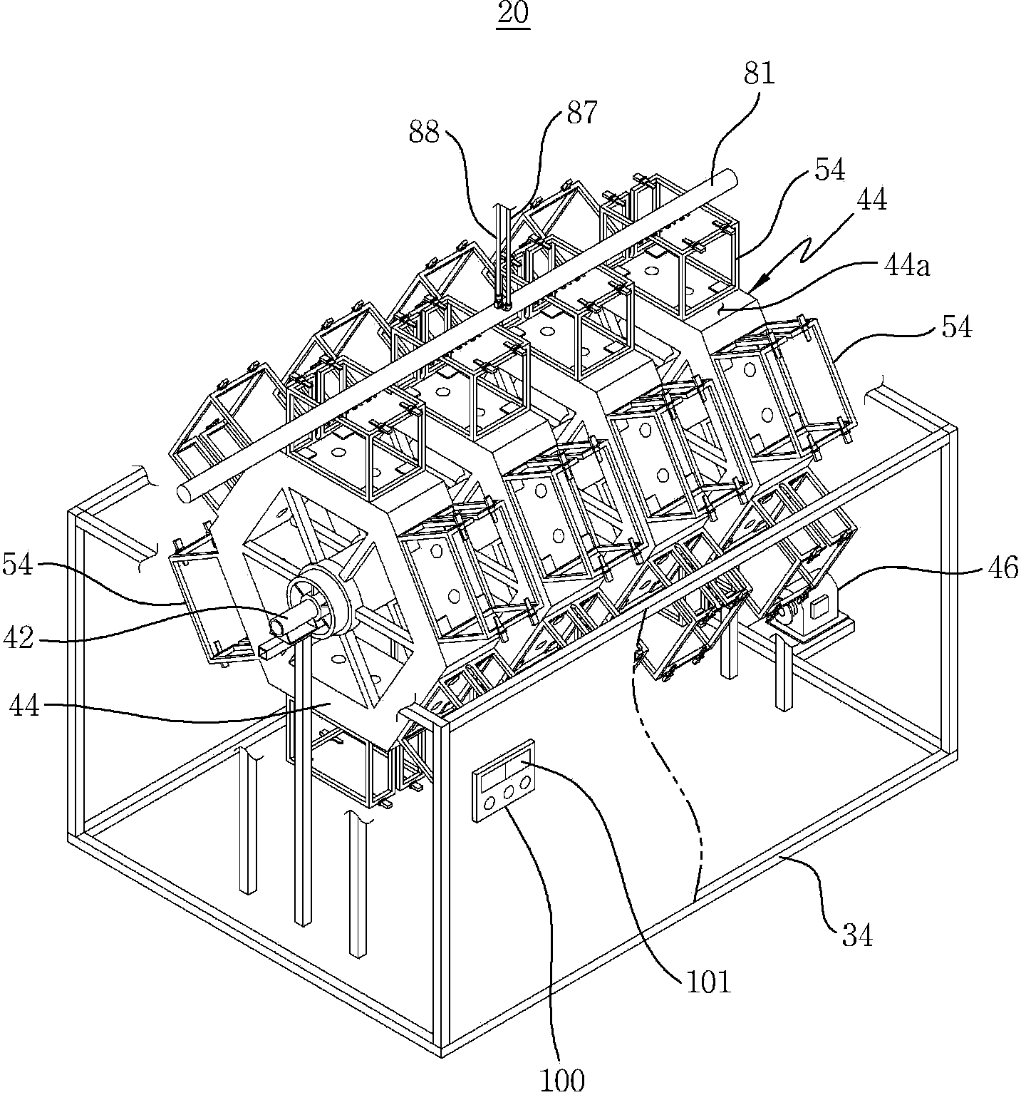
具有分離膜盒清洗裝置(20),上述分離膜盒清洗裝置(20)設置于上述膜分離好氧槽(4)的內部,用于清洗被包含在下水的污染物質污染的分離膜盒(10),
上述分離膜盒清洗裝置(20)包括:
清洗槽(34),在內部儲存清洗液,蓋(31)以能夠開閉的方式設置于上述清洗槽(34)的上部;
多角形的旋轉體(40),以能夠旋轉的方式軸設于上述清洗槽(34)的上部區域,分離膜盒(10)通過緊固單元(50)以能夠分離的方式緊固固定于上述旋轉體(40)的上部,以便浸漬于清洗液;
盒清洗單元(80),設置在上述蓋(31)的下部,用于去除附著于分離膜盒(10)的內部的中空纖維膜(14)的污染物質;以及
控制裝置(100),設置在上述清洗槽(34)的外側,用于控制旋轉體(40)和清洗單元(80)的工作。
2.根據權利要求1所述的下水處理工序的分離膜盒清洗裝置,其特征在于,上述旋轉體(40)包括:
旋轉軸(42),以能夠旋轉的方式軸設于上述清洗槽(34)的上部區域,并借助低速電機(46)進行旋轉,上述低速電機(46)通過控制裝置(100)的控制來控制旋轉力;以及
多角形的旋轉臺車(44),以維持間隔的方式軸固定于上述旋轉軸(42)的外周面,分離膜盒(10)借助緊固單元(50)以能夠分離的方式緊固于上述旋轉臺車(44)。
3.根據權利要求2所述的下水處理工序的分離膜盒清洗裝置,其特征在于,上述緊固單元(50)包括:
設置框(54),以前后、左右及上部、下部開放的方式組裝成正六面體,設置于上述旋轉臺車(44)的角面(44a),在上述設置框(54)的下端的邊角設置有支撐臺(52),盒本體(12)的下端穩定地放置于上述支撐臺(52);以及
盒緊固部件(60),設置在上述設置框(54)的左側上部和右側上部,用于穩定地固定盒本體(12)。
4.根據權利要求3所述的下水處理工序的分離膜盒清洗裝置,其特征在于,垂直引導孔(51)垂直地形成于上述設置框(54)的左側或右側,當放置盒本體(12)時,引導盒本體(12)的排出口(12a)。
5.根據權利要求3所述的下水處理工序的分離膜盒清洗裝置,其特征在于,上述盒緊固部件(60)包括:
鎖定件(70)、(71),以與設置框(54)的左側上端和右側上端相對應的方式固定,并形成有鎖定孔(70a);以及
鎖(73),上述鎖(73)包括:
緊貼部(73a),以能夠進出的方式插入于上述鎖定孔(70a)的內部,并與盒本體(12)的上端相緊貼,
阻隔部(73b),以形成高度差的方式形成于緊貼部(73a)的后端,以及
把手部(73c),形成于阻隔部(73b)的后端。
6.根據權利要求1所述的下水處理工序的分離膜盒清洗裝置,其特征在于,上述盒清洗單元(80)包括:
噴射臺(81),以靠近上述分離膜盒(10)的內部的中空纖維膜(14)的方式安裝于蓋(61)的下部;
多個噴嘴(82),以露出的方式能夠分離地緊固于上述噴射臺(81)的外周面;
水連接件(83)及空氣連接件(84),以能夠分離且連通的方式緊固于上述噴射臺(81);以及
供水管(87)和空氣供給管(88),分別連接在上述水連接件(83)和儲水箱(85)的內部的水中泵(85a)之間以及空氣連接件(84)空氣壓縮機(86)之間,借助上述控制裝置(100)的控制程序,將水中泵(85a)的水及空氣壓縮機(86)的空氣供給于噴射臺(81)的內部。
說明書
下水處理工序的分離膜盒清洗裝置
技術領域
本發明涉及設置在下水處理工序的膜分離好氧槽的內部的用于使包含在下水中的污染物質固液分離的分離膜盒,詳細地,在以能夠旋轉的方式設置于用于儲存清洗液的清洗槽的盒清洗裝置放置污染的盒,利用清洗液浸漬污染的分離膜盒,并從上部噴射水和空氣來清洗。
背景技術
通常,隨著社會的發展,用水量逐漸增加,國內外的關注都集中在提高包含城市下水的各種廢水處理過程中所產生的氮和磷的去除效率。因為營養鹽類加速富營養化,而降低珍貴的水資源的利用價值,并破壞生態系統。富營養化問題正擴散至幾乎所有自然水系,且在處處頻繁發生。最近,在強化水質管理的趨勢下,不僅排出源的污染物質排出允許濃度需要滿足排出允許基準或廢水水質基準,還根據總量限制,按照水系對污染總量進行管理,因而未來在污染負荷量多的水系中,將更加強化排出水的污染物質允許濃度基準。
作為下水的二次處理工藝而廣泛利用的活性污泥工序在去除有機物和浮游物質的方面有效。但在需要去除營養鹽類的情況下,氮和磷的去除效率不是特別高,因而需要改善。用于去除氮和磷等營養鹽類的生物學性深度處理基本由無氧步驟、厭氧步驟、好氧步驟及沉淀步驟構成,且根據污染負荷或污染源的特性,適當組合這些過程,從而決定處理工序,深度處理工藝根據處理設施的設置及運轉方式,實用化為序批式活性污泥法(SBR)、厭氧-缺氧-好氧法(A2/O)、厭氧好氧工藝(MLE)等各種工藝。
最近,為了處理下水,正提供韓國水資源公司雙龍膜生物反應器(KSMBR,Kwater Kms Ssangyong Membrane Bio Reactor)工藝,該下水處理工藝如圖1所示,在家庭等中產生的下水向流量調整槽流入之后,向厭氧槽的內部流入,并利用有機物來放出磷,向并列排列且以非曝氣-曝氣-非曝氣和非曝氣的方式運轉的交替反應槽供給,來處理氮之后,供給于膜分離好氧槽,使得污染物質借助分離膜而固液分離,來去除浮游物及大腸桿菌,并向溶解氧降低槽流入,來去除氮(N)及磷(P)之后,再次向厭氧槽供給并被處理,所產生的污泥向污泥儲留槽供給,來單獨地進行處理,該工藝為處理有機物及氮磷,并借助過濾膜來分離固液的下水深度處理技術。
然而,這種工藝的下水處理工序中,為了去除附著于設置在膜分離好氧槽的用于污染物質的固液分離的分離膜盒的中空纖維膜上的污染物質,需要在回收分離膜盒之后,由作業人員在作業現場直接用消防帶逐個清洗污染物質,存在不便。
發明內容
本發明是為了解決如上所述的現有的問題而提出的,本發明的目的在于,提供如下下水處理工序的分離膜盒清洗裝置,在以能夠旋轉的方式設置于用于儲存清洗液的清洗槽的內部的盒清洗裝置放置污染的多個分離膜盒,利用清洗液浸漬污染的膜盒,并從上部噴射水和空氣來清洗。
本發明的解決問題的手段提供下水處理工序的分離膜盒清洗裝置,上述下水處理工序,包括:流量儲存槽,下水流入該流量儲存槽;厭氧槽,流入水和回流污泥流入該厭氧槽,并利用可分解的有機物來放出磷;交替反應槽,并列排列,以非曝氣-曝氣-非曝氣和非曝氣方式運轉,用于去除氮;膜分離好氧槽,用于使聚烯烴類中空纖維精密過濾膜浸漬,來去除浮游物及大腸桿菌;以及溶解氧降低槽,用于提高去除氮及磷的效率性,上述下水處理工序的分離膜盒清洗裝置的特征在于,具有分離膜盒清洗裝置,上述分離膜盒清洗裝置設置于上述膜分離好氧槽的內部,用于清洗被包含在下水的污染物質污染的分離膜盒,上述分離膜盒清洗裝置包括:清洗槽,在內部儲存清洗液,蓋以能夠開閉的方式設置于上述清洗槽的上部;多角形的旋轉體,以能夠旋轉的方式軸設于上述清洗槽的上部區域,分離膜盒通過緊固單元以能夠分離的方式緊固固定于上述旋轉體的上部,以便浸漬于清洗液;盒清洗單元,設置在上述蓋的下部,用于去除附著于分離膜盒的內部的中空纖維膜的污染物質;以及控制裝置,設置在上述清洗槽的外側,用于控制旋轉體和清洗單元的工作。
根據本發明,安裝于下水處理工序的膜分離好氧槽的內部,使包含在下水中的污染物質固液分離,并且回收污染的分離膜盒之后,以能夠分離的方式放置于能夠旋轉地設置于用于儲存清洗液的清洗槽的內部的水碓式的盒清洗裝置之后,用清洗液浸漬污染的分離膜盒,并從上部的過濾器清洗單元噴射水和空氣來進行清洗,具有對分離膜盒的清洗作業方便,能夠提高作業性的效果。







