申請日2014.10.27
公開(公告)日2015.04.01
IPC分類號B01D29/56
摘要
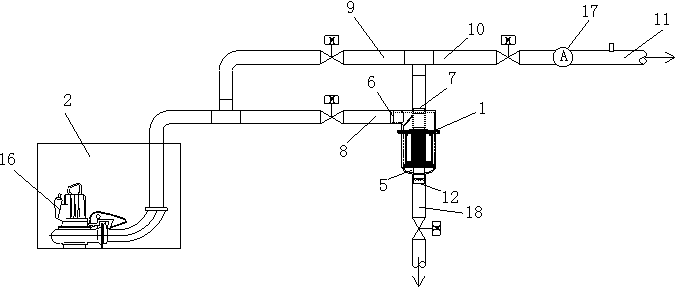
本發明涉及一種一體化雨水處理器,包括雨水過濾器和蓄水池,蓄水池內設有提升泵,雨水過濾器包括蓋體、本體及底盤,蓋體上設有進水口和出水口,進水口通過進水管連接到蓄水池,出水口通過出水管連接供水管網,底盤上設有排污口,排污口連接排污管,本體包括外殼及外殼內的濾芯,蓋體與本體間設有濾網,濾網傾斜設置在進水口和濾網間,濾網與外殼間設有間隙。采用上述結構后,實現了雨水的二次過濾,首先將大顆粒雜質過濾出來,然后經濾芯過濾出顆粒較小雜質,過濾效果好,且過濾出的雜質可利用高速清潔水的沖擊作用自動排出,相比之前需人工清潔雜質,自動化程度較高,過濾效率高。
權利要求書
1.一種一體化雨水處理器,包括雨水過濾器(1)和蓄水池(2),其特征在于:蓄水池(2)內設有提升泵(16),所述雨水過濾器(1)包括蓋體(3)、本體(4)及底盤(5),所述蓋體(3)上設有進水口(6)和出水口(7),所述進水口(6)通過進水管(8)連接到蓄水池(2),所述出水口(7)通過出水管(10)連接供水管網(11),所述底盤(5)上設有排污口(12),所述排污口(12)連接排污管(18),本體(4)包括外殼(13)及外殼(13)內的濾芯(14),所述蓋體(3)與本體(4)間設有濾網(15),所述濾網(15)傾斜設置在進水口(6)和濾網(15)間,所述濾網(15)與外殼(13)間設有間隙(19)。
2.根據權利要求1所述一體化雨水處理器,其特征在于:所述出水管(10)上設有流量表(17)。
3.根據權利要求1所述一體化雨水處理器,其特征在于:所述蓄水池(2)還通過第一進水管(9)連接出水口(7)。
說明書
一種一體化雨水處理器
技術領域
本發明涉及雨水處理裝置,尤其是涉及一種一體化雨水處理器。
背景技術
水是人類最寶貴的資源,但由于人類的浪費和污染,導致清潔的水源越來越少,F在,世界上幾乎所有國家都存在缺水現象,我國缺水問題更加嚴重,尤其在我國北方地區,因此人們需要開發一種新的水資源,例如雨水、河水。但由于污染嚴重,雨水和河水也需經過濾處理后才能用于工業或農業,雨水經雨水過濾器過濾后雜質留在雨水過濾器內,很難排出,必須手動才能將雜質清除,費時費力。
發明內容
為了克服上述缺陷,本發明提供了種一體化雨水處理器,過濾效果好,雜質可自行排出,操作方便。
本發明解決其技術問題所采用的技術方案是:一種一體化雨水處理器,包括雨水過濾器和蓄水池,蓄水池內設有提升泵,雨水過濾器包括蓋體、本體及底盤,蓋體上設有進水口和出水口,進水口通過進水管連接到蓄水池,出水口通過出水管連接供水管網,底盤上設有排污口,排污口連接排污管,本體包括外殼及外殼內的濾芯,蓋體與本體間設有濾網,濾網傾斜設置在進水口和濾網間,濾網與外殼間設有間隙。
在本發明的一個較佳實施例中,出水管上設有流量表。
在本發明的一個較佳實施例中,蓄水池還通過第一進水管連接出水口,高速清潔水可從出水口進入濾芯。
本發明的有益效果是:采用上述結構后,實現了雨水的二次過濾,首先將大顆粒雜質過濾出來,然后經濾芯過濾出顆粒較小雜質,過濾效果好,且過濾出的雜質可利用高速清潔水的沖擊作用自動排出,相比之前需人工清潔雜質,自動化程度較高,過濾效率高。







