申請日2013.08.24
公開(公告)日2016.07.06
IPC分類號C02F1/04; C02F103/08
摘要
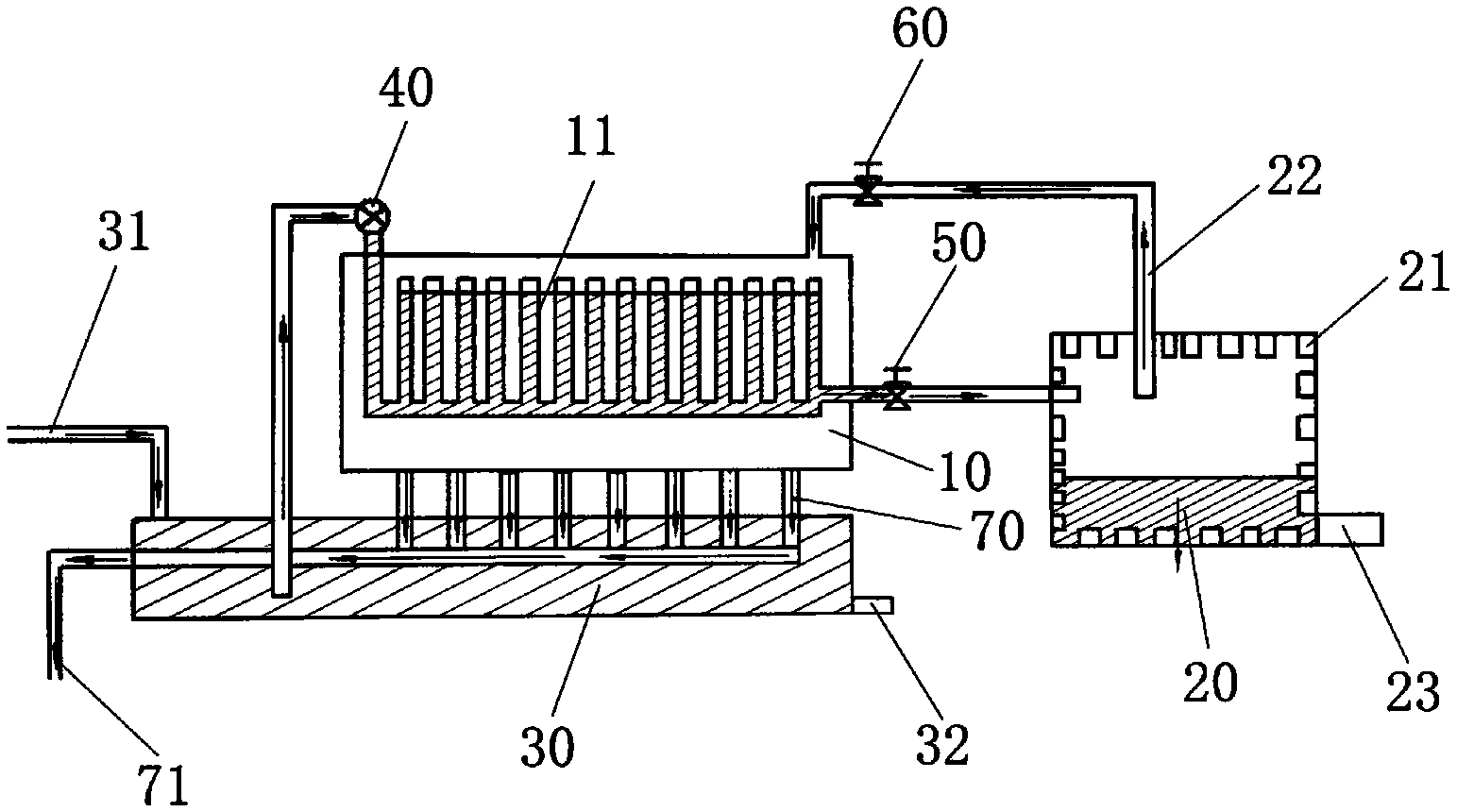
本發明公開一種海水淡化或污水凈化裝置,該裝置的冷凝預熱室內連續間隔立設有多個裝水管,每個裝水管的頂端敞口設計,且每個裝水管于底部相互連通以形成連通器,連通器的兩端通過水管分別連接有預熱水池和加熱室;所述冷凝預熱室還連接有一部分內置于預熱水池中的冷凝水排放管,并通過一蒸汽管道連通加熱室;所述的預熱水池通過一加水管引入原水;所述加熱室中設置有熱源裝置。所述預熱水池和加熱室均設置有排污口。本發明海水淡化或污水凈化裝置蒸餾耗能極小,且凈化效果好,可達到直接飲用的效果;且設備投資小,建造方便,可以是家庭的小型化裝備,也可以工廠、城市的大型化、大批量生產。
權利要求書
1.一種海水淡化或污水凈化裝置,其特征在于:該裝置設置有冷凝預熱室,該冷凝預熱室內連續間隔立設有多個裝水管,每個裝水管的頂端敞口設計,且每個裝水管于底部相互連通以形成連通器,連通器的兩端通過水管分別連接有預熱水池和加熱室;所述冷凝預熱室還連接有一部分內置于預熱水池中的冷凝水排放管,并通過一蒸汽管道連通加熱室;所述的預熱水池通過一加水管引入原水;所述加熱室中設置有熱源裝置;所述的冷凝預熱室和加熱室為壓力容器,連通冷凝預熱室和加熱室的蒸汽管道上裝設有氣閥;所述的冷凝預熱室通過多個水管和多個蒸汽管道相應連通多個的加熱室;所述預熱水池和加熱室均設置有排污口;連接冷凝預熱室和預熱水池的水管上裝設有水泵。
說明書
一種海水淡化或污水凈化裝置
技術領域
本發明涉及水處理領域,尤其是指一種利用蒸餾技術手段進行水處理的裝置,該水處理裝置特別適用于海水淡化、污水凈化的處理。
背景技術
現有的海水淡化、污水凈化的處理技術因加工成本高而不能被廣泛應用,而且生產出來的水基本不能直接飲用。如通過單純蒸餾的方式,每公斤水從0℃升溫到100℃耗能約為100千卡,每公斤100℃的水轉化成100℃的水蒸氣則需耗能約600千卡,通常蒸餾每公斤水約耗能700千卡,耗能大,水的汽化熱又不能回收利用,且難以利用太陽能。
發明內容
針對現有技術存在的問題,本發明提供一種結構簡單的海水淡化或污水凈化裝置。本裝置蒸餾耗能極小,且凈化效果好,可達到直接飲用的效果;且設備投資小,建造方便,可以是家庭的小型化裝備,也可以工廠、城市的大型化、大批量生產。
為實現上述目的,本發明技術方案為:
一種海水淡化或污水凈化裝置,該裝置設置有冷凝預熱室,該冷凝預熱室內連續間隔立設有多個裝水管,每個裝水管的頂端敞口設計,且每個裝水管于底部相互連通以形成連通器,連通器的兩端通過水管分別連接有預熱水池和加熱室;所述冷凝預熱室還連接有一部分內置于預熱水池中的冷凝水排放管,并通過一蒸汽管道連通加熱室;所述的預熱水池通過一加水管引入原水;所述加熱室中設置有熱源裝置。
進一步,所述的冷凝預熱室可通過多個水管和多個蒸汽管道相應連通多個的加熱室。
進一步,所述預熱水池和加熱室均設置有排污口。
進一步,連接冷凝預熱室和預熱水池的水管上裝設有水泵。
進一步,連通冷凝預熱室和加熱室的蒸汽管道上裝設有氣閥。
上述技術方案的有益之處在于:
預熱水池中的原水先經冷凝水管預熱,再泵入冷凝預熱室中導熱性能良好的裝水管,經冷凝預熱室內蒸汽的進一步加熱和部分蒸發。冷凝預熱室蒸發的蒸汽和加熱室排入的蒸汽與裝水管里的水進行熱交換后冷凝成水從冷凝水排放管排出,并經預熱水池熱交換冷卻后排出收集。殘留在預熱水池或加熱室的濃縮物和沉淀物由排污口定期清理排出。通過本發明裝置蒸餾的每公斤水耗能可以低至50千卡以下,蒸餾耗能極小,且凈化效果好,可達到直接飲用的效果。







