申請日2015.07.22
公開(公告)日2015.12.30
IPC分類號C02F11/18; C02F11/12
摘要
本實用新型提供一種槳葉污泥干燥機,所述槳葉污泥干燥機包括:夾套(1)、殼體(2)、第1槳葉軸(3)、第2槳葉軸(4)、機座(5)和傳動機構(6);優點為:(1)該槳葉污泥干燥機中的蒸汽不與污泥直接接觸,物料的整個干燥過程在封閉狀態下進行,有機揮發氣體及異味氣體在密閉氛圍下送至尾氣處理裝置,避免環境污染。(2)槳葉污泥干燥機的結構,有效提高了污泥干燥效率;(3)通過設置溫度測試孔和取樣口,可實時監測污泥干化情況,確保槳葉污泥干燥機安全穩定運行。
權利要求書
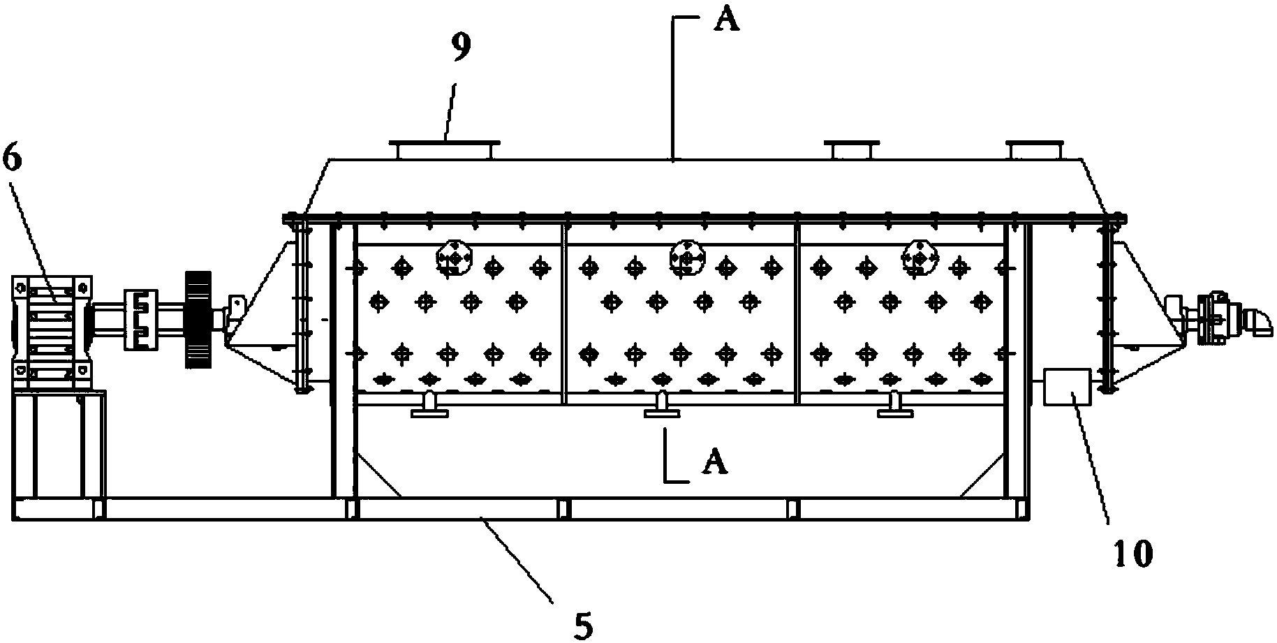
1.一種槳葉污泥干燥機,其特征在于,所述槳葉污泥干燥機包括:夾套(1)、殼體(2)、第1槳葉軸(3)、第2槳葉軸(4)、機座(5)和傳動機構(6);
所述殼體(2)固定安裝在所述機座(5)上;在所述殼體(2)的外部套設安裝所述夾套(1),使所述夾套(1)和所述殼體(2)之間形成導熱介質傳輸通道;所述導熱介質傳輸通道的上端設置進介質口(7),所述導熱介質傳輸通道的下端設置出介質口(8);
所述殼體(2)的內腔形成污泥處理腔體;所述污泥處理腔體的一端設置進泥口(9),所述污泥處理腔體的另一端設置排泥口(10);所述第1槳葉軸(3)和所述第2槳葉軸(4)均設置于所述污泥處理腔體的內部,用于在所述傳動機構(6)的驅動下轉動,進而對所述污泥處理腔體內部的污泥進行攪拌;此外,所述第1槳葉軸(3)和所述第2槳葉軸(4)的端部還分別設置有用于與導熱介質加熱站連通為循環供介質回路的進導熱介質口和排導熱介質口。
2.根據權利要求1所述的槳葉污泥干燥機,其特征在于,所述第1槳葉軸(3)沿軸向固定安裝第1漿葉;所述第2槳葉軸(4)沿軸向固定安裝第2漿葉;所述第1漿葉和所述第2漿葉為相互嚙合結構。
3.根據權利要求1所述的槳葉污泥干燥機,其特征在于,所述殼體(2)為w型殼體。
4.根據權利要求1所述的槳葉污泥干燥機,其特征在于,所述槳葉污泥干燥機還配置有溫度測試孔和取樣口;所述溫度測試孔和所述取樣口均與所述殼體(2)連通。
5.根據權利要求1-4任一項所述的槳葉污泥干燥機,其特征在于,所述導熱介質為蒸汽,熱水或導熱油。
說明書
槳葉污泥干燥機
技術領域
本實用新型屬于污泥處理技術領域,具體涉及一種槳葉污泥干燥機。
背景技術
目前污水處理廠對污泥的處理方式主要為污泥干化處理方法,污泥干化處理方法是指:利用熱能將污泥烘干,干化后的污泥呈顆粒或粉末狀,體積僅為原來的1/5~1/4;另外,由于干化后的污泥的含水率在10%以下,因此,污泥中的微生物活性受到抑制,從而可避免污泥發霉發臭,利于儲藏和運輸。因此,污泥干化處理方法,是一種有效的污泥處理方法。
然而,在實現本實用新型的過程中,發明人發現,現有技術至少存在以下問題:
現有的污泥干化處理方法,存在污泥干化處理效率低的問題。
實用新型內容
針對現有技術存在的缺陷,本實用新型提供一種槳葉污泥干燥機,可有效解決上述問題。
本實用新型采用的技術方案如下:
本實用新型提供一種槳葉污泥干燥機,所述槳葉污泥干燥機包括:夾套(1)、殼體(2)、第1槳葉軸(3)、第2槳葉軸(4)、機座(5)和傳動機構(6);
所述殼體(2)固定安裝在所述機座(5)上;在所述殼體(2)的外部套設安裝所述夾套(1),使所述夾套(1)和所述殼體(2)之間形成導熱介質傳輸通道;所述導熱介質傳輸通道的上端設置進介質口(7),所述導熱介質傳輸通道的下端設置出介質口(8);
所述殼體(2)的內腔形成污泥處理腔體;所述污泥處理腔體的一端設置進泥口(9),所述污泥處理腔體的另一端設置排泥口(10);所述第1槳葉軸(3)和所述第2槳葉軸(4)均設置于所述污泥處理腔體的內部,用于在所述傳動機構(6)的驅動下轉動,進而對所述污泥處理腔體內部的污泥進行攪拌;此外,所述第1槳葉軸(3)和所述第2槳葉軸(4)的端部還分別設置有用于與導熱介質加熱站連通為循環供介質回路的進導熱介質口和排導熱介質口。
優選的,所述第1槳葉軸(3)沿軸向固定安裝第1漿葉;所述第2槳葉軸(4)沿軸向固定安裝第2漿葉;所述第1漿葉和所述第2漿葉為相互嚙合結構。
優選的,所述殼體(2)為w型殼體。
優選的,所述槳葉污泥干燥機還配置有溫度測試孔和取樣口;所述溫度測試孔和所述取樣口均與所述殼體(2)連通。
優選的,所述導熱介質為蒸汽,熱水或導熱油。
本實用新型提供的槳葉污泥干燥機具有以下優點:
(1)該槳葉污泥干燥機中的蒸汽不與污泥直接接觸,物料的整個干燥過程在封閉狀態下進行,有機揮發氣體及異味氣體在密閉氛圍下送至尾氣處理裝置,避免環境污染。
(2)槳葉污泥干燥機的結構,有效提高了污泥干燥效率;
(3)通過設置溫度測試孔和取樣口,可實時監測污泥干化情況,確保槳葉污泥干燥機安全穩定運行。







