申請日2015.07.22
公開(公告)日2015.12.09
IPC分類號E03F5/22
摘要
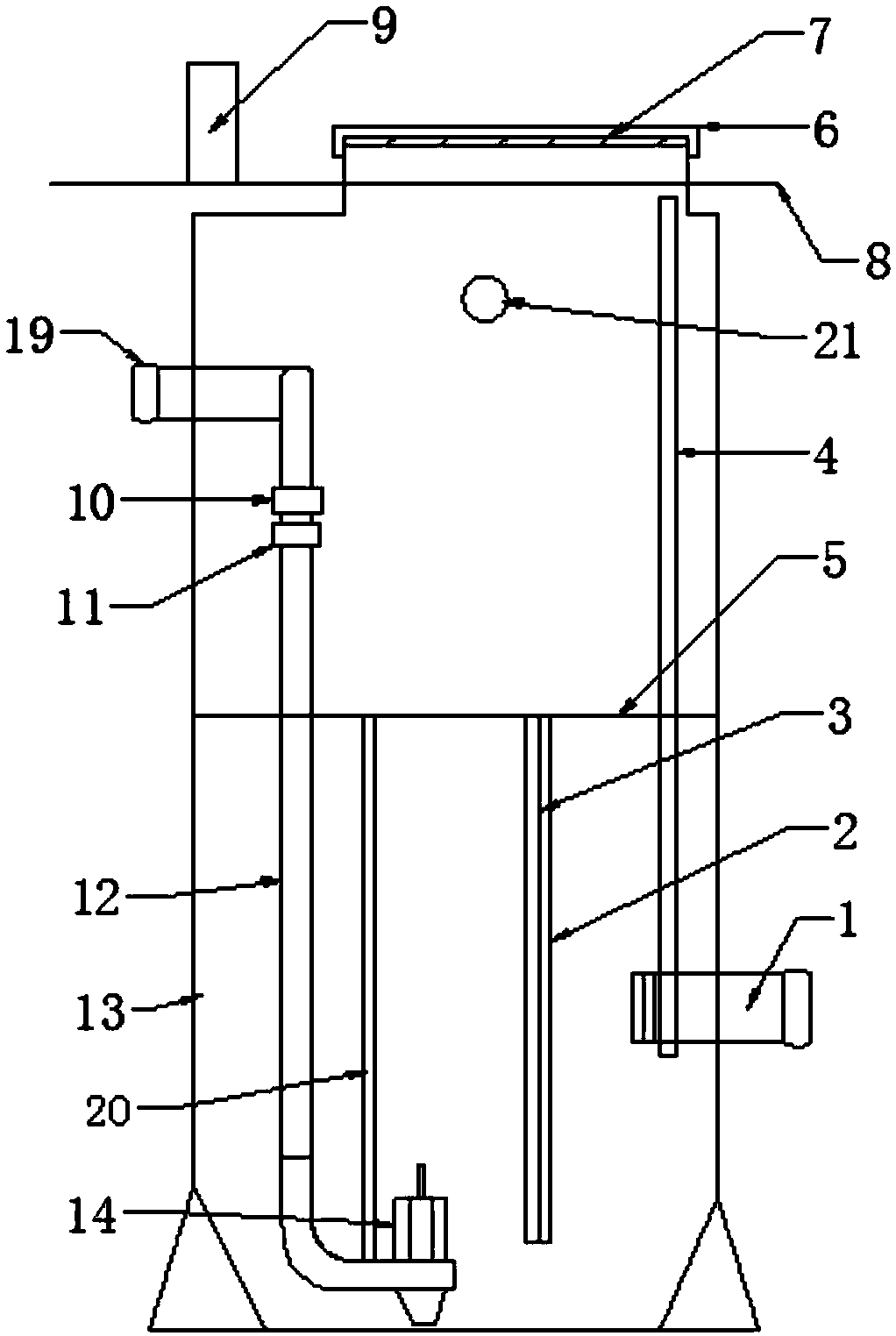
本實用新型公開了一種帶除臭裝置的污水泵站,包括污水集水裝置、提升裝置、控制裝置和除臭裝置,污水集水裝置為一由筒壁及筒底構成的井筒,在井筒筒壁的一側設有進水管,另一側設有出水管,提升裝置包括至少一臺潛水泵,潛水泵設置在泵座上,潛水泵通過壓力管道與出水管連接;在平臺下方豎直固定一壓力傳感器;除臭裝置通過除臭通管伸入到井筒內。本實用新型的有益效果是:通過設置控制裝置,與潛水泵、壓力傳感器和進水管相連,可由壓力傳感器檢測出液面的高度,傳遞信號至控制裝置,由控制裝置控制潛水泵的動作;通過設置除臭裝置,實現了對污水泵站內部有害氣體的去除,避免了有害氣體的聚集,從而降低了危險發生的可能性。
權利要求書
1.一種帶除臭裝置的污水泵站,其特征在于,包括污水集水裝置、提升裝置、控制裝 置和除臭裝置,污水集水裝置為一由筒壁及筒底構成的井筒,井筒設置在地面下,在井筒 筒壁的一側設有進水管,另一側設有出水管,提升裝置包括至少一臺潛水泵,潛水泵設置 在泵座上,泵座設置在井筒內部的底端,潛水泵通過壓力管道與出水管連接;在井筒內水 平設置一服務平臺,在平臺下方豎直固定一壓力傳感器;壓力傳感器和潛水泵均與控制裝 置單獨連接;除臭裝置通過除臭通管伸入到井筒內。
2.如權利要求1所述的帶除臭裝置的污水泵站,其特征在于,在所述進水管的管頭處 水平設置入口提籃隔柵,入口提籃隔柵處豎直設置第一導軌,入口提籃隔柵沿第一導軌升 降,入口提籃隔柵與控制裝置連接。
3.如權利要求1所述的帶除臭裝置的污水泵站,其特征在于,所述除臭裝置為離子除 臭裝置。
4.如權利要求1所述的帶除臭裝置的污水泵站,其特征在于,在所述潛水泵的一側豎 直設置第二導軌,潛水泵沿第二導軌升降。
5.如權利要求1所述的帶除臭裝置的污水泵站,其特征在于,所述除臭裝置和所述控 制裝置均設置在地面上。
6.如權利要求1所述的帶除臭裝置的污水泵站,其特征在于,在所述井筒的頂端水平 設置安全隔柵,在安全隔柵的頂端設置鋁合金井蓋。
7.如權利要求1所述的帶除臭裝置的污水泵站,其特征在于,在所述進水管的管口處 設置入口提籃隔柵。
8.如權利要求1所述的帶除臭裝置的污水泵站,其特征在于,在所述壓力管道上從上 到下依次設置有閘閥和止回閥。
9.如權利要求1所述的帶除臭裝置的污水泵站,其特征在于,在所述井筒的筒壁上開 有風管接入口和電纜接入口。
10.如權利要求1所述的帶除臭裝置的污水泵站,其特征在于,所述壓力管道的下端 接有自動耦合出水彎頭,彎頭與所述潛水泵的出水口對接。
說明書
一種帶除臭裝置的污水泵站
技術領域
本實用新型涉及一種帶除臭裝置的污水泵站。
背景技術
污水泵站的主要作用是降低污水管道的埋深,減少投資,傳統污水泵站存在著占地面 積大、易散發異味、噪音大、與周邊環境不協調等問題。目前,一體化泵站以其用地節省、 綠色、清凈、無異味等優點得到廣泛推廣應用。此外,一體化泵站內污水容易產生硫化氫、 一氧化碳等有毒氣體,這些氣體聚集的太多是容易產生危險的,現有的泵站內沒有相應的 設備將這些有害的氣體去除,同時,泵站較深,直接進入到泵站內底端或者踩在步梯上進 行工作,是很不方便的;此外,泵站內容易沉積垃圾,給清理帶來了很大的不便。
實用新型內容
本實用新型的目的是提供一種可幫助除臭的、能自動控制潛水泵動作的帶除臭裝置的 污水泵站。
為了達成上述目的,本實用新型采用如下技術方案:
一種帶除臭裝置的污水泵站,包括污水集水裝置、提升裝置、控制裝置和除臭裝置, 污水集水裝置為一由筒壁及筒底構成的井筒,井筒設置在地面下,在井筒筒壁的一側設有 進水管,另一側設有出水管,提升裝置包括至少一臺潛水泵,潛水泵設置在泵座上,泵座 設置在井筒內部的底端,潛水泵通過壓力管道與出水管連接;在井筒內水平設置一服務平 臺,在平臺下方豎直固定一壓力傳感器;壓力傳感器和潛水泵均與控制裝置單獨連接;除 臭裝置通過除臭通管伸入到井筒內。
進一步地,在所述進水管的管頭處水平設置入口提籃隔柵,入口提籃隔柵處豎直設置 第一導軌,入口提籃隔柵沿第一導軌升降,入口提籃隔柵與控制裝置連接。
進一步地,除臭裝置為離子除臭裝置。
進一步地,在所述潛水泵的一側豎直設置第二導軌,潛水泵沿第二導軌升降。
進一步地,除臭裝置和所述控制裝置均設置在地面上。
進一步地,在所述井筒的頂端水平設置安全隔柵,在安全隔柵的頂端設置鋁合金井蓋。
進一步地,在所述進水管的管口處設置入口提籃隔柵。
進一步地,在所述壓力管道上從上到下依次設置有閘閥和止回閥。
進一步地,在所述井筒的筒壁上開有風管接入口和電纜接入口。
進一步地,壓力管道的下端接有自動耦合出水彎頭,彎頭與所述潛水泵的出水口對接。
本實用新型的工作原理是:將井筒設置在地下,井筒還配置井蓋,污水從井筒筒壁一 側的進水管內進入井筒內,通過井筒內潛水泵將污水提升至道路高點后,接入重力流污水 管道最終由污水處理廠進行處理;由壓力傳感器檢測液面的高度,當檢測到高度值高于某 高度時,由控制裝置控制潛水泵啟動進行抽水,當壓力傳感器檢測到液面的高度低于另一 高度時,由控制裝置控制潛水泵停止動作;此外,除臭裝置通過除臭通管進入到井筒內, 進行除臭,同時,從風管接入口內通入空氣,幫助有效通風。
本實用新型的有益效果是:
1)通過設置控制裝置,與潛水泵、壓力傳感器和進水管相連,可由壓力傳感器檢測出 液面的高度,傳遞信號至控制裝置,由控制裝置控制潛水泵的動作,并可由控制裝置控制 潛水泵的上下移動;
2)在井筒的中間位置水平設置一服務平臺,用于支撐人員進行工作,非常方便;
3)通過設置除臭裝置,實現了對污水泵站內部有害氣體的去除,避免了有害氣體的聚 集,從而降低了危險發生的可能性;
4)通過在進水管處設置入口提籃隔柵,并使其可沿第一導軌上下移動,實現了不必進 入泵站井筒內部即可輕松將進水管處收集的垃圾進行處理,大大節省了人力。







