申請日2015.07.22
公開(公告)日2015.11.11
IPC分類號C02F11/12
摘要
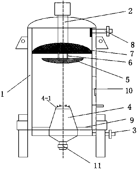
本發明公開了一種用于污泥處理的噴射式干燥爐,其為圓柱形的殼體,殼體的頂部設有進料管,殼體的底部設有圓錐形的氣流噴射頭,進料管的底部通過連接桿連接有物料預儲槽,物料預儲槽由圓弧型的篩網所組成,物料預儲槽的上方設有圓弧型的阻料篩網,所述的阻料篩網的外徑與殼體的內徑相同;本發明解決了污泥在加料過程中堆積在一起的問題,將物料分隔成小顆粒的固體物料,同時物料在物料預儲槽、阻料篩網和氣流噴射頭之間來回旋流,提高了其在殼體內的停留時間,保證了污泥顆粒的充分干燥;裝置整體操作簡單,能量損耗率低,縮短了物料在干燥工藝過程中的生產成本。
權利要求書
1.一種用于污泥處理的噴射式干燥爐,所述的干燥爐為圓柱形的殼體,殼體的頂部設有進料管,殼體的底部設有出料管,其特征在于,所述的殼體的底部設有圓錐形的氣流噴射頭,所述進料管的底部通過連接桿連接有物料預儲槽,所述的物料預儲槽由圓弧型的篩網所組成,所述物料預儲槽的上方設有圓弧型的阻料篩網,所述的阻料篩網的外徑與殼體的內徑相同,阻料篩網固定安裝在殼體上部,殼體的頂部設有出氣口,殼體的底部設有圓環形的出料口,所述的圓環形的出料口設置在氣流噴射頭的周側。
2.根據權利要求1所述的用于污泥處理的噴射式干燥爐,其特征在于,所述的氣流噴射頭底部設有進氣管路,所述氣流噴射頭的頂面為圓弧型的頂面,所述的頂面上均勻設有多個氣流噴射口。
3.根據權利要求1所述的用于污泥處理的噴射式干燥爐,其特征在于,所述的連接桿為可調節長度的伸縮桿。
4.根據權利要求2所述的用于污泥處理的噴射式干燥爐,其特征在于,所述的氣流噴射頭頂面的直徑為物料預儲槽直徑的1/2,所述阻料篩網的外徑為物料預儲槽直徑的兩倍。
5.根據權利要求1所述的用于污泥處理的噴射式干燥爐,其特征在于,所述的氣流噴射頭的內部設有加熱管路。
6.根據權利要求1所述的用于污泥處理的噴射式干燥爐,其特征在于,所述的阻料篩網的篩網孔徑小于物料預儲槽的篩網孔徑。
7.根據權利要求3所述的用于污泥處理的噴射式干燥爐,其特征在于,所述殼體的中部設有人工操作臺,所述的人工操作臺為活動式密封蓋。
說明書
用于污泥處理的噴射式干燥爐
技術領域
本發明涉及污泥處理工藝的輔助設備,尤其涉及一種用于污泥處理的噴射式干燥爐。
背景技術
污泥處理是對污泥進行濃縮、調治、脫水、穩定、干化或焚燒等減量化、穩定化、無害化的加工過程;污泥的干燥設備主要是用于將脫水后的污泥進行進一步的干燥,將潮濕的污泥干燥成干燥的固體顆粒,方便污泥進行下一步的熔融燒結,堆肥或者還田的操作,由于污泥本身為粘稠狀的固體,大堆污泥容易堆積在一起,普通的干燥設備很那對其進行充分的干燥,干燥效率較低。
同時對于干燥效率較高的氣流干燥爐,普通的氣流干燥主要是用于塊狀固體的干燥,污泥在加料過程中容易堆積在一起,堆積后的大塊固體顆粒在氣流中僅僅能干燥其固體表面,在實際操作過程中,需要添加相關粉碎設備對大塊固體顆粒進行粉碎,粉碎后的固體顆粒再次進行干燥,操作較為繁瑣,不僅浪費大量人力物力,而且操作過程中容易造成不必要的物料損耗,給企業造成很大的困擾。
發明內容
針對上述存在的問題,本發明目的在于提供一種結構簡單,方便對污泥進行充分干燥,干燥效率高,省時省力的噴射式干燥爐。
為了達到上述目的,本發明采用的技術方案如下:一種用于污泥處理的噴射式干燥爐,所述的干燥爐為圓柱形的殼體,殼體的頂部設有進料管,殼體的底部設有出料管,所述的殼體的底部設有圓錐形的氣流噴射頭,所述進料管的底部通過連接桿連接有物料預儲槽,所述的物料預儲槽由圓弧型的篩網所組成,所述物料預儲槽的上方設有圓弧型的阻料篩網,所述的阻料篩網的外徑與殼體的內徑相同,阻料篩網固定安裝在殼體上部,殼體的頂部設有出氣口,殼體的底部設有圓環形的出料口,所述的圓環形的出料口設置在氣流噴射頭的周側。
本發明所述的氣流噴射頭底部設有進氣管路,所述氣流噴射頭的頂面為圓弧型的頂面,所述的頂面上均勻設有多個氣流噴射口;通過進氣管路控制氣流噴射頭噴出的氣流的流量,方便不同量的物料的干燥操作,同時通過圓弧型的頂面,增加氣流噴射頭的噴射面積,方便對殼體內各個位置上均勻的干燥效果。
本發明所述的連接桿為可調節長度的伸縮桿;通過伸縮桿調節物料預儲槽與阻料篩網之間的間距,進一步調節物料預儲槽與氣流噴射頭之間的間距,方便對物料預儲槽內物料進行充分干燥,在干燥過程中,物料預儲槽與氣流噴射頭之間形成干燥區,物料預儲槽與阻料篩網之間形成對流區,通過干燥區和對流區相配合,污泥顆粒在兩個區域內傳動,進一步提高物料在干燥爐內的停留時間。
本發明所述的氣流噴射頭頂面的直徑為物料預儲槽直徑的1/2,所述阻料篩網的外徑為物料預儲槽直徑的兩倍;氣流噴射頭的直徑較小,方便高速氣流的噴出,而物料預儲槽的主要作用是用于儲存污泥,其面積較大,方便擴散后的干燥氣流與其重復接觸,提高干燥效果,同時阻料篩網主要是防止小顆粒的固體物料外泄,避免不必要的物料損耗。
本發明所述的氣流噴射頭的內部設有加熱管路;通過加熱管路加熱氣流,避免了氣流在傳輸過程中的能量損耗,節省成本,干燥效率高。
本發明所述的阻料篩網的篩網孔徑小于物料預儲槽的篩網孔徑;物料預儲槽的篩網孔主要用于篩分污泥顆粒,方便將其分隔成多份,分別進行干燥,同時在干燥過程中,固體顆粒因為氣流作用下發生碰撞、粉碎,粉碎后的小顆粒固體物料通過阻料篩網隔離,防止損失。
本發明所述殼體的中部設有人工操作臺,所述的人工操作臺為活動式密封蓋;通過人工操作臺方便調節連接桿的長度,方便調節物料預儲槽的固定高度,操作簡單方便。
本發明的優點在于:本發明通過在噴射式干燥爐內添加的物料預儲槽和阻料篩網,解決了污泥在加料過程中堆積在一起的問題,將物料分隔成小顆粒的固體物料,同時物料在物料預儲槽、阻料篩網和氣流噴射頭之間來回旋流,提高了污泥顆粒在殼體內的停留和傳輸時間,保證了污泥顆粒的充分干燥;裝置整體操作簡單,方便檢修和維護,干燥后的物料方便收集,能量損耗率低,縮短了物料在干燥工藝過程中的生產成本。







