申請日2015.07.22
公開(公告)日2015.10.14
IPC分類號C02F9/14
摘要
本發明屬于廢水處理領域,特別涉及一種處理高懸浮固體濃度有機廢水的方法。該方法包括高溫生物水解預處理、厭氧膜生物反應器處理、廢水排出和回流步驟。對于高懸浮固體濃度的有機廢水,在高溫水解反應器中發生水解、酸化,大部分有機固體溶解至液相,在總固體濃度不變的情況下,大幅度降低了影響后續膜分離性能的懸浮固體濃度。經水解的廢水進入厭氧膜生物反應器中,在膜的分離作用下,未被降解的固體有機物和厭氧微生物被截留在反應器內,可溶性物質透過膜,作為透過液排出反應器。在膜的分離作用下,膜生物反應器的水力停留時間和固體停留時間分離,反應器體積大幅減小,單位容積產氣率大幅度增加。
權利要求書
1.一種處理高懸浮固體濃度有機廢水的方法,其特征在于:所述 方法包括如下步驟:
a.高溫生物水解預處理:高懸浮固體濃度有機廢水通過管道進入 高溫水解罐(1)中,高溫水解罐(1)中高懸浮固體濃度有機廢水的 溫度被加熱至50~75℃,開啟攪拌器(2),使高溫水解罐(1)中的高 懸浮固體濃度有機廢水混合均勻,高懸浮固體濃度有機廢水在高溫水 解罐(1)中停留時間為2~10天,在此過程中,部分懸浮固體被水解 成可溶性物質;
b.厭氧膜生物反應器處理:經過步驟a高溫水解后的高懸浮固體 濃度有機廢水通過進料泵(3)進入到厭氧膜生物反應器(4)中,在3 0℃~60℃溫度范圍內被快速厭氧發酵、產氣;設定膜通量,確定水力 停留時間和固體停留時間;在發酵過程中,生成的甲烷和二氧化碳氣 體,通過厭氧膜生物反應器(4)頂部設置的排氣孔(5),一部分經管 道被集氣袋(6)收集,另一部分通過氣體循環泵(7)輸送回厭氧膜 生物反應器(4)底部設置的曝氣管(8);甲烷和二氧化碳氣體從曝氣 管(8)中曝出,并沿著膜(9)與導流板(10)所形成的通道向上運 動,過程中使粘連在膜(9)與導流板(10)上的固體脫離膜(9)與 導流板(10),并重新與高懸浮固體濃度有機廢水混合;
c.廢水排出:經過步驟b厭氧膜生物反應器(4)處理后的高懸浮 固體濃度有機廢水,其中一部分廢水在排水泵(11)的作用下,經過 膜(9)和集水管(12)后排放,另一部分廢水通過排料泵(13)直接 排出;
d.回流:上述步驟c中由排料泵(13)排出的廢水中的一部分通 過回流管(14)回流至高溫水解罐(1)中,調節高溫水解罐(1)內 的pH值為5.0~6.5。
2.根據權利要求1所述的處理高懸浮固體濃度有機廢水的方法, 其特征在于:所述步驟a中,高溫水解罐(1)中高懸浮固體濃度有機 廢水的溫度被加熱至50~60℃,高懸浮固體濃度有機廢水在高溫水解罐 (1)中停留時間為4~7天。
3.根據權利要求1所述的處理高懸浮固體濃度有機廢水的方法, 其特征在于:所述步驟a中,高溫水解罐(1)中高懸浮固體濃度有機 廢水的溫度被加熱至60~75℃,高懸浮固體濃度有機廢水在高溫水解罐 (1)中停留時間為3~5天。
4.根據權利要求1所述的處理高懸浮固體濃度有機廢水的方法, 其特征在于:所述步驟b中,厭氧膜生物反應器(4)的溫度為30℃~ 40℃,膜通量為5~10L/m2h,水力停留時間為15~20天,固體停留時間 為30~40天。
5.根據權利要求1所述的處理高懸浮固體濃度有機廢水的方法, 其特征在于:所述步驟b中,厭氧膜生物反應器(4)的溫度為50℃~ 60℃,膜通量為5~10L/m2h,水力停留時間為10~20天,固體停留時間 為20~40天。
說明書
一種處理高懸浮固體濃度有機廢水的方法
技術領域
本發明屬于廢水處理領域,特別涉及一種處理高懸浮固體濃度有 機廢水的方法。
背景技術
隨著我國城市化進程的加快和社會經濟的快速發展,各種高有機 物濃度和高懸浮于固體濃度的廢物和廢水處理越來越受到關注,如食 品廢水、好氧污泥和養殖廢水等。這些污水中含有大量的有機質,經 厭氧微生物的作用可以轉化為清潔的能源(甲烷)。另一方面,這些 污水中又含有大量的固體,給污水的高效厭氧甲烷發酵處理帶了很大 難度。厭氧膜生物反應器具有截留懸浮固體有機物和厭氧微生物的優 點,能夠獲得高的甲烷產率,又能夠獲得好的出水水質,可以應用于 低固體濃度的有機廢水(如城市生活污水),但不能應用于高懸浮固 體濃度的有機廢水(懸浮固體濃度高于10g/L的有機廢水)。目前, 高懸浮固體濃度和高有機物濃度的有機廢水處理仍然缺乏有效的技術 手段。
發明內容
本發明的目的是提供一種高懸浮固體濃度有機廢水的處理方法, 大幅度地提高厭氧膜生物反應器能夠處理的有機物廢水濃度。
為了實現上述目的,本發明提供了如下技術方案:
一種處理高懸浮固體濃度有機廢水的方法,其特征在于:所述方 法包括如下步驟:
a.高溫生物水解預處理:高懸浮固體濃度有機廢水通過管道進入 高溫水解罐1中,高溫水解罐1中高懸浮固體濃度有機廢水的溫度被 加熱至50~75℃,開啟攪拌器2,使高溫水解罐1中的高懸浮固體濃度 有機廢水混合均勻,高懸浮固體濃度有機廢水在高溫水解罐1中停留 時間為2~10天,在此過程中,部分懸浮固體被水解成可溶性物質;
b.厭氧膜生物反應器處理:經過步驟a高溫水解后的高懸浮固體 濃度有機廢水通過進料泵3進入到厭氧膜生物反應器4中,在30℃~6 0℃溫度范圍內被快速厭氧發酵、產氣;設定膜通量,確定水力停留時 間和固體停留時間;在發酵過程中,生成的甲烷和二氧化碳氣體,通 過厭氧膜生物反應器4頂部設置的排氣孔5,一部分經管道被集氣袋6 收集,另一部分通過氣體循環泵7輸送回厭氧膜生物反應器4底部設 置的曝氣管8;甲烷和二氧化碳氣體從曝氣管8中曝出,并沿著膜9與 導流板10所形成的通道向上運動,過程中使粘連在膜9與導流板10 上的固體脫離膜9與導流板10,并重新與高懸浮固體濃度有機廢水混 合;
c.廢水排出:經過步驟b厭氧膜生物反應器4處理后的高懸浮固 體濃度有機廢水,其中一部分廢水在排水泵11的作用下,經過膜9和 集水管12后排放,另一部分廢水通過排料泵13直接排出;
d.回流:上述步驟c中由排料泵13排出的廢水中的一部分通過回 流管14回流至高溫水解罐1中,調節高溫水解罐1內的pH值為5.0~ 6.5。
優選地,所述步驟a中,高溫水解罐1中高懸浮固體濃度有機廢 水的溫度被加熱至50~60℃,高懸浮固體濃度有機廢水在高溫水解罐1 中停留時間為4~7天。
優選地,所述步驟a中,高溫水解罐1中高懸浮固體濃度有機廢 水的溫度被加熱至60~75℃,高懸浮固體濃度有機廢水在高溫水解罐1 中停留時間為3~5天。
優選地,所述步驟b中,厭氧膜生物反應器4的溫度為30℃~40℃, 膜通量為5~10L/m2h,水力停留時間為15~20天,固體停留時間為30~ 40天。
優選地,所述步驟b中,厭氧膜生物反應器4的溫度為50℃~60℃, 膜通量為5~10L/m2h,水力停留時間為10~20天,固體停留時間為20~40 天
與現有技術相比,本發明的有益效果在于:
(1)大幅度地提高了厭氧膜生物反應器能夠處理的有機物廢水濃 度,將厭氧膜生物反應器不能處理的高濃度廢水經過高溫生物水解, 降低懸浮固體濃度后,可以在本發明的厭氧膜生物反應器中得到處理;
(2)本發明通過高溫生物水解,將固體基質水解液化至液相,進 而在厭氧膜生物反應器中,能夠快速地被發酵轉化為甲烷,大幅度地 提高了產氣速率和反應器的處理能力;
(3)本發明在膜的分離作用下,反應器出水的透過液懸浮固體濃 度大幅度降低,出水水質提高。
附圖說明
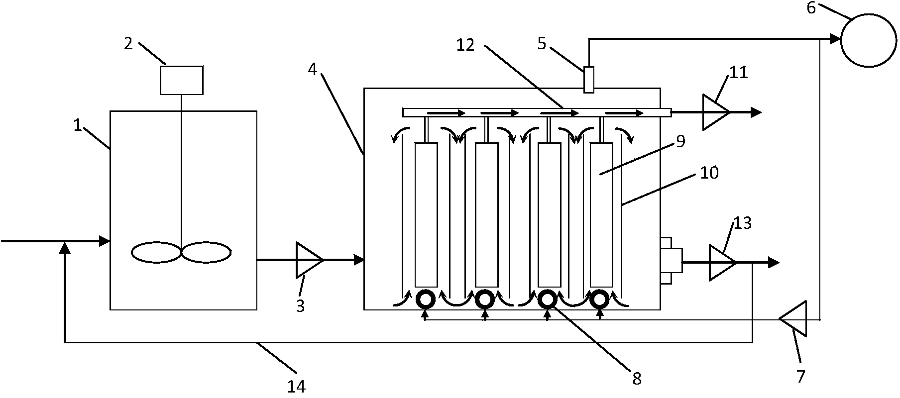
圖1為本發明高懸浮固體濃度有機廢水的處理系統示意圖
其中的附圖標記為:
1 高溫水解罐 2 攪拌電機 3 進料泵
4 厭氧膜生物反應器 5 排氣孔 6 集氣袋
7 氣體循環泵 8 曝氣管 9 膜
10 導流板 11 排水泵 12 集水管
13 排料泵 14 回流管
具體實施方式
如圖1所示,本發明提供一種高懸浮固體濃度有機廢水的處理系 統,包括高溫水解罐1、攪拌電機2、進料泵3、厭氧膜生物反應器4、 集氣袋6、氣體循環泵7、曝氣管8、膜9、導流板10、排水泵11、集 水管12、排料泵13和回流管14。
其中,攪拌電機2設置于高溫水解罐1中;高溫水解罐1和厭氧 膜生物反應器4通過管道及進料泵3連接;膜9豎直地設置于厭氧膜 生物反應器4中,每個膜9兩側均設置有與其平行的導流板10;膜9 頂部通過管道與設置在厭氧膜生物反應器4上部的集水管12連接,集 水管12與厭氧膜生物反應器4外部的排水泵11連接;厭氧膜生物反 應器4頂部設置有排氣孔5,底部設置有曝氣管8,排氣孔5通過管道 分別與集氣袋6和氣體循環泵7連接,氣體循環泵7的另一端與曝氣 管8連接;厭氧膜生物反應器4底部側面設置有排料口,并與排料泵 13連接;排料泵13出料端連接兩個分支管道,一支連接至外界廢料收 集池,另一支通過回流管14連接至高溫水解罐1的進料口。
針對有機廢水厭氧消化工藝的不足,本發明提供一種高溫生物水 解預處理組合厭氧膜生物反應器的方法,包括如下步驟:
a.高溫生物水解預處理:
高懸浮固體濃度有機廢水通過管道進入高溫水解罐1中,高溫水 解罐1中高懸浮固體濃度有機廢水的溫度被加熱至50~75℃,開啟攪拌 器2,使高溫水解罐1中的高懸浮固體濃度有機廢水混合均勻,高懸浮 固體濃度有機廢水在高溫水解罐1中停留時間為2~10天,在此過程中, 部分懸浮固體被水解成可溶性物質;
b.厭氧膜生物反應器處理:
經過步驟a高溫水解后的高懸浮固體濃度有機廢水通過進料泵3 進入到厭氧膜生物反應器4中,在30℃~60℃溫度范圍內被快速厭氧發 酵、產氣;設定膜通量,確定水力停留時間和固體停留時間。在發酵 過程中,生成的甲烷和二氧化碳混合氣體,通過厭氧膜生物反應器4 頂部設置的排氣孔5,一部分經管道被集氣袋6收集,另一部分通過氣 體循環泵7輸送回厭氧膜生物反應器4底部設置的曝氣管8。甲烷和二 氧化碳混合氣體從曝氣管8中曝出,并沿著膜9與導流板10所形成的 通道向上運動,過程中使粘連在膜9與導流板10上的固體脫離膜9與 導流板10,并重新與高懸浮固體濃度有機廢水混合;
c.廢水排出:經過步驟b厭氧膜生物反應器4處理后的高懸浮固 體濃度有機廢水,其中一部分廢水在排水泵11的作用下,經過膜9和 集水管12后排放,另一部分廢水通過排料泵13直接排出;
d.回流:上述步驟c中由排料泵13排出的廢水中的一部分通過回 流管14回流至高溫水解罐1中,調節高溫水解罐1內的pH值為 5.0~6.5,使水解微生物處于適宜的pH范圍,高溫水解罐1具有高的水 解懸浮固體的能力。
優選地,步驟a中,高溫水解罐1中高懸浮固體濃度有機廢水的 溫度被加熱至50~60℃,高懸浮固體濃度有機廢水在高溫水解罐1中停 留時間為4~7天。
優選地,步驟a中,高溫水解罐1中高懸浮固體濃度有機廢水的 溫度被加熱至60~75℃,高懸浮固體濃度有機廢水在高溫水解罐1中停 留時間為3~5天。
優選地,步驟b中,厭氧膜生物反應器4的溫度為30℃~40℃,膜 通量為5~10L/m2h,水力停留時間為15~20天,固體停留時間為30~40 天。
優選地,步驟b中,厭氧膜生物反應器4的溫度為50℃~60℃,膜 通量為5~10L/m2h,水力停留時間為10~20天,固體停留時間為20~40 天。
對于高懸浮固體濃度的有機廢水,在高溫水解反應器中發生水解、 酸化,大部分有機固體溶解至液相,在總固體濃度不變的情況下,大 幅度降低了影響后續膜分離性能的懸浮固體濃度。
高溫水解罐1中水解微生物適宜的pH范圍是5.0~6.5,高懸浮固 體濃度的有機廢水進入高溫水解罐1中經過高溫水解反應后,pH值降 低至低于4.0;經過厭氧膜生物反應器4處理后的廢水pH值增高至7.0 以上;高pH值的廢水回流至高溫水解罐1中,與低pH值的廢水混合, 使高溫水解罐1中pH值達到5.0~6.5。
經水解的廢水進入厭氧膜生物反應器中,在膜的分離作用下,未 被降解的固體有機物和厭氧微生物被截留在反應器內,水和少量未被 降解的可溶性物質透過膜,作為透過液排出反應器。在膜的分離作用 下,膜生物反應器的水力停留時間和固體停留時間分離,反應器體積 大幅減小,單位容積產氣率大幅度增加。
下面結合實施例對本發明進行進一步說明。
實施例1
乳制品廢水進行厭氧消化處理
乳制品廢水中的固體濃度為50~150g/L,其中懸浮固體濃度為 20~120g/L;
a.高溫生物水解預處理:乳制品廢水通過管道進入高溫水解罐1 中,高溫水解罐1中乳制品廢水的溫度被加熱至50~60℃,開啟攪拌器 2,使高溫水解罐1中的乳制品廢水混合均勻,乳制品廢水在高溫水解 罐1中停留時間為4~7天,總固體濃度不變,懸浮固體濃度降低至 20~50g/L;
b.厭氧膜生物反應器處理:經過步驟a高溫水解后的乳制品廢水 通過進料泵3進入到厭氧膜生物反應器4中,在30℃~40℃溫度范圍內 被快速發酵;膜通量設定為5~10L/m2h,水力停留時間15~20天,固體 停留時間30~40天;在發酵過程中,生成的甲烷和二氧化碳氣體,通 過厭氧膜生物反應器4頂部設置的排氣孔5經管道,一部分被集氣袋6 收集,另一部分通過氣體循環泵7輸送回厭氧膜生物反應器4底部設 置的曝氣管8;甲烷和二氧化碳氣體從曝氣管8中曝出,并沿膜9與導 流板10所形成的通道向上運動,過程中使膜9和導流板10上不粘附 固體;
c.廢水排出:經過步驟b厭氧膜生物反應器處理后的乳制品廢水, 其中一部分廢水在排水泵11的作用下,經過膜9和集水管12后排放, 另一部分廢水直接通過排料泵13直接排出;
d.回流:上述步驟c中,由排料泵13排出的廢水中的一部分通過 回流管14回流至高溫水解罐1中,調節高溫水解罐1內的pH為 5.0~6.5。
經過此流程處理的乳制品廢水中有機物的70~80%被降解轉化為 甲烷,廢水在厭氧膜生物反應器中的停留時間為10~20天,單位容積 反應器處理能力比常規方法提高40~60%。
實施例2
釀酒廢水進行厭氧消化處理
釀酒廢水的固體濃度為20~50g/L,其中懸浮固體濃度為15~40 g/L;
a.高溫生物水解預處理:釀酒廢水通過管道進入高溫水解罐1中, 高溫水解罐1中釀酒廢水的溫度被加熱至60~75℃,開啟攪拌器2,使 高溫水解罐1中的釀酒廢水混合均勻,釀酒廢水在高溫水解罐1中停 留時間為3~5天,總固體濃度不變,懸浮固體濃度降低至5~20g/L;
b.厭氧膜生物反應器處理:經過步驟a高溫水解后的釀酒廢水通 過進料泵3進入到厭氧膜生物反應器4中,在50℃~60℃溫度范圍內被 快速發酵;膜通量設定為5~10L/m2h,水力停留時間10~20天,固體停 留時間20~40天;在發酵過程中,生成的甲烷和二氧化碳氣體,通過 厭氧膜生物反應器4頂部設置的排氣孔5經管道,一部分被集氣袋6 收集,另一部分通過氣體循環泵7輸送回厭氧膜生物反應器4底部設 置的曝氣管8;甲烷和二氧化碳氣體從曝氣管8中曝出,并沿膜9與導 流板10所形成的通道向上運動,過程中使膜9和導流板10上不粘附 固體;
c.廢水排出:經過步驟b厭氧膜生物反應器處理后釀酒廢水,其 中一部分廢水在排水泵11的作用下,經過膜9和集水管12后排放, 另一部分廢水直接通過排料泵13直接排出;
d.回流:上述步驟c中由排料泵13排出的廢水中的一部分通過回 流管14回流至高溫水解罐1中,調節高溫水解罐1內的pH為5.0~6.5。
經過此流程處理的啤酒廢水中有機物的70~90%被降解轉化為甲 烷,廢水在厭氧膜生物反應器中的停留時間為10~20天,單位容積反 應器處理能力比常規方法提高40~60%。







