申請日2015.07.07
公開(公告)日2015.11.25
IPC分類號C02F9/02
摘要
本實用新型公開了環保節能型家用無廢水純水機,一級、二級、三級過濾器、進水電磁閥、增壓水泵和RO反滲透膜過濾器依次連接,RO反滲透膜過濾器的純水出水口連接純水單向閥、高壓開關和純水出水通道,純水出水通道連接純水壓力桶和后置活性炭過濾器,后置活性炭過濾器出水口連接一體式雙出水龍頭,RO反滲透膜過濾器的濃水出水口連接濃水單向閥、廢水沖洗閥和濃水管,濃水管通過濃水回流三通球閥連接軟管至冷水龍頭,濃水回流三通球閥串聯進水三通球閥。本實用新型設置了冷水龍頭和一體式雙出水龍頭,讓濃水得到有效的利用,使得整個水處理過程中無濃水直接排入下水道,保證環保節能。
權利要求書
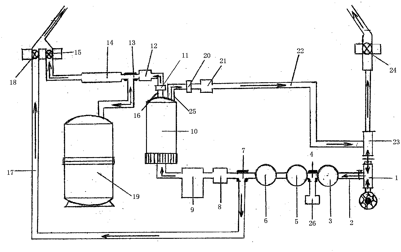
1.環保節能型家用無廢水純水機,其特征是:該純水機包括進水三通球閥(1)、一級PP棉過濾器(3)、二級顆粒活性炭過濾器(5)、三級精密活性炭過濾器(6)、增壓水泵(9)、RO反滲透膜過濾器(10)、后置活性炭過濾器(14)、純水壓力桶(19)、濃水回流三通球閥(23)、一體式雙出水龍頭上的純水開關(15)和凈水開關(18);自來水原水的進水三通球閥(1)連接進水管(2),進水管(2)依次連接一級PP棉過濾器(3)、三通(4)、二級顆粒活性炭過濾器(5)和三級精密活性炭過濾器(6),三級精密活性炭過濾器(6)通過分水三通(7)連接進水電磁閥(8),進水電磁閥(8)經增壓水泵(9)連接RO反滲透膜過濾器(10),RO反滲透膜過濾器(10)設有純水出口和濃水出口,純水出口通過純水單向閥(11)和高壓開關(12)連接純水出水通道(13),純水出水通道(13)連接后置的活性炭過濾器(14)和純水壓力桶(19),活性炭過濾器(14)的出口連接一體式雙出水龍頭由純水開關(15)控制出水口(16)出水,濃水出口通過濃水單向閥(20)和廢水沖洗閥(21)連接濃水管(22),濃水管(22)經濃水回流三通球閥(23)的一端通過軟管連接冷水龍頭由冷水開關(24)控制冷水出水口(25)出水,濃水回流三通球閥(23)的另一端串聯進水三通球閥(1),三通(4)的一個出水口連接低壓開關(26),分水三通(7)的一個出水口連接凈水管(17)至一體式雙出水龍頭由凈水開關(18)控制出水口(16)出水,整體構成環保節能型家用無廢水純水機。
說明書
環保節能型家用無廢水純水機
技術領域
本實用新型涉及一種環保節能型家用無廢水純水機,尤其是適用于每分鐘產水量小于0.3升的家用小流量純水機。
背景技術
眾所周知,家用純水機采用反滲透技術,反滲透技術制取純凈水的同時,都會產生濃水,濃水如直接排入下水道,就會造成寶貴水資源的浪費。
為了合理利用這些濃水,實用新型2006200619065將濃水回流到純水機進水管循環使用,由于濃水一直循環使用會導致RO反滲透膜進水水質硬度升高很多,從而降低了RO反滲透膜的使用壽命;實用新型2010205738616將濃水回流到增壓水泵進水口循環使用,并另加一個樹脂軟化過濾器來降低回流濃水的水質硬度,這不僅增加的純水機的制造成本,同時也增加了用戶以后更換樹脂軟化濾芯的使用成本;實用新型2010202982473將濃水只回流到自來水管道中,由于家庭廚房絕大多數只接有一根自來水水管,濃水回流到自來水管后冷水龍頭開關關閉時還是要流進純水機的進水管的,循環使用后濃水水質硬度升高很多,就會縮短RO反滲透膜的使用壽命;實用新型2014203299218使用兩個儲水罐分別儲存濃水和純水,另加一個儲水罐,不僅增加了純水機的制造成本,而且由于多了一個儲水罐占用了用戶原本就不大的廚房空間;實用新型2014203531703使用了一個兩腔儲水罐分別儲存濃水和純水,會因濃水壓力達到限值而導致增壓水泵停止工作,從而影響純水的制水效率。
發明內容
本實用新型的目的是:提供一種環保節能型家用無廢水純水機,結構簡單,使用方便,能合理利用濃水而不向下水道排放廢水。
本實用新型解決其技術問題的技術方案是:該純水機包括進水三通球閥、一級PP棉過濾器、二級顆粒活性炭過濾器、三級精密活性炭過濾器、增壓水泵、RO反滲透膜過濾器、后置活性炭過濾器、純水壓力桶、濃水回流三通球閥和一體式雙出水龍頭;自來水原水進水三通球閥連接進水管,進水管依次連接一級PP棉過濾器、三通、二級顆粒活性炭過濾器和三級精密活性炭過濾器,三級精密活性炭過濾器通過分水三通連接進水電磁閥,進水電磁閥經增壓水泵連接RO反滲透膜過濾器,RO反滲透膜過濾器設純水出口和濃水出口,純水出口通過純水單向閥和高壓開關連接純水出水通道,純水出水通道分別連接后置活性炭過濾器和純水壓力桶,后置活性炭過濾器的出水口連接一體式雙出水龍頭由純水開關控制出水,濃水出口通過濃水單向閥和廢水沖洗閥連接濃水管,濃水管連接濃水回流三通球閥,濃水回流三通球閥的一端通過軟管連接冷水龍頭由冷水開關控制出水,濃水回流三通球閥的另一端串聯進水三通球閥,三通的一個出水口連接低壓開關,分水三通的一個出水口經凈水管連接一體式雙出水龍頭由凈水開關控制出水,整體構成環保節能型家用無廢水純水機。
當純水機增壓水泵工作時,自來水原水經過進水三通球閥到一級PP棉過濾器過濾大顆粒物體及肉眼可見物,再經過二級顆粒活性炭過濾器進行吸附余氯和異味等有害物質,然后再經過三級精密活性炭過濾器進一步吸附余氯和異味等有害物質,之后經分水三通經進水電磁閥送入增壓水泵,經過增壓水泵將水壓升高后進入RO反滲透膜過濾器過濾,RO反滲透膜過濾器過濾后有純水出口和濃水出口;純水出口出來純水,純水經過純水單向閥及高壓開關連接純水出水通道,純水單向閥是防止純水回流到RO反滲透膜過濾器中,純水出水通道連接后置活性炭過濾器和純水壓力桶,純水壓力桶將純水儲存起來,純水壓力桶中的水滿了以后,由于壓力較大則高壓開關斷開,純水不再向純水壓力桶儲水,則增壓水泵停止工作,后置活性炭過濾器改善口感后經一體式雙出水龍頭由純水開關控制出水口出水;濃水出水口出來濃水,濃水經過濃水單向閥及廢水沖洗閥到濃水管,濃水單向閥是防止濃水回流到RO反滲透膜過濾器中,濃水經濃水管流到濃水回流三通球閥再通過軟管流到冷水龍頭由冷水開關控制冷水出水口放出濃水;當冷水開關關閉時,濃水通過與濃水三通球閥串聯的進水三通球閥回流到純水機的進水管循環使用,濃水從分水三通流到凈水管流到一體式雙出水龍頭由凈水開關控制出水口放出;當純水機的增壓水泵停止工作時,自來水原水經過三級過濾器后,從分水三通流到凈水管流到一體式雙出水龍頭,由凈水開關控制也能把儲存在前三級過濾器中的濃水隨自來水從出水口一并放出;一級PP棉過濾器出水口連接低壓開關,當進水壓力不足時,能使增壓水泵停止工作,以此保護增壓水泵。
本實用新型的優點在于:濃水經濃水單向閥和廢水沖洗閥回流到自來水管道中,一是經由冷水龍頭放出供廚房洗刷用,二是經由一體式雙出水龍頭的凈水開關控制放出供廚房使用,這樣就降低了因濃水回流而升高的純水機RO反滲透膜過濾器進水的水質硬度,不僅保證了RO反滲透膜的正常使用壽命,而且使得整個水處理過程中無廢水直接排入下水道,濃水都得到了有效的利用,從而節約了寶貴的水資源,保證了環保節能無廢水。







