申請日2015.07.10
公開(公告)日2015.09.30
IPC分類號C02F9/06
摘要
本發明公開了一種化工污水處理方法,將化工污水通入設置有粗格柵和細格柵的格柵池,將化工污水中的固體顆粒物分離出來,將經過分離的化工污水通入物理吸附反應釜;在物理吸附反應釜中設置活性炭過濾層,使污水通過活性炭過濾層,由活性炭過濾層吸附化工污水中的細小顆粒物;在污水中加入石灰凝絮劑,使石灰凝絮劑與化工污水充分混合,并進行過濾操作,將污水中的凝絮過濾并收集,將經過過濾的化工污水通入電解池,對污水進行電解,通入硫酸鈉,使化工污水中的金屬離子發生還原作用;將污水中加入石灰凝絮劑,使其中的金屬離子氧化沉淀。能夠實現對化工污水的深度處理,結構簡單,容易實施,并且能夠最大化簡化設備,實現污水中的重金屬的處理。
權利要求書
1.一種化工污水處理方法,其特征在于:包括以下步驟:
S1:去除固體顆粒雜質:將化工污水通入設置有粗格柵和細格柵的格柵池,將化工污水中的固體顆粒物分離出來,所述的粗格柵和細格柵均與地面成30—45°角,將經過分離的化工污水通入物理吸附反應釜;
S2:去除細小顆粒物:在物理吸附反應釜中設置活性炭過濾層,使經步驟S1處理的化工污水通過活性炭過濾層,由活性炭過濾層吸附化工污水中的細小顆粒物;
S3:在步驟S2中輸出的化工污水中加入石灰凝絮劑,對其進行攪拌,使石灰凝絮劑與化工污水充分混合,并進行過濾操作,將化工污水中的凝絮過濾并收集,將經過過濾的化工污水通入電解池,對污水進行電解,同時通入硫酸鈉,使化工污水中的金屬離子發生還原作用;
S4:將步驟S3產生的污水中加入石灰凝絮劑,使其中的金屬離子氧化沉淀,并對沉淀物進行分離,將經分離的污水排出并集中收集。
2.根據權利要求1所述的一種化工污水處理方法,其特征在于:所述的物理吸附反應釜中設置有加熱裝置 ,在完成化工污水處理之后,在物理吸附反應釜中加入清水,啟動加熱裝置,對物理吸附反應釜中的活性炭過濾層進行加熱處理。
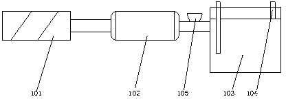
3.一種化工污水處理裝置,其特征在于:包括格柵池(101),在所述格柵池(101)內依次設置有粗格柵和細格柵,所述格柵池(101)輸出口與物理吸附反應釜(102)輸入口相連接,所述物理吸附反應釜(102)輸出口與電解池(103)相連接,所述電解池(103)的輸出口設置有蓄水池;
所述的格柵池(101)內設置有孔徑為0.25-1mm的細格柵和孔徑為1-1.5mm的粗格柵,所述的粗格柵位于靠近所述格柵池(101)輸入口一端,所述的粗格柵和細格柵均能夠相對所述格柵池(101)側壁滑動;
在所述物理吸附反應釜(102)內設置有活性炭過濾層,所述的活性炭過濾層為沿物理吸附反應釜(102)軸向均勻間隔設置的3個;
在所述電解池(103)內設置有電極(104),所述的電解池(103)的輸出端與蓄水池相連接。
4.根據權利要求3所述的一種化工污水處理裝置,其特征在于:在所述物理吸附反應釜(102)與電解池(103)之間設置有催化劑加料口(105),所述的物理吸附反應釜(102)輸出端設置有細格柵。
5.根據權利要求3或4所述的一種化工污水處理裝置,其特征在于:所述的電解池(103)內設只有離子交換膜,所述的電極陽極位于所述電解池(103)離子交換膜陰離子一側,所述的電極陰極位于所述電解池(103)離子交換膜陽離子一側。
6.根據權利要求3或4所述的一種化工污水處理裝置,其特征在于:在所述格柵池(101)側壁上設置有滑槽,在所述粗格柵和細格柵側壁上設置有能夠嵌入滑槽的滑塊,所述的滑槽與地面呈30—45°角設置。
說明書
一種化工污水處理方法及處理裝置
技術領域
本發明涉及一種化工污水處理方法及處理裝置。
背景技術
化工污水中常常含有大量的金屬粒子,將其直接進行排放容易造成重金屬污染。現有的化工污水通常通過排放到污水處理廠進行深度處理,污水輸送過程中,需要采用大量管道設備,并且,一旦發生泄漏,會造成很難恢復的污染。
發明內容
本發明的目的在于提供一種化工污水處理方法及處理裝置,能夠實現對化工污水的深度處理,結構簡單,容易實施,并且能夠最大化簡化設備,實現污水中的重金屬的處理。
本發明通過以下技術方案實現:
一種化工污水處理方法,包括以下步驟:
S1:去除固體顆粒雜質:將化工污水通入設置有粗格柵和細格柵的格柵池,將化工污水中的固體顆粒物分離出來,所述的粗格柵和細格柵均與地面成30—45°角,將經過分離的化工污水通入物理吸附反應釜;
S2:去除細小顆粒物:在物理吸附反應釜中設置活性炭過濾層,使經步驟S1處理的化工污水通過活性炭過濾層,由活性炭過濾層吸附化工污水中的細小顆粒物;
S3:在步驟S2中輸出的化工污水中加入石灰凝絮劑,對其進行攪拌,使石灰凝絮劑與化工污水充分混合,并進行過濾操作,將化工污水中的凝絮過濾并收集,將經過過濾的化工污水通入電解池,對污水進行電解,同時通入硫酸鈉,使化工污水中的金屬離子發生還原作用;
S4:將步驟S3產生的污水中加入石灰凝絮劑,使其中的金屬離子氧化沉淀,并對沉淀物進行分離,將經分離的污水排出并集中收集。
本發明通過采用物理處理和化學處理的方式,實現對化工污水中固體雜質和化學雜質的處理,通過采用石灰凝絮的方式和電解除金屬離子的方式,實現對金屬離子的兩次處理,提高對金屬離子的去除效率,使得經分離的污水處理效率更高。
進一步地,為更好地實現本發明,所述的物理吸附反應釜中設置有加熱裝置 ,在完成化工污水處理之后,在物理吸附反應釜中加入清水,啟動加熱裝置,對物理吸附反應釜中的活性炭過濾層進行加熱處理。
一種化工污水處理裝置,包括格柵,在所述格柵池內依次設置有粗格柵和細格柵,所述格柵池輸出口與物理吸附反應釜輸入口相連接,所述物理吸附反應釜輸出口與電解池相連接,所述電解池的輸出口設置有蓄水池;
所述的格柵池內設置有孔徑為0.25-1mm的細格柵和孔徑為1-1.5mm的粗格柵,所述的粗格柵位于靠近所述格柵池輸入口一端,所述的粗格柵和細格柵均能夠相對所述格柵池側壁滑動;
在所述物理吸附反應釜內設置有活性炭過濾層,所述的活性炭過濾層為沿物理吸附反應釜軸向均勻間隔設置的3個;
在所述電解池內設置有電極,所述的電解池的輸出端與蓄水池相連接。
本發明通過設置格柵池和物理吸附反應釜對污水進行物理除雜質操作,方便后續除金屬離子操作,能夠提高操作效率,同時,避免雜質影響電解操作;通過設置電解池對金屬離子進行電解氧化還原操作,能夠實現對污水的處理,同時,可以方便將設備簡化,使得設備能夠用于小型化工設備的使用。
進一步地,為更好地實現本發明,在所述物理吸附反應釜與電解池之間設置有催化劑加料口,所述的物理吸附反應釜輸出端設置有細格柵。
進一步地,為更好地實現本發明,所述的電解池內設只有離子交換膜,所述的電極陽極位于所述電解池離子交換膜陰離子一側,所述的電極陰極位于所述電解池離子交換膜陽離子一側。
進一步地,為更好地實現本發明,在所述格柵池側壁上設置有滑槽,在所述粗格柵和細格柵側壁上設置有能夠嵌入滑槽的滑塊,所述的滑槽與地面呈30—45°角設置。







