申請日2016.05.16
公開(公告)日2016.07.20
IPC分類號C02F9/04
摘要
本發明公開了一種微污染水處理設備,包括進水泵、管道式混合器、液體流量計、藥劑存儲裝置、計量泵、反應裝置、初級過濾裝置和膜過濾組件;本發明還提供了利用該微污染水處理設備處理水的方法。本發明微污染水處理設備結構簡單緊湊、占地面積小、使用方便、成本低廉、運行管理方便,利用混凝/絮凝、兩級過濾、臭氧氧化作用有效處理水中的污染物和細菌病毒,實現較好的凈化水質的效果,處理效果好、處理效率高。
權利要求書
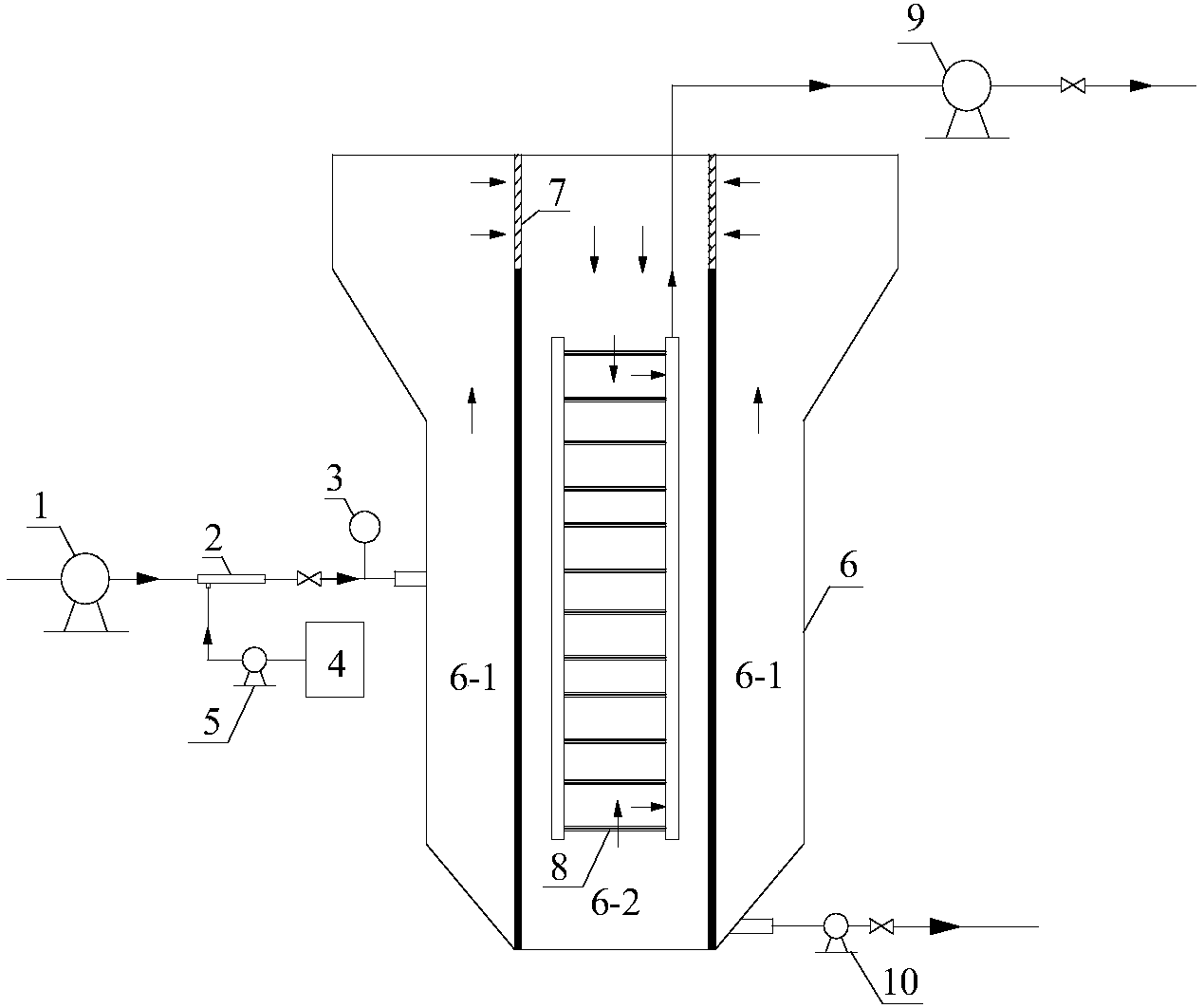
1.一種微污染水處理設備,其特征在于,進水泵(1)、管道式混合器(2)、液體流量計(3)、藥劑存儲裝置(4)、計量泵(5)、反應裝置(6)、初級過濾裝置(7)和膜過濾組件(8);
所述反應裝置(6)內部設有初級過濾裝置(7),其兩端分別密封連接反應裝置(6)的頂部和底部,從而將反應裝置(6)分割為內外兩層,外層(6-1)為混凝沉淀區,設有側壁進水口和底部排污口,內層(6-2)為膜過濾區,頂部設有出水管路;初級過濾裝置(7)上部為多孔濾網,下部為隔水環形板,內部設有膜過濾組件(8),其內部與上述出水管路相連通;
所述側壁進水口外部依次連接有液體流量計(3)、管道式混合器(2)和進水泵(1),管道式混合器(2)進液端還依次連接有計量泵(5)和藥劑存儲裝置(4)。
2.根據權利要求1所述的微污染水處理設備,其特征在于,所述底部排污口連接有排污泵(10);所述出水管路連接有出水泵(9),出水泵(9)能作為膜過濾組件(8)的抽濾泵,提高出水效率,也能作為膜過濾組件(8)和初級過濾裝置(7)的反沖洗泵。
3.根據權利要求1所述的微污染水處理設備,其特征在于,所述初級過濾裝置(7)底部還設有多孔曝氣板(16),并且下方設有底部進氣口,進氣口外依次連接有止回閥(15)、氣體流量計(14)、臭氧濃度監測儀(13)、臭氧發生器(12)和氣體干燥器(11);反應裝置(6)的外層(6-1)頂部還設有頂部出氣口,出氣口外依次連接有排氣閥(17)和臭氧尾氣破壞器(18)。
4.根據權利要求1所述的微污染水處理設備,其特征在于,還包括第一壓力傳感器(19)、第二壓力傳感器(20)、沉積物液位傳感器(21)和自控單元(22);所述第一壓力傳感器(19)設于反應裝置(6)上端側壁內,所述第二壓力傳感器(20)設于出水管路上,沉積物液位傳感器(21)設于反應裝置(6)下端側壁內;所述自控單元(22)能接收所連接各部件的信號,然后再輸出控制信號,從而控制整個設備的進水、出水、計量、排污或者氣體產生輸送。
5.根據權利要求1所述的微污染水處理設備,其特征在于,所述反應裝置(6)中部和頂部為圓筒形,底部為漸縮結構,中部和頂部之間漸擴結構;初級過濾裝置(7)為圓筒形。
6.根據權利要求1所述的微污染水處理設備,其特征在于,所述藥劑存儲裝置(4)中裝有混凝劑、絮凝劑和/或助凝劑,能通過計量泵(5)送至管道式混合器(2)與進水泵(1)進來的水體混合。
7.根據權利要求1所述的微污染水處理設備,其特征在于,所述初級過濾裝置(7)上部的多孔濾網為不銹鋼或鈦過濾網,過濾精度0.02-2毫米;所述膜過濾組件(8)為陶瓷膜或中空纖維膜,過濾精度為微濾、超濾或納濾。
8.利用權利要求1至7任一項所述的微污染水處理設備處理水的方法,其特征在于,包括以下步驟:
(a)通過進水泵(1)將待處理水體泵入反應裝置(6),并在進水管路中投加藥劑;
(b)水體在反應裝置外層(6-1)進行混凝、絮凝得到初步凈化后,通過初級過濾裝置(7)上部的多孔濾網進一步過濾后得初級凈化水,進入反應裝置內層(6-2);
(c)在反應裝置內層(6-2),水體在臭氧氧化和膜過濾的同步作用下,從出水管路排出,即得凈化水。
說明書
一種微污染水處理設備及利用其處理水的方法
技術領域
本發明屬于水處理設備領域,特別涉及一種微污染水處理設備,還涉及利用該設備進行水處理的方法。
背景技術
隨著現代工業的不斷發展,水污染對環境的影響越來越嚴重,直接威脅著人類的健康和生態安全。傳統的水處理方法由于受水質影響,往往很難達到滿意的效果,并且能耗高、體積大,降解不完全,甚至會造成二次污染。因此,體積小、效率高、操作簡便的一體化處理設備和技術一直是國內外水處理工作中的一個難點和研究熱點。
對水體進行過濾處理操作簡便,無污染。然而,由于受水中雜質含量和種類等影響,單一方法的過濾往往效果較差,且濾網易堵塞,清污繁瑣,不能進行連續流處理。混凝是一種高效的水處理技術,通過壓縮雙電層、吸附架橋、沉淀物的網捕等作用凈化水體,常作為水處理過程中的預處理。臭氧是國際公認的綠色環保型氧化劑,兼具污染物去除和消毒作用。臭氧和膜技術聯用時可提高膜通量,協同去除水中污染物。
現有的水處理常通過構建串聯式構筑物,實現不同工藝的組合應用,但占地大,運行管理繁瑣。因此,尋求建立一種可以在常溫常壓下進行,高效、廣譜的水處理技術,并設計出一體化的反應裝置簡化工藝并縮小體積是有效解決水處理難題及推動技術能夠實際應用的關鍵。
發明內容
發明目的:本發明的目的是提供了一種效率高、體積小、成本低的微污染水處理設備以及利用該設備進行水處理的方法。
技術方案:本發明提供了一種微污染水處理設備,包括進水泵、管道式混合器、液體流量計、藥劑存儲裝置、計量泵、反應裝置、初級過濾裝置和膜過濾組件;
所述反應裝置內部設有初級過濾裝置,其兩端分別密封連接反應裝置的頂部和底部,從而將反應裝置分割為內外兩層,外層為混凝沉淀區,設有側壁進水口和底部排污口,內層為膜過濾區,頂部設有出水管路;初級過濾裝置上部為多孔濾網,下部為隔水環形板,內部設有膜過濾組件,其內部與上述出水管路相連通;
所述側壁進水口外部依次連接有液體流量計、管道式混合器和進水泵,管道式混合器進液端還依次連接有計量泵和藥劑存儲裝置。
設備通過進水泵將待處理原水送至反應裝置;同步的,藥劑存儲裝置內存儲的藥劑通過計量泵投加至進水管路中。在反應裝置的外層反應區內,水體在混凝/絮凝等作用下得到初步處理后,通過初級過濾裝置進一步凈化后進入內層膜過濾區間。水體經膜過濾后從出水管路排出,即得到凈化水,而混凝/絮凝后沉降至底部的沉積物通過底部排污口外排。其中,藥劑投加至進水管路可通過進水混合泵或管道式混合器。
作為改進,所述底部排污口連接有排污泵;所述出水管路連接有出水泵,出水泵能作為膜過濾組件的抽濾泵,提高出水效率,也能作為膜過濾組件和初級過濾裝置的反沖洗泵。
作為另一種改進,所述初級過濾裝置底部還設有多孔曝氣板,并且下方設有底部進氣口,進氣口外依次連接有止回閥、氣體流量計、臭氧濃度監測儀、臭氧發生器和氣體干燥器;反應裝置的外層頂部還設有頂部出氣口,出氣口外依次連接有排氣閥和臭氧尾氣破壞器。
通入所述氣體干燥器的氣體可為空氣或氧氣。臭氧化氣體可促進污染物的降解,并具有消毒殺菌作用,可顯著提高膜通量,防止膜組件堵塞。同時,利用氣、液密度差,氣泡在上升過程中反向通過初級過濾裝置后經反應裝置外層頂部排氣閥排出,在此過程中使初級過濾裝置得到類似反沖洗作用,防止其堵塞。
作為另一種改進,還包括第一壓力傳感器、第二壓力傳感器、沉積物液位傳感器和自控單元;所述第一壓力傳感器設于反應裝置上端側壁內,所述第二壓力傳感器設于出水管路上,沉積物液位傳感器設于反應裝置下端側壁內;所述自控單元能接收所連接各部件的信號,然后再輸出控制信號,從而控制整個設備的進水、出水、計量、排污或者氣體產生輸送。
所述自控單元可以分別與進水泵、出水泵、計量泵、排污泵、第一壓力傳感器、第二壓力傳感器、沉積物液位傳感器、臭氧發生器、臭氧濃度監測儀等連接;所述第一壓力傳感器、第二壓力傳感器、沉積物液位傳感器、臭氧濃度監測儀等輸出檢測信號至自控單元,所述自控單元輸出控制信號至進水泵、出水泵、計量泵、排污泵以及臭氧發生器。自控單元可根據需要設置參數,在第一壓力傳感器和第二壓力傳感器之間壓差達到設定值或者設備運行設定時間后自動啟動反沖洗程序。自控單元可進行軟件編程,信號采集,信號分析,模擬計算,自動調控,錯誤報警,數據記錄等功能,從而實現參數設定、調節、故障反饋、報警與記錄等功能的智能化操作,提高了該設備的實用性。
作為優選,所述反應裝置中部和頂部為圓筒形,底部為漸縮結構,中部和頂部之間漸擴結構;初級過濾裝置為圓筒形。
所述反應裝置中部和頂部為圓筒形,利于反應體系的均勻,并減小占地面積。反應裝置底部為漸縮結構,利于混凝/絮凝體的沉降和存儲。反應裝置中部和頂部之間漸擴結構,利用漸擴結構使反應液上升速率降低,在該區間混凝/絮凝體能夠和水體進行有效分離。
作為另一種優選,所述藥劑存儲裝置中裝有混凝劑、絮凝劑和/或助凝劑,能通過計量泵送至管道式混合器與進水泵進來的水體混合。
作為另一種優選,所述初級過濾裝置上部的多孔濾網為不銹鋼或鈦過濾網,過濾精度0.02-2毫米;所述膜過濾組件為陶瓷膜或中空纖維膜,過濾精度為微濾、超濾或納濾等。
本發明還提供了利用所述微污染水處理設備處理水的方法,包括以下步驟:
(a)通過進水泵將待處理水體泵入反應裝置,并在進水管路中投加藥劑;
(b)水體在反應裝置外層進行混凝、絮凝得到初步凈化后,通過初級過濾裝置上部的多孔濾網進一步過濾后得初級凈化水,進入反應裝置內層;
(c)在反應裝置內層,水體在臭氧氧化和膜過濾的同步作用下,從出水管路排出,即得凈化水。
技術效果:本發明提供的一種微污染水處理設備結構簡單緊湊、占地面積小、使用方便、成本低廉、運行管理方便,利用混凝/絮凝、兩級過濾、臭氧氧化作用有效處理水中的污染物和細菌病毒,實現較好的凈化水質的效果,處理效果好、處理效率高。
本發明與現有技術相比,具有如下有益效果:
一、利用特殊的流程和反應器結構設置,使藥劑和水體能夠充分混合和后續分離,避免了混凝攪拌裝置的設置,并縮減了水力停留時間,節省了投資,減小了設備體積和占地面積。
二、可在同一反應裝置內實現混凝/絮凝分離、兩級過濾,臭氧氧化等多種水處理過程,使反應器結構緊湊,提高處理效果的同時顯著縮小反應器體積,使反應裝置安裝、使用更方便。
三、利用工藝的合理選擇和特殊的反應裝置結構設計,使不同技術之間互補、協同,顯著提高處理效果,實現單一工藝或一般工藝難以達到的水處理效果,降低處理成本,對水體凈化徹底,避免產生二次污染,環保可靠,具有廣闊的市場前景。
四、通過自控單元與各部件相連接以及傳感器數據反饋,可實現處理過程的全自動、智能化控制。
本發明提供的水處理方法工藝簡單、處理效率高,能夠有效、經濟、環保、一體化的通過混凝/絮凝分離、兩級過濾、臭氧氧化進行水處理。該“一體化”即在同一反應區間實現各工藝的協同耦合作用,使其互補互促,克服各自單一作用時的缺點,顯著提高處理效果并降低能耗,優化反應器結構,縮小占地面積。



