申請日2016.07.20
公開(公告)日2017.01.04
IPC分類號C02F11/12
摘要
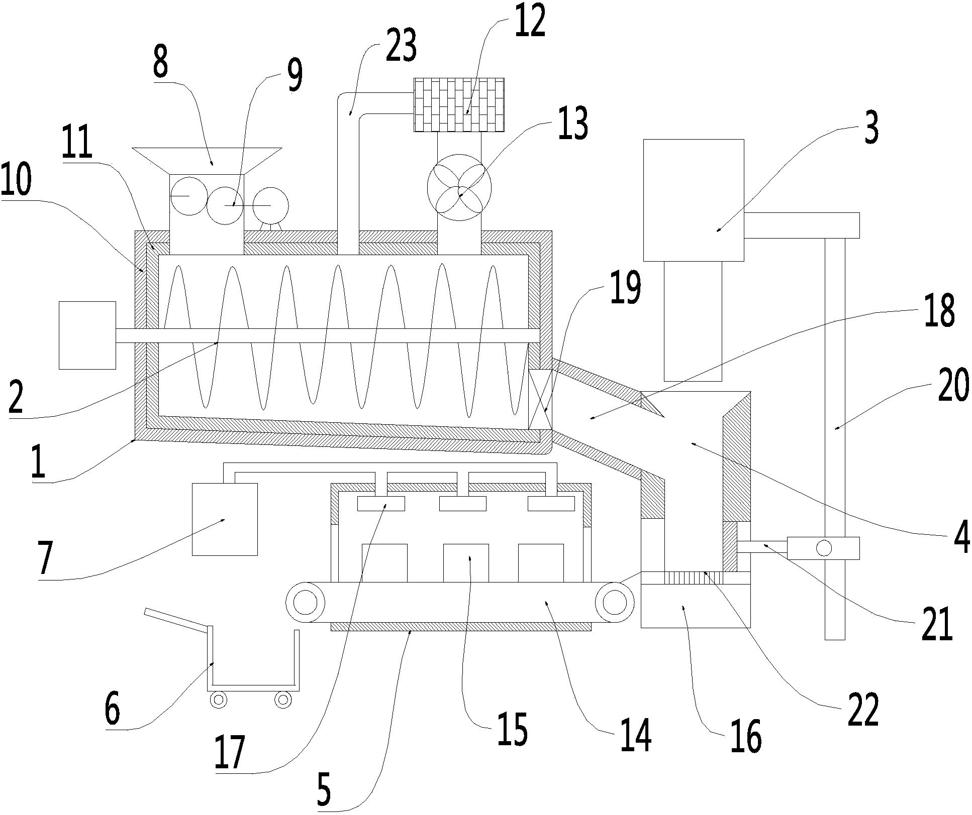
本實用新型公開了一種高效環保污泥烘干成型設備,包括攪拌室、成型液壓柱、成型腔、烘干室和滑道,攪拌室的內部上設有保溫層和加熱層,攪拌室頂部設有污泥入口,污泥入口的內部設有粉碎裝置,攪拌室的頂部還設有通風管,通風管的兩端均與攪拌室內部連通,通風管上還設有干燥裝置和排濕風機,攪拌室的內部橫向設有螺旋攪拌裝置,攪拌室的右下方通過滑道與成型腔連通,成型腔的底部設有集水箱,成型腔的底部右側還設有液壓推桿,成型腔的上方設有成型液壓柱,成型腔的左側設有烘干室。本實用新型布局簡單合理,烘干效率高,且烘干過程環保,同時可將污泥壓鑄成塊,具有很高的實用性。
權利要求書
1.一種高效環保污泥烘干成型設備,包括攪拌室、螺旋攪拌裝置、成型液壓柱、成型腔、烘干室、高溫高壓風機、傳送帶、滑道和過濾板,其特征在于,所述攪拌室的內部上設有保溫層和加熱層;所述攪拌室頂部設有污泥入口,污泥入口的內部設有粉碎裝置;所述攪拌室的頂部還設有通風管,通風管的兩端均與攪拌室內部連通;所述通風管上還設有干燥裝置和排濕風機;所述攪拌室的內部橫向設有螺旋攪拌裝置;所述攪拌室的右下方通過滑道與成型腔連通,其中攪拌室與滑道的連通處設有閥門;所述成型腔的底部設有集水箱,成型腔與集水箱之間設有過濾板;所述成型腔的底部右側還設有液壓推桿,液壓推桿的另一端架設在立柱上;所述成型腔的上方設有成型液壓柱,成型液壓柱安裝在立柱的頂部;所述成型腔的左側設有烘干室,烘干室的內部設有傳送帶;所述傳送帶的左側還設有手推車。
2.根據權利要求1所述的一種高效環保污泥烘干成型設備,其特征在于,所述螺旋攪拌裝置包括正反轉驅動電機、轉動軸和螺旋攪拌槳。
3.根據權利要求1所述的一種高效環保污泥烘干成型設備,其特征在于,所述攪拌室的底部為左高右低的傾斜設置,傾斜角度為5°~10°。
4.根據權利要求1所述的一種高效環保污泥烘干成型設備,其特征在于,所述烘干室的頂部還設有三個出風口,三個出風口的另一端均與高溫高壓風機通過管道相連通。
說明書
一種高效環保污泥烘干成型設備
技術領域
本實用新型涉及污泥烘干設備領域,具體是一種高效環保污泥烘干成型設備。
背景技術
污泥是污水處理廠以及污水站污水處理后的必然產物,未經過很好處理處置的污泥進入環境后,將會直接給水體和大氣帶來二次污染,對生態環境和人類的活動也將構成了嚴重的威脅。以前一般將污泥直接外出外側,給環境帶來嚴重的影響,為了降低污泥給環境的帶來的影響,污泥脫水操作出現了,現今一般是利用板框式污泥脫水機、帶式污泥脫水機、離心式污泥脫水機、疊氏污泥脫水機等設備進行污泥操作,但是污泥脫水不徹底,污水會隨污泥排出環境中,同樣會給環境產生影響,而且現今的污泥脫水機不對脫出的水進行處理,需要后期在進行處理,操作麻煩。同時,烘干成型的污泥塊具有較高的硬度,方便堆放,亦可用于其他方面。
實用新型內容
本實用新型的目的在于提供一種高效環保污泥烘干成型設備,以解決上述背景技術中提出的問題。
為實現上述目的,本實用新型提供如下技術方案:
一種高效環保污泥烘干成型設備,包括攪拌室、螺旋攪拌裝置、成型液壓柱、成型腔、烘干室、高溫高壓風機、傳送帶、滑道和過濾板,所述攪拌室的內部上設有保溫層和加熱層;所述攪拌室頂部設有污泥入口,污泥入口的內部設有粉碎裝置;所述攪拌室的頂部還設有通風管,通風管的兩端均與攪拌室內部連通;所述通風管上還設有干燥裝置和排濕風機;所述攪拌室的內部橫向設有螺旋攪拌裝置;所述攪拌室的右下方通過滑道與成型腔連通,其中攪拌室與滑道的連通處設有閥門;所述成型腔的底部設有集水箱,成型腔與集水箱之間設有過濾板;所述成型腔的底部右側還設有液壓推桿,液壓推桿的另一端架設在立柱上;所述成型腔的上方設有成型液壓柱,成型液壓柱安裝在立柱的頂部;所述成型腔的左側設有烘干室,烘干室的內部設有傳送帶;所述傳送帶的左側還設有手推車。
作為本實用新型進一步的方案:所述螺旋攪拌裝置包括正反轉驅動電機、轉動軸和螺旋攪拌槳。
作為本實用新型進一步的方案:所述攪拌室的底部為左高右低的傾斜設置,傾斜角度為5°~10°。
作為本實用新型進一步的方案:所述烘干室的頂部還設有三個出風口,三個出風口的另一端均與高溫高壓風機通過管道相連通。
與現有技術相比,本實用新型的有益效果是:裝置在使用時,粉碎裝置對污泥進行粉碎,螺旋攪拌裝置對攪拌室內的污泥進行充分的攪拌,使得污泥的受熱更加均勻;攪拌過程中,排濕風機將攪拌室內污泥初步加熱和攪拌過程中帶有濕氣和粉塵的空氣抽出,經過干燥裝置進行除塵和干燥后,帶有余溫的空氣再次進入攪拌室內,提高了熱能的利用率,節能環保;攪拌室內的污泥在初步烘烤和攪拌后,成型液壓柱向下使得成型腔內的污泥成型形成污泥塊;成型腔內成型的污泥塊在烘干室內進行進一步的充分烘烤,烘烤后的污泥塊質地堅硬,便于搬運和存放,亦可作他用。綜上,整個裝置布局簡單合理,烘干效率高,且烘干過程環保,同時可將污泥壓鑄成塊,具有很高的實用性。



