申請日2016.05.17
公開(公告)日2016.12.07
IPC分類號C02F1/02; G01F23/22
摘要
本實用新型公開了一種水處理設備水位探針,所述水處理設備包括熱水箱,電熱管,其特征在于所述熱水箱底部設有一水箱進水口,所述水箱進水口上方設置一隔板,所述電熱管位于隔板上方,所述熱水箱通過水箱連接管與水位檢測管連通,所述水箱連接管與熱水箱的連接口位于隔板下方,水位檢測管內設水位探針。本實用新型可延緩探針腐蝕,結構簡單,安裝方便。可適用水箱控制的水處理設備和開水機使用。
權利要求書
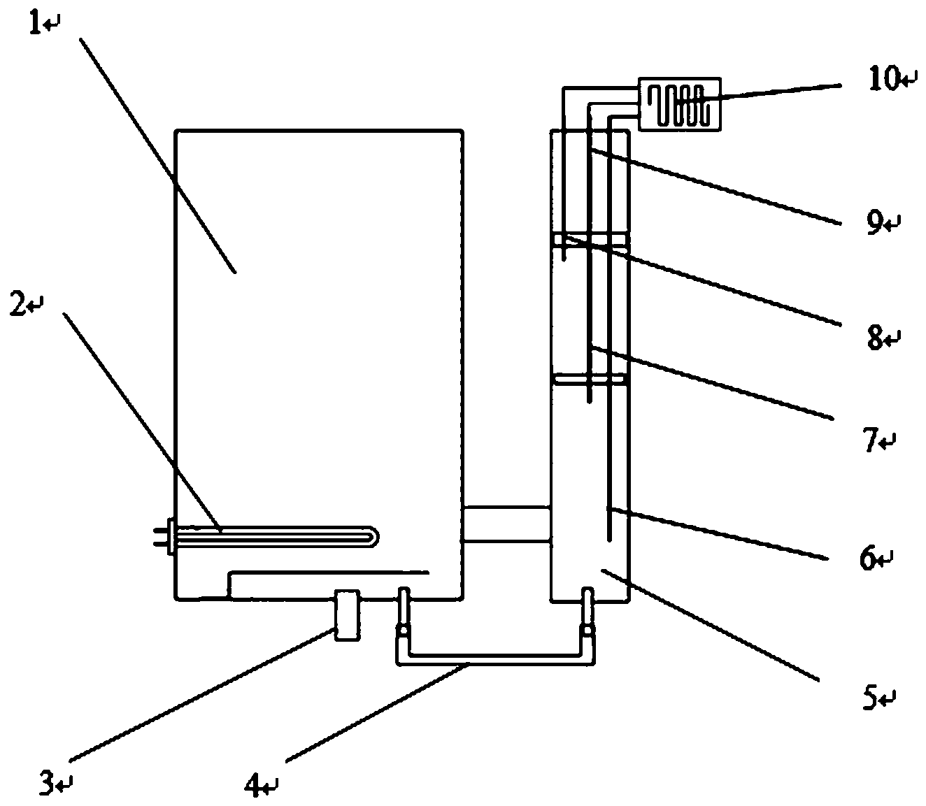
1.一種水處理設備水位探針防腐蝕裝置,所述水處理設備包括熱水箱,電熱管,其特征在于所述熱水箱底部設有一水箱進水口,所述水箱進水口上方設置一隔板,所述電熱管位于隔板上方,所述熱水箱通過水箱連接管與水位檢測管連通,所述水箱連接管與熱水箱的連接口位于隔板下方,水位檢測管內設水位探針。
2.按權利要求1所述的一種水處理設備水位探針,其特征在于水位探針包括固定探針、低水位探針和高水位探針。
3.按權利要求1所述的一種水處理設備水位探針,其特征在于所述水位探針的信號線與信號收發器相連,所述信號收發器發射交流脈沖信號。
4.按權利要求1所述的一種水處理設備水位探針,其特征在于,水箱連接管的管徑為5~8mm。
說明書
一種水處理設備水位探針
技術領域
本實用新型涉及一種水處理設備,具體涉及一種水處理設備水位探針。
背景技術
對水箱的水位控制常見的有以下幾種方式:浮球式、光電式、壓力式和水位探針式。由于浮球式、光電式、壓力式存在成本高,結構復雜,運動部件易發生故障等缺陷,已很少在水處理設備中應用,水位探針式在水處理設備中是最常見的。
水位探針,用于水箱水位檢測。在水處理設備中,水在高溫時汽化,水、汽的耗損較大,要不斷地補充水,使得水箱中的水保持一定的高度。水位探針的用途便是檢測水位的高度,隨時了解水箱內的水位。
水位探針的控制原理是:在水位探針上施加一個控制信號的直流電電壓,以水箱作為陰極,水箱中間懸空的水位探針為陽極,水箱的水位上漲后,水接觸到陽極,水是導電體,這樣陰陽極就成了通路了,水位探針上的電壓產生變化,這種電壓變化就是水位控制信號,該信號通過控制器處理后,對水箱的補充水進行控制。
采用水位探針的控制方式時,由于采用的電極存在陽極、陰極電解腐蝕作用,使得水位探針腐蝕,靈敏度降低,特別是在熱水箱中,水位探針的電解腐蝕和表面結垢更為嚴重,出現水位失控的現象經常發生,對生產水處理設備的企業增加了維護修理的工作量和成本,給水處理設備的用戶帶來不便。
發明內容
本實用新型的目的是克服現有的水處理設備技術不足,提供一種水處理設備水位探針,水位探針表面不易結垢。
本實用新型目的的技術方案是:一種水處理設備水位探針防腐蝕裝置,所述水處理設備包括熱水箱,電熱管,其特征在于所述熱水箱底部設有一水箱進水口,所述水箱進水口上方設置一隔板,所述電熱管位于隔板上方,所述熱水箱通過水箱連接管與水位檢測管連通,所述水箱連接管與熱水箱的連接口位于隔板下方,水位檢測管內設水位探針。
根據本實用新型的優選實施例,水位探針包括固定探針、低水位探針和高水位探針。
根據本實用新型的優選實施例,所述水位探針的信號線與信號收發器相連,所述信號收發器發射交流脈沖信號。
根據本實用新型的優選實施例,水箱連接管的管徑為5~8mm。
本實用新型將熱水箱和水位檢測管用水箱連接管連通在一起,水位檢測管內的水位高度就是熱水箱內的水位高度。補水時,進入水位檢測管內的是補充的冷水,水箱連接管的管徑只有6mm,熱水箱內的少量熱水流入水位檢測管時已經冷卻,所以在水位檢測管內的水溫通常是常溫水,水位探針表面不易結垢,使水位探針的靈敏度不受影響。本實用新型可延緩探針腐蝕,結構簡單,安裝方便。可適用水箱控制的水處理設備和開水機使用。本實用新型采用普通不銹鋼材料SU304鋼針作為探測電極,可用于水處理設備冷水箱和熱水箱中的水位自動控制,維護十分方便,機構簡單、防腐蝕等優點。



