申請日2016.07.20
公開(公告)日2016.12.14
IPC分類號B65G65/42; B65G19/04; B65G65/40
摘要
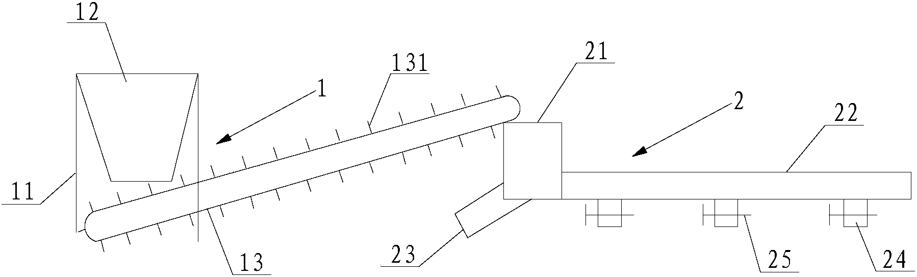
本實用新型涉及一種紡織污泥用輸料組件,它包括:輸料機構,所述輸料機構包括設置于地面上的支撐架、安裝在所述支撐架上的料斗以及一端設置于所述料斗下方的循環傳送帶;所述循環傳送帶上設置有與其相垂直的多個隔板;分料機構,所述分料機構包括設置于所述循環傳送帶另一端下方的承接料箱、與所述承接料箱相連通的分料箱、與所述承接料箱相連通的溢料管以及與所述分料箱相連通且間隔設置的多個出料口。通過采用特定結構的輸料機構和分料機構進行配合,這樣能夠實現污泥的自動化送料和分料,有利于提高生產效率,降低人工成本。
權利要求書
1.一種紡織污泥用輸料組件,其特征在于,它包括:
輸料機構(1),所述輸料機構(1)包括設置于地面上的支撐架(11)、安裝在所述支撐架(11)上的料斗(12)以及一端設置于所述料斗(12)下方的循環傳送帶(13);所述循環傳送帶(13)上設置有與其相垂直的多個隔板(131);
分料機構(2),所述分料機構(2)包括設置于所述循環傳送帶(13)另一端下方的承接料箱(21)、與所述承接料箱(21)相連通的分料箱(22)、與所述承接料箱(21)相連通的溢料管(23)以及與所述分料箱(22)相連通且間隔設置的多個出料口(24)。
2.根據權利要求1所述的紡織污泥用輸料組件,其特征在于:所述溢料管(23)向所述循環傳送帶(13)的方向向下延伸,其與所述分料箱(22)之間形成的夾角為鈍角。
3.根據權利要求1所述的紡織污泥用輸料組件,其特征在于:每個所述出料口(24)上安裝有電磁閥(25)。
4.根據權利要求1所述的紡織污泥用輸料組件,其特征在于:所述出料口(24)為3~5個。
說明書
一種紡織污泥用輸料組件
技術領域
本實用新型涉及一種輸料組件,具體涉及一種紡織污泥用輸料組件。
背景技術
噴水織機是紡織業中常用的一種專用設備,在作業過程中需要有一定的清潔水進行噴射帶動,每臺織機日用水量一般在1.5-2噸之間,所產生的廢水中主要含有油脂、膠狀物、懸浮物、化學漿液、色度、微生物及有機物等,其廢水的濃度約為COD500mg/l,pH約為6.5,SS為420mg/L左右,而且可生化性較差,屬難處理的工業廢水之一,這些廢水在經過處理后會產生一定量的污泥。
隨著污水處理規模的擴大及標準的提高,污泥產生量不斷增加,加之過往積累下來的污泥,中國污泥處理處置成為污水處理領域一個重大問題。從污水處理廠產生的污泥含液率(含水和油的比率)很高,一般>80%,而且含有諸如化學漿液、油脂等有機物。因此需要對這些污泥進行無害化處理,最終達到還田的效果。在對這些污泥進行處理前,需要對其進行預干化處理使得它的液含率由80%以上降低至30%左右。隨后需要將預處理后的污泥輸入下游的設備中進行處理,目前通常使用人工進行加料,導致生產效率低下;而且如果下游的設備中有多臺需要進料的容器,那就需要多個人同時操作,顯然人工成本高。
發明內容
本實用新型目的是為了克服現有技術的不足而提供一種紡織污泥用輸料組件。
為達到上述目的,本實用新型采用的技術方案是:一種紡織污泥用輸料組件,它包括:
輸料機構,所述輸料機構包括設置于地面上的支撐架、安裝在所述支撐架上的料斗以及一端設置于所述料斗下方的循環傳送帶;所述循環傳送帶上設置有與其相垂直的多個隔板;
分料機構,所述分料機構包括設置于所述循環傳送帶另一端下方的承接料箱、與所述承接料箱相連通的分料箱、與所述承接料箱相連通的溢料管以及與所述分料箱相連通且間隔設置的多個出料口。
優化地,所述溢料管向所述循環傳送帶的方向向下延伸,其與所述分料箱之間形成的夾角為鈍角。
優化地,每個所述出料口上安裝有電磁閥。
優化地,所述出料口為3~5個。
由于上述技術方案運用,本實用新型與現有技術相比具有下列優點:本實用新型紡織污泥用輸料組件,通過采用特定結構的輸料機構和分料機構進行配合,這樣能夠實現污泥的自動化送料和分料,有利于提高生產效率,降低人工成本。



