申請日2017.10.10
公開(公告)日2018.01.12
IPC分類號C02F9/02; B01D53/18; B01D53/14; C02F103/16; C02F103/18
摘要
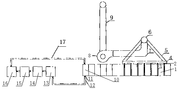
本發明公開了一種鍍鎳廢水處理和酸霧排放系統,本技術方案有酸霧排放系統和鍍鎳廢水處理系統構成,所述酸霧排放系統是由酸槽上對應的酸霧吸收口,再由吸酸管路里的氧化鈣吸附后由管路里的風機排出;所述鍍鎳廢水處理是由鍍鎳槽里的廢水經出口流入地下的廢水管路里,再由廢水管路與地面上的廢水處理裝置相連,處理后含有鎳的濃水進入回液管路再流入鍍鎳槽,處理后的清水由管路輸送清水槽里再次循環使用。本技術方案涉及的廢水處理地下和地面巧妙結合,節省空間,廢水處理效果好,酸霧處理系統體積小,直接將酸霧吸收,由出口的氧化鈣吸收通過風機排放,從而達到了國家環保和指標的要求。
權利要求書
1.一種鍍鎳廢水處理和酸霧排放系統,其特征在于:本技術方案有酸霧排放系統和鍍鎳廢水處理系統構成,所述酸霧排放系統是由酸槽上對應的酸霧吸收口,再由吸酸管路里的氧化鈣吸附后由管路里的風機排出;所述鍍鎳廢水處理是由鍍鎳槽里的廢水經出口流入地下的廢水管路里,再由廢水管路與地面上的廢水處理裝置相連,處理后含有鎳的濃水進入回液管路再流入鍍鎳槽,處理后的清水由管路輸送清水槽里再次循環使用。
2.如權利要求1所述的一種鍍鎳廢水處理和酸霧排放系統,其特征在于:酸槽至少二個以上,每個酸槽上對應一個酸霧吸酸口,酸霧吸酸口上連接有吸酸管路,每支吸酸管路上裝有閥門,所述每支吸酸管路的出口與吸酸管對接,所述吸酸管與輸酸管連接,所述輸酸管是兩支管路,目的是加大吸收和輸送,輸酸管的出口與吸收管連接,所述吸收管的出口裝有吸附酸霧的氧化鈣,所述吸收管的出口裝有螺旋管,所述螺旋管里裝有風機通過排放管排入外界。
3.如權利要求1所述的一種鍍鎳廢水處理和酸霧排放系統,其特征在于:鍍鎳槽上有出液口與出液管路相連,所述出液管路與地上廢水處理裝置上的儲液罐通過連接管相連,所述儲液罐與高壓泵之間的連接管上安裝有閥門,所述高壓泵通過連接管與精密過濾器連接,連接管上裝有閥門,所述精密過濾器與反滲透膜通過連接管連接,所述反滲透膜將含有高濃度的鎳水經回液管路與鍍鎳槽相連。
說明書
一種鍍鎳廢水處理和酸霧排放系統
技術領域
本發明涉及一種鍍鎳廢水處理和酸霧排放系統,特別適用于電池鋼殼鍍鎳后的廢水處理和酸霧的排放。
背景技術
鋼殼鍍鎳過程中,首先鋼殼要放入酸槽中進行浸泡,作表面處理,由于濃酸易揮發形成酸霧,按國家環保要求必須吸收處理凈化,達標后才允許向大氣排放,目前的酸霧處理都是將廢氣通過堿性溶液進行中和后再排出,其缺點是成本高,同時增加了淤泥處理的費用。
電池鋼殼在鍍鎳槽里形成電鍍層后再進入清水槽清洗,由于鍍鎳廢水中會有重金屬離子對環境造成嚴重的污染,按國家環保要求必須進行廢水處理,達標后才能排出,現有的處理方法有很多種,常見的有化學沉淀,處理中會產生大量的廢渣,廢液后續處理會造成二次污染,而且化學沉淀占用面積大。
發明內容
本發明的任務是提出一種廢氣排放達標,廢水處理時節省面積的一種鍍鎳廢水處理和酸霧排放系統。
本發明的任務是這樣完成的,其特征在于:本技術方案有酸霧排放系統和鍍鎳廢水處理系統構成,所述酸霧排放系統是由酸槽上對應的酸霧吸收口,再由吸酸管路里的氧化鈣吸附后由管路里的風機排出;所述鍍鎳廢水處理是由鍍鎳槽里的廢水經出口流入地下的廢水管路里,再由廢水管路與地面上的廢水處理裝置相連,處理后含有鎳的濃水進入回液管路再流入鍍鎳槽,處理后的清水由管路輸送清水槽里再次循環使用。酸槽至少二個以上,每個酸槽上對應一個酸霧吸酸口,酸霧吸酸口上連接有吸酸管路,每支吸酸管路上裝有閥門,所述每支吸酸管路的出口與吸酸管對接,所述吸酸管與輸酸管連接,所述輸酸管是兩支管路,目的是加大吸收和輸送,輸酸管的出口與吸收管連接,所述吸收管的出口裝有吸附酸霧的氧化鈣,所述吸收管的出口裝有螺旋管,所述螺旋管里裝有風機通過排放管排入外界。鍍鎳槽上有出液口與出液管路相連,所述出液管路與地上廢水處理裝置上的儲液罐通過連接管相連,所述儲液罐與高壓泵之間的連接管上安裝有閥門,所述高壓泵通過連接管與精密過濾器連接,連接管上裝有閥門,所述精密過濾器與反滲透膜通過連接管連接,所述反滲透膜將含有高濃度的鎳水經回液管路與鍍鎳槽相連。
本發明具有以下效果:本技術方案涉及的廢水處理地下和地面巧妙結合,節省空間,廢水處理效果好,酸霧處理系統體積小,直接將酸霧吸收,由出口的氧化鈣吸收通過風機排放,從而達到了國家環保和指標的要求。



