申請日2017.09.30
公開(公告)日2018.02.02
IPC分類號F04C2/10; F04C13/00; B02C4/00
摘要
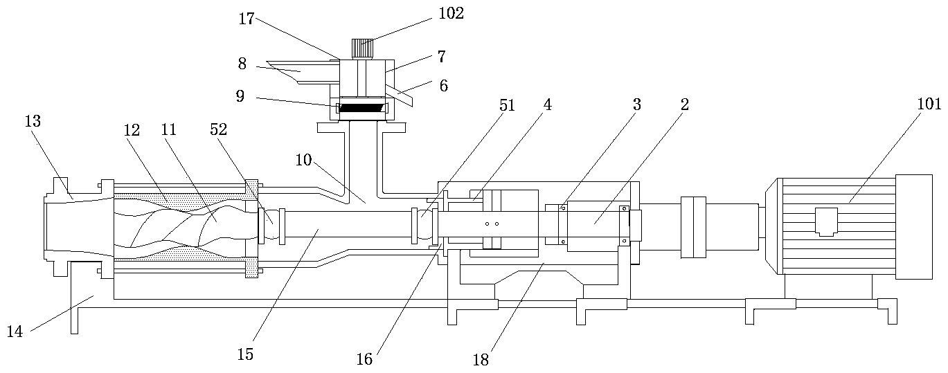
本發明公開了一種環保設備專用污泥泵,包括吸入腔、排出腔、主電機、粉碎分離機和支撐架,所述支撐架最左端設有排出腔,所述排出腔右方安裝有吸入腔,所述吸入腔上方安裝有粉碎分離機,所述支撐架最右端設置有主電機,所述主電機上安裝有傳動軸,所述傳動軸上安裝有密封腔,所述傳動軸通過軸承座安裝在密封腔上,所述密封腔左端口內側安裝有軸密封圈,所述傳動軸左側安裝有中間軸,所述中間軸兩端分別安裝有左萬向節和右萬向節,所述左萬向節上安裝有轉子,所述轉子上安裝有定子,所述粉碎分離機的上部安裝有次電機,所述次電機上安裝有轉鼓,所述轉鼓左側設置有進泥口。本發明環保設備專用污泥泵具有不堵塞和使用壽命長的特點。
權利要求書
1.一種環保設備專用污泥泵,包括吸入腔(10)、排出腔(13)、主電機(101)、粉碎分離機(17)和支撐架(14),其特征在于,所述支撐架(14)最左端設有排出腔(13),所述排出腔(13)右方安裝有吸入腔(10),所述吸入腔(10)上方安裝有粉碎分離機(14),所述支撐架(14)最右端設置有主電機(101),所述主電機(101)上安裝有傳動軸(2),所述傳動軸(2)上安裝有密封腔(18),所述傳動軸(2)通過軸承座(3)安裝在密封腔(18)上,所述密封腔(18)左端口內側安裝有軸密封圈(4),所述傳動軸(2)左側安裝有中間軸(15),所述中間軸(15)兩端分別安裝有左萬向節(52)和右萬向節(51),所述左萬向節(52)上安裝有轉子(11),所述轉子(11)上安裝有定子(12),所述粉碎分離機(17)的上部安裝有次電機(102),所述次電機(102)上安裝有轉鼓(7),所述轉鼓(7)左側設置有進泥口(8),所述轉鼓(7)右側設置有出雜口(6),所述轉鼓(7)下方安裝有碎石輥(9)。
2.根據權利要求1所述的一種環保設備專用污泥泵,其特征在于,所述密封腔(18)與吸入腔(10)之間設有密封圈(16)。
3.根據權利要求1所述的一種環保設備專用污泥泵,其特征在于,所述中間軸(15)、定子(12)、轉子(11)、左萬向節(52)和右萬向節(51)上刷有防腐耐磨漆。
說明書
一種環保設備專用污泥泵
技術領域
本發明涉及環保設備污泥處理設備領域,具體是一種環保設備專用污泥泵。
背景技術
環保設備專用污泥泵是指環保措施中清理污泥使用的專用污泥泵,污水處理廠后期設備,用于污泥轉移。在環保工程里占據重要地位,現在城市化速度快,城市排污每天都要進行,但是污泥處理現場總是發生污泥泵故障的現象,追究其原因有二:一是污泥泵內部受損,已經完全報廢;二是污泥泵傳送污泥時被堵塞;污泥泵的損壞和故障非常耽誤排污流程的有序進行,降低了排污效率,并且報廢的排污泵難以回收,十分浪費。現有的污泥泵使用壽命短、易堵塞,給污泥的處理增加了困擾,是需要解決的一個問題。
發明內容
本發明的目的在于提供一種環保設備專用污泥泵,以解決現有技術中的污泥泵易堵塞、使用壽命短的問題。
為實現上述目的,本發明提供如下技術方案:
一種環保設備專用污泥泵,包括吸入腔、排出腔、主電機、粉碎分離機和支撐架,所述支撐架最左端設有排出腔,所述排出腔右方安裝有吸入腔,所述吸入腔上方安裝有粉碎分離機,所述支撐架最右端設置有主電機,所述主電機上安裝有傳動軸,所述傳動軸上安裝有密封腔,所述傳動軸通過軸承座安裝在密封腔上,所述密封腔左端口內側安裝有軸密封圈,所述傳動軸左側安裝有中間軸,所述中間軸兩端分別安裝有左萬向節和右萬向節,所述左萬向節上安裝有轉子,所述轉子上安裝有定子,所述粉碎分離機的上部安裝有次電機,所述次電機上安裝有轉鼓,所述轉鼓左側設置有進泥口,所述轉鼓右側設置有出雜口,所述轉鼓下方安裝有碎石輥。
優選的,所述密封腔與吸入腔之間設有密封圈。
優選的,所述中間軸、定子、轉子、左萬向節和右萬向節上刷有防腐耐磨漆。
與現有技術相比,本發明的有益效果是:本發明環保設備專用污泥泵,吸入腔上方安裝有粉碎分離機,將污泥中的大塊磚瓦等物質利用離心力分離出去,污泥中的小石塊等堅硬物質利用碎石輥碾碎,減少了堅硬物質對轉子和定子的磨損,并且有效的避免了堵塞,增加了污泥泵的使用壽命。中間軸、定子、轉子、左萬向節和右萬向節上刷有防腐耐磨漆,有效地減少了污泥中的酸堿物質對污泥泵內部的腐蝕,延長了污泥泵的使用壽命。



