隨著我國畜禽養殖業的迅猛發展, 在帶動農村經濟發展的同時, 也帶來了嚴重的環境污染問題.養殖廢水凈化的瓶頸即為大量高濃度NH4+-N的去除, 因高濃度NH4+-N會對植物產生毒害作用.目前, 去除豬場廢水NH4+-N的方法有很多, 其中選擇水生植物構建人工濕地是修復和凈化污染水體的一種重要手段, 因其具有高效、低成本、低耗能, 可循環等優點, 同時可以增加水體的生態服務效益和經濟效益而備受青睞.
綠狐尾藻(Myriophyllum aquaticum), 別稱綠羽毛草, 為挺水或沉水植物, 原產于南美洲, 屬于小二仙草科狐尾藻屬, 作為景觀植物引入我國已有200多年, 主要生長在稻田、溪流、池塘區. Best等對受美國衣阿華陸軍彈藥廠爆炸物所污染的地表水進行水生和濕地植物修復的篩選與應用中發現, 綠狐尾藻的處理效果最佳.綠狐尾藻沉水的部分含有40%~89%的總氮(TN), 具有儲存N的能力, 而且葉片含有更多的N, 其對NH4+-N有很強的偏好性和耐受力. Souza等利用綠狐尾藻作為生物調節器處理污染水體的研究表明, 30 d后, 污染物最大的去除率表現為:BOD 75.4%, COD 67.4%, NH4+-N 98.6%, TN 88.3%, 總磷(TP)93.6%.近5年, 中國科學院亞熱帶所利用綠狐尾藻構建的人工濕地系統, 研究表明其對不同濃度的TN和NH4+-N的平均去除率分別可達到90%和84%以上; 綠狐尾藻作為生物調節器改變了水體中微生物的生長環境, 影響硝化與反硝化微生物豐度、多樣性與群落分布, 加速了NH4+-N和TN的去除.
綠狐尾藻在養殖廢水處理中表現出對NH4+-N的高吸收特點, 但其對高濃度NH4+-N耐受的生理特征及養分吸收累積的特點研究尚顯不足.因此, 本研究分析不同高濃度NH4+-N處理對綠狐尾藻生理特性及N、P養分吸收的影響, 以初步探究綠狐尾藻對養殖廢水N消納和去除的作用機制, 以便更好利用綠狐尾藻進行環境治理提供有價值的資料, 以期為實現綠狐尾藻人工濕地系統對污染物的減量化、無害化和資源化利用提供理論和實踐指導.
1 材料與方法 1.1 試驗取材與培養
試驗所用材料均采自中國科學院長沙農業環境觀測研究站.將從野外基地取得的20~30 cm新鮮植物樣, 先用自來水清洗, 然后用蒸餾水清洗, 最后將其幼苗在Hoagland營養液(表 1)中馴化培養10 d左右, 每4 d更換營養液, 調節營養液的pH值為6.8~7.0.
表 1 Hoagland營養液的配方及成分
試驗前, 選擇生長健壯大小一致的綠狐尾藻, 剪其株長大約為12 cm, 用超純水沖洗干凈, 稱其鮮重, 然后轉入用超純水配置的0.1 mmol·L-1的硫酸鈣溶液中(無其它離子)饑餓2 d, 以排除自由空間中殘留的N素對試驗的影響.大部分廢水的NH4+濃度在70 mg·L-1, 且已有報道綠狐尾藻濕地系統在200 mg·L-1的NH4+廢水中可以有良好的凈水效果, 故設置70 mg·L-1的NH4+濃度為對照, 和兩個高NH4+水平:210 mg·L-1和420 mg·L-1.培養液仍采用Hoagland營養液(除N營養外), 每箱8 L, 每箱20穴, 每穴3株, 3次重復.生長溶液每天調節pH為6.8~7.0, 每4 d更新營養液.
1.2 測定指標與方法
培養1、3、7、10、14、21 d, 稱取鮮重和測量地上部高度, 以及植物的TN和TP; 于7、10、14、21 d測量根長.收獲(21 d)時, 測定葉、莖葉綠素和可溶性糖含量, 以及組織的丙二醛(MAD)含量.
按照公式(1)~(4) 分別計算相對生物量(relative biomass, RB, g), 相對生長速率[biomass relative growth rate, BRGR, g·(g·d)-1], 相對莖高(relative shoot height, RSH, cm)以及相對莖生長速率(shoot relative growth rate, SRGR, cm·d-1).葉綠素a(Ca)和葉綠素b(Cb)的含量, 采用95%乙醇提取, 分光光度法測定; 總葉綠素(Ca+b)的含量等于葉綠素a與葉綠素b之和; 可溶性糖采用蒽酮比色法測定, MAD采用硫代巴比妥法測定.用濃硫酸-過氧化氫消煮, 測植株TN和TP.
(1)
(2)
(3)
(4)
式中, W0、W1和WN分別指起始、第1 d和第N d采樣時測定的生物量(g), SH0、SH1和SHN分別指起始、第1 d和第N d采樣時測定的莖高(cm), t1和tN分別指第1 d和第N d采樣的天數(d).
1.3 數據分析
數據均為3次重復的平均值, 誤差線均為標準誤.數據統計利用SAS軟件, 進行方差分析和Fisher's顯著性檢驗(LSD), 比較不同處理間在P < 0.05的顯著性水平.采用Microsoft Office Excel 2007(Microsoft, Redmond, WA, USA)和Sigmaplot 10.0(Systat Software, Inc., Chicago, IL, USA)軟件進行數據分析和作圖.
2 結果與分析 2.1 生長特征
70 mg·L-1的高NH4+處理下, 綠狐尾藻生長健壯(圖 1), 莖高和生物量隨著時間的延長在直線增加[圖 2(a)和(b)], 至21 d時, 綠狐尾藻的相對莖高和生物量分別達到40.56 cm和17.82 g·穴-1, 其莖和生物量的生長速率分別是1.94 cm·d-1和0.11 g·(g·d)-1(圖 3).與70 mg·L-1的NH4+處理相比, 當NH4+水平增加到210 mg·L-1時, 相對莖高和生物量略有降低, 它們的生長速率與其無顯著差異(圖 3); 而當NH4+水平達到420 mg·L-1時, 莖高和生物量生長速率均顯著降低, 僅為對照的27.4%和17.9%, 且10 d時即達到最高值, 之后則表現出生長不良甚至死亡的現象[圖 1、圖 2(a)和(b)].

圖 1 不同高銨水平下綠狐尾藻的生長狀況

圖 2 不同高銨水平下綠狐尾藻的生長特征

圖 3 不同高銨水平下綠狐尾藻的相對莖生長速率和生物量生長速率
綠狐尾藻根系的生長亦隨著NH4+水平的升高而被顯著抑制[圖 2(c)].移栽至10 d時, 根系的生長達到最長, 與70 mg·L-1的NH4+處理相比, 210 mg·L-1和420 mg·L-1的NH4+處理下, 根長分別降低了21.1%和44.7%. 10 d后, 70 mg·L-1和210 mg·L-1的NH4+處理下, 根系已基本停止生長, 而420 mg·L-1的高NH4+處理下, 根系變黑腐爛(圖 1).
2.2 葉綠素含量
高NH4+處理顯著影響綠狐尾藻葉綠素的含量(圖 4).與70 mg·L-1的NH4+處理相比, 當NH4+水平提高到210 mg·L-1或420 mg·L-1時, 葉片葉綠素a和b的含量顯著下降, 且葉綠素a的含量僅是對照的50%左右[圖 4(a)].隨著NH4+水平的增加, 葉片葉綠素a與b的比值在降低, 70、210和420 mg·L-1處理下, 其比值分別是2.9、2.6和1.9.葉片總葉綠素含量與葉綠素a的變化趨勢相似, 與70 mg·L-1的NH4+處理相比, 210 mg·L-1和420 mg·L-1處理下, 葉片葉綠素含量顯著下降, 分別下降了39.7%和36.3%, 而它們之間無顯著差異.

圖 4 不同高銨水平下綠狐尾藻的葉片和莖葉綠素含量
莖的總葉綠素顯著低于葉片, 僅為葉片的4%~10%. 70 mg·L-1 NH4+處理下, 莖葉綠素的含量為0.12 mg·g-1, 當NH4+水平提高到210 mg·L-1時, 莖的總葉綠素含量顯著增加, 增加了40%;而當NH4+水平增加到420 mg·L-1時, 莖的總葉綠素含量顯著降低, 降低了30%[圖 4(b)].相應地, 與70 mg·L-1 NH4+處理相比, 210 mg·L-1 NH4+處理下, 葉綠素a及葉綠素b顯著提高, 分別提高了26.5%和66%;而達到420 mg·L-1 NH4+處理時, 葉綠素a與b顯著降低, 分別降低了42.4%和5.1%[圖 4(b)].莖中葉綠素a與葉綠素b的比值亦隨著NH4+水平的提高而降低, 70、210和420 mg·L-1處理下, 其比值分別是2.0、1.5和1.2.
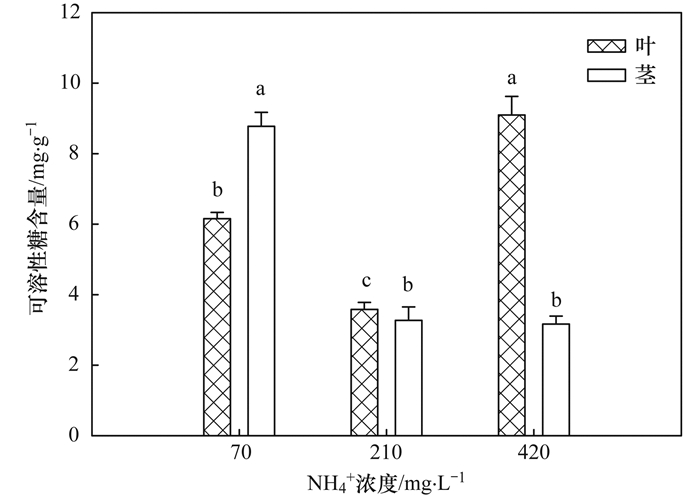
2.3 可溶性糖含量
如圖 5所示, 70 mg·L-1的NH4+處理時, 可溶性糖含量在莖顯著比葉中高(P < 0.05), 高42.6%.與70 mg·L-1 NH4+處理相比, 當NH4+水平提高到210 mg·L-1時, 葉、莖的可溶性糖含量顯著降低(P < 0.05), 分別降低了41.8%和62.7%;而當NH4+水平達到420 mg·L-1時, 葉中的可溶性糖含量顯著升高(P < 0.05), 增加了47.8%, 而莖中的可溶性糖含量顯著下降, 降低了63.9%.

圖 5 不同高銨水平下綠狐尾藻的葉片和莖可溶性糖含量
2.4 丙二醛(MAD)的含量
隨著NH4+水平的增加, 丙二醛含量逐漸增加(圖 6). 70 mg·L-1的NH4+處理下, 丙二醛的質量摩爾濃度最低為11.5 nmol·g-1.當NH4+水平增加到210 mg·L-1和420 mg·L-1時, 丙二醛的含量分別增加了1倍和2倍, 達到顯著性差異(P < 0.05).說明隨著NH4+水平的提高, 綠狐尾藻受到NH4+脅迫的程度越來越嚴重.

圖 6 不同高銨水平下綠狐尾藻組織內丙二醛含量
2.5 氮、磷吸收特征
如圖 7(a)所示, 隨著時間的延長, 植物中N含量亦隨著NH4+-N濃度的提高先增加而后降低, TN的變幅在30.7~53.4 mg·g-1之間. 70 mg·L-1NH4+-N處理下, 綠狐尾藻組織中TN含量的峰值(40.5 mg·g-1)出現在第10 d, 比第1 d增加了14%.當NH4+-N水平提高到210 mg·L-1時, 培養7 d之內, 組織內TN含量與對照無顯著差異; 隨著時間的延長, 組織內TN的含量顯著高于對照, 峰值(45.0 mg·g-1)出現在第14 d, 比對照峰值高11.1%.當NH4+-N水平達到420 mg·L-1時, 組織內TN的含量顯著高于前兩個高NH4+-N水平處理, 峰值(53.4 mg·g-1)亦出現在第14 d, 比對照峰值高31.8%.至21 d時, 由于植物生物量的增加導致的稀釋效應, TN的含量反而有所下降, 甚至低于初始TN含量. 如圖 7(b)所示, 不同高NH4+處理下, 隨培養時間的延長, 綠狐尾藻組織中TP的含量逐漸增加, TP的變幅在3.8~7.7 mg·g-1之間.短時間內差異不明顯. 70 mg·L-1NH4+-N處理下, 至收獲(21 d)時, 綠狐藻組織中TP達到最高為7.7 mg·g-1, 比第1 d時增加了近1倍.當NH4+-N水平增加到210 mg·L-1和420 mg·L-1, TP的含量在收獲時分別比第1 d增加了47.7%和54.9%, 但與70 mg·L-1的處理相比, 分別顯著降低了38.6%和27.0%, 說明高NH4+-N脅迫可能抑制P的吸收.

圖 7 不同高NH4+-N水平下綠狐尾藻的N、P含量的變化特性
3 討論
水生植物不僅自身可以同化吸收大量的N、P等物質, 而且可以為微生物提供氧氣和棲息場所, 促進微生物對水質的去除, 所以水生植物的生長狀況與其濕地系統污染物的去除效率密切相關.眾所周知, NH4+-N是植物可利用的N源, 但其對植物有高毒性, 在很低的濃度, 比如外部質量濃度高于2 mg·L-1就有可能產生毒害, 影響植物的生長發育.植物體內葉綠素、碳水化合物含量以及MAD的累積量可以反映植物受脅迫和程度.本研究中, MAD的含量隨NH4+-N濃度的增加而顯著增加, 表明綠狐尾藻受NH4+-N的脅迫程度亦在逐漸增大.但在70~210 mg·L-1高水平NH4+-N處理下, 綠狐尾藻莖高和凈生物量都隨時間的延長在直線增加, 葉綠素和可溶性糖含量較高, 說明其光合能力也較強; 而當NH4+-N水平達到420 mg·L-1時, 光合能力下降, 葉綠素和可溶性糖含量均降低, 植物生長受阻甚至死亡.已有研究報道, 水生植物在NH4+-N質量濃度1.5~28 mg·L-1中生長4~8 d, 可以檢測到NH4+-N的毒性.耐NH4+-N的水生植物大藨草(Actinoscirpus grossus)在35 mg·L-1的高NH4+-N處理下生長最好, 當NH4+-N水平提高到140~210 mg·L-1時, 亦會受到NH4+-N的脅迫, 根系生長不良, 光合效率下降.本研究表明, 綠狐尾藻在210 mg·L-1的高NH4+-N水平, 受到一定脅迫, 但仍可以正常生長, 而且光合能力也很強, 說明綠狐尾藻在高NH4+-N條件下仍有很高的生產力, 很可能是一種氨超耐受植物.
綠狐尾藻對N, P的高效吸收能力是綠狐尾藻濕地系統對污染物凈化能力的重要指標之一.魯靜等的研究表明, 洱海流域44種濕地植物的TN和TP含量平均為15.7 mg·g-1和3.3 mg·g-1; 金樹權等比較研究10種水生植物, 發現它們N、P含量的變化范圍分別是13.67~26.38 mg·g-1和1.16~3.50 mg·g-1.本研究中, 在不同高濃度NH4+-N處理下, 綠狐尾藻N和P的含量變化范圍為30.7~53.4 mg·g-1和3.8~7.7 mg·g-1, 比已有報道的水生植物N、P含量均高.已有的研究中N的處理濃度相對比較低, 可能主要因為其在超過28 mg·L-1的高NH4+-N介質中, 會受到氨毒害而無法正常生長, 從而影響N、P的吸收.綠狐尾藻不僅能在超高NH4+-N的條件下正常生長, 而且可以吸收大量的N和P, 表明其在高NH4+-N的廢水中對N、P去除作將會有極大的貢獻.從圖 8可以看出,當NH4+水平高達210 mg·L-1和420 mg·L-1時,在綠狐尾藻干物質的量在直線下降的情況下,其對N、P的累積量雖也顯著下降,但比生物量下降的速度慢.因此, 綠狐尾藻生態濕地系統高效凈化高NH4+-N的廢水時, 其質量濃度的適應范圍應在420 mg·L-1以下.
具體參見污水寶商城資料或http://m.dongaorq.cn更多相關技術文檔。
圖 8 不同高銨水平下綠狐尾藻N、P累積量與生物量的關系
4 結論
(1) 綠狐尾藻可能是一種超耐氨的水生植物, 對NH4+-N的耐性可以達到210 mg·L-1, 此條件下, 莖和生長量的增長速率分別是1.83 cm·d-1和0.11 g·(g-1·d-1), 與70 mg·L-1的高NH4+處理無顯著差異.
(2) 綠狐尾藻對N和P有相當高的吸收能力, 在70~420 mg·L-1的高NH4+處理下, 植株TN變幅在30.7~53.4 mg·g-1, TP的變幅在3.7~7.7 mg·L-1.
(3) 在處理高NH4+-N廢水的生態濕地系統的構建中, 綠狐尾藻可作為一種良好的候選水生植物.



