公布日:2024.01.16
申請日:2023.12.15
分類號:B01D36/02(2006.01)I;B01D35/16(2006.01)I
摘要
本發明涉及生產污水處理領域,具體為一種膠原蛋白膜生產過程中污水處理系統,包括處理罐,所述處理罐的內壁中設置有分離機構,所述處理罐的一側外壁上連通設置有壓塊機構,所述處理罐的一側外壁下方活動設置有清理機構。該種膠原蛋白膜生產過程中污水處理系統,通過壓迫板中滲透孔和凹槽的設置,進行過濾操作,將大多數廢渣過濾至處理罐的底部,方便進行后續抽取,能夠提高過濾效果,且通過壓塊機構的設置,使得在壓迫板完全下移后,觸發螺旋升降機,將罐底的廢渣灌入擠壓倉中,并通過壓板和伸縮桿的設置,使得在完成擠壓復位后,能夠自動打開底蓋進行廢料塊的釋放。

權利要求書
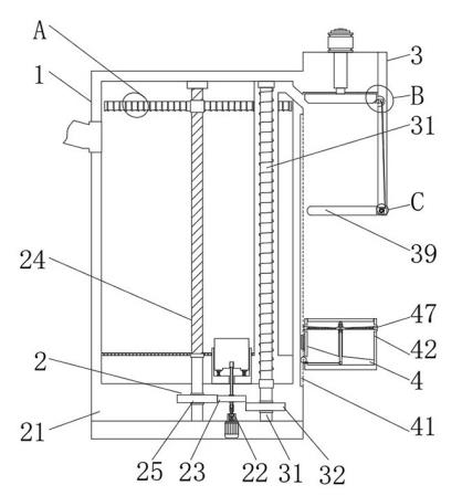
1.一種膠原蛋白膜生產過程中污水處理系統,包括處理罐(1),其特征在于:所述處理罐(1)的內壁中設置有分離機構(2),所述處理罐(1)的一側外壁上連通設置有壓塊機構(3),所述處理罐(1)的一側外壁下方活動設置有清理機構(4);所述分離機構(2)包括傳動倉(21)和絲桿滑臺(24),所述傳動倉(21)的外壁與處理罐(1)的內壁固定連接,所述傳動倉(21)的底壁上固定連接有電動機,且電動機的頂端轉動連接有控制件(22),所述控制件(22)的一端外壁上套設有驅動齒輪(23),所述絲桿滑臺(24)中的絲桿兩端均與處理罐(1)的上下兩端轉動連接,所述絲桿滑臺(24)的絲桿底端固定連接有第一齒輪(25),所述絲桿滑臺(24)上的滑塊(46)外壁上固定連接有壓迫板(26),所述壓迫板(26)的內壁中開設有滲透孔(27),所述滲透孔(27)的一側開設有凹槽(28);所述控制件(22)包括轉動套(221)、活動倉(223)、限位桿(226)和限制桿(228),所述轉動套(221)的底壁與電動機的主軸固定連接設置,所述轉動套(221)的內壁中固定連接有伸縮彈簧,且伸縮彈簧的頂端固定連接有驅動桿(222),所述驅動桿(222)滑動設置在轉動套(221)內,所述驅動桿(222)與轉動套(221)之間通過花鍵保持同步轉動,所述活動倉(223)的底端與處理罐(1)的底壁固定連接,所述活動倉(223)的內壁中滑動設置有觸發板(224),所述觸發板(224)的內壁中開設有限位槽(225),所述觸發板(224)的內壁與限位桿(226)的外壁插接設置,所述限位桿(226)的底端通過彈簧伸縮桿與驅動桿(222)的頂部相連接,所述限位桿(226)的側壁固定設置有凸起,且凸起延伸至驅動桿(222)的外壁上,并且凸起的前端固定連接有滑套(227),所述滑套(227)的內壁與驅動桿(222)的外壁滑動連接設置,且驅動桿(222)的側壁上開設有與凸起滑動連接的通槽,所述限制桿(228)的外壁與限位桿(226)的內壁滑動設置,所述限制桿(228)的外壁上套設有復位彈簧;所述限制桿(228)的前后兩端均設置有凸塊,且復位彈簧位于兩組凸塊之間;所述壓塊機構(3)包括螺旋升降機(31)、擠壓倉(33)和轉動槽(35),所述螺旋升降機(31)的外壁與處理罐(1)的頂壁固定連接,所述螺旋升降機(31)的螺旋桿軸端上固定連接有第二齒輪(32),所述第二齒輪(32)與驅動齒輪(23)水平設置,所述擠壓倉(33)的外壁與處理罐(1)的外壁固定連接,所述擠壓倉(33)的內壁中固定設置有液壓升降桿,且液壓升降桿的底端固定有壓板(34),所述轉動槽(35)開設在擠壓倉(33)的內壁上,所述轉動槽(35)的內壁中轉動設置有伸縮桿(36),所述伸縮桿(36)的軸端套設有扭轉彈簧,所述伸縮桿(36)末端一側轉動連接有斜桿(37),所述斜桿(37)的另一端鉸接有齒板(38),且齒板(38)的另一側與擠壓倉(33)的內壁鉸接設置,所述齒板(38)的下側嚙合連接有鎖定齒輪,且鎖定齒輪的軸端上固定連接有底蓋(39),所述底蓋(39)的軸端與及擠壓倉(33)的底部相鉸接;所述擠壓倉(33)的內壁中固定設置有滲透倉,且滲透倉的外壁為透水層設置,并且滲透倉的內部與處理罐(1)的內腔相連通;所述清理機構(4)包括活動槽(41)和清理倉(42),所述活動槽(41)開設在處理罐(1)的外壁上,所述清理倉(42)的外壁與活動槽(41)滑動設置,所述清理倉(42)的一側內壁上設置有驅動件(43),所述清理倉(42)的底壁上轉動連接有傳動桿(44),所述傳動桿(44)的頂端固定連接有往復絲桿(45),所述往復絲桿(45)的外壁上螺紋設置有滑塊(46),所述滑塊(46)的兩側外壁上均鉸接有刮擦板(47),所述刮擦板(47)的前端延伸至清理倉(42)的外壁上,所述刮擦板(47)的前端具有機械加工形成的斜板,且斜面朝上,所述刮擦板(47)的內部中開設有漏孔(48)。
2.根據權利要求1所述的一種膠原蛋白膜生產過程中污水處理系統,其特征在于:所述滲透孔(27)的前端與凹槽(28)相連通,所述滲透孔(27)的孔口壁具有機械加工形成的斜面,且斜面方向與凹槽(28)位置相反。
3.根據權利要求1所述的一種膠原蛋白膜生產過程中污水處理系統,其特征在于:所述伸縮桿(36)中的移動端與固定端之間通過彈簧固定連接設置,所述伸縮桿(36)的前端具有機械加工形成的斜面,且斜面與壓板(34)的底面相匹配。
4.根據權利要求1所述的一種膠原蛋白膜生產過程中污水處理系統,其特征在于:所述驅動件(43)包括驅動倉(431),所述驅動倉(431)的外壁與清理倉(42)的內壁固定連接,所述驅動倉(431)的內壁中轉動連接有驅動輪(432),所述驅動輪(432)的外壁上固定連接有第三齒輪(433),所述第三齒輪(433)的底端鉸接有端面齒輪(434),所述端面齒輪(434)的底端與驅動倉(431)轉動設置,所述端面齒輪(434)的軸端通過皮帶與傳動桿(44)連接。
發明內容
本發明的目的在于提供一種膠原蛋白膜生產過程中污水處理系統,以解決上述背景技術中提出的問題。
為實現上述目的,本發明提供如下技術方案:一種膠原蛋白膜生產過程中污水處理系統,包括處理罐,所述處理罐的內壁中設置有分離機構,所述處理罐的一側外壁上連通設置有壓塊機構,所述處理罐的一側外壁下方活動設置有清理機構;
所述分離機構包括傳動倉和絲桿滑臺,所述傳動倉的外壁與處理罐的內壁固定連接,所述傳動倉的底壁上固定連接有電動機,且電動機的頂端轉動連接有控制件,所述控制件的一端外壁上套設有驅動齒輪,所述絲桿滑臺中的絲桿兩端均與處理罐的上下兩端轉動連接,所述絲桿滑臺的絲桿底端固定連接有第一齒輪,所述絲桿滑臺上的滑塊外壁上固定連接有壓迫板,所述壓迫板的內壁中開設有滲透孔,所述滲透孔的一側開設有凹槽。
優選的,所述控制件包括轉動套、活動倉、限位桿和限制桿,所述轉動套的底壁與電動機的主軸固定連接設置,所述轉動套的內壁中固定連接有伸縮彈簧,且伸縮彈簧的頂端固定連接有驅動桿,所述驅動桿滑動設置在轉動套內,所述驅動桿與轉動套之間通過花鍵保持同步轉動,所述活動倉的底端與處理罐的底壁固定連接,所述活動倉的內壁中滑動設置有觸發板,所述觸發板的內壁中開設有限位槽,所述觸發板的內壁與限位桿的外壁插接設置,所述限位桿的底端通過彈簧伸縮桿與驅動桿的頂部相連接,所述限位桿的側壁固定設置有凸起,且凸起延伸至驅動桿的外壁上,并且凸起的前端固定連接有滑套,所述滑套的內壁與驅動桿的外壁滑動連接設置,且驅動桿的側壁上開設有與凸起滑動連接的通槽,所述限制桿的外壁與限位桿的內壁滑動設置,所述限制桿的外壁上套設有復位彈簧;
所述限制桿的前后兩端均設置有凸塊,且復位彈簧位于兩組凸塊之間。
優選的,所述滲透孔的前端與凹槽相連通,所述滲透孔的孔口壁具有機械加工形成的斜面,且斜面方向與凹槽位置相反。
優選的,所述壓塊機構包括螺旋升降機、擠壓倉和轉動槽,所述螺旋升降機的外壁與處理罐的頂壁固定連接,所述螺旋升降機的螺旋桿軸端上固定連接有第二齒輪,所述第二齒輪與驅動齒輪水平設置,所述擠壓倉的外壁與處理罐的外壁固定連接,所述擠壓倉的內壁中固定設置有液壓升降桿,且液壓升降桿的底端固定有壓板,所述轉動槽開設在擠壓倉的內壁上,所述轉動槽的內壁中轉動設置有伸縮桿,所述伸縮桿的軸端套設有扭轉彈簧,所述伸縮桿末端一側轉動連接有斜桿,所述斜桿的另一端鉸接有齒板,且齒板的另一側與擠壓倉的內壁鉸接設置,所述齒板的下側嚙合連接有鎖定齒輪,且鎖定齒輪的軸端上固定連接有底蓋,所述底蓋的軸端與及擠壓倉的底部相鉸接;
所述擠壓倉的內壁中固定設置有滲透倉,且滲透倉的外壁為透水層設置,并且滲透倉的內部與處理罐的內腔相連通。
優選的,所述伸縮桿中的移動端與固定端之間通過彈簧固定連接設置,所述伸縮桿的前端具有機械加工形成的斜面,且斜面與壓板的底面相匹配。
優選的,所述清理機構包括活動槽和清理倉,所述活動槽開設在處理罐的外壁上,所述清理倉的外壁與活動槽滑動設置,所述清理倉的一側內壁上設置有驅動件,所述清理倉的底壁上轉動連接有傳動桿,所述傳動桿的頂端固定連接有往復絲桿,所述往復絲桿的外壁上螺紋設置有滑塊,所述滑塊的兩側外壁上均鉸接有刮擦板,所述刮擦板的前端延伸至清理倉的外壁上,所述刮擦板的前端具有機械加工形成的斜板,且斜面朝上,所述刮擦板的內部中開設有漏孔。
優選的,所述驅動件包括驅動倉,所述驅動倉的外壁與清理倉的內壁固定連接,所述驅動倉的內壁中轉動連接有驅動輪,所述驅動輪的外壁上固定連接有第三齒輪,所述第三齒輪的底端鉸接有端面齒輪,所述端面齒輪的底端與驅動倉轉動設置,所述端面齒輪的軸端通過皮帶與傳動桿連接。
與現有技術相比,本發明的有益效果:
本發明中,通過壓迫板中滲透孔和凹槽的設置,進行過濾操作,將大多數廢渣過濾至處理罐的底部,方便進行后續抽取,能夠提高過濾效果。
本發明中,通過壓塊機構的設置,使得在壓迫板完全下移后,觸發螺旋升降機,將罐底的廢渣灌入擠壓倉中,并通過壓板和伸縮桿的設置,使得在完成擠壓復位后,能夠自動打開底蓋進行廢料塊的釋放。
本發明中,通過清理機構的設置,在移動清理倉的時候,能夠驅動往復絲桿進行轉動使得,在上移清理倉時,能夠對擠壓倉的側壁進行刮擦清理,并且通過往復移動的滑塊的設置,去擺動刮擦板,便于廢料的落入。
(發明人:馬龍;宋立國;王春雷;楊杰;張敬偉)






