公布日:2024.01.16
申請日:2023.11.07
分類號:C02F1/00(2023.01)I
摘要
本發明公開了一種污水處理淤泥清除系統,包括固定安裝在污水池壁上的矩形圍擋框架,圍擋框架通過安裝板與污水池壁固定連接,圍擋框架遠離污水池壁的一條邊底部固定安裝有固定正柵板,圍擋框架靠近污水池壁的兩條邊底部均分別活動連接有活動側柵板和固定連接有固定側柵板,固定側柵板位于活動側柵板的外部,圍擋框架的內壁上設置有支撐在活動側柵板內側的限位擋板。本發明通過設置位于固定側柵板背面上可以移動抽拉的活動側柵板,通過活動側柵板和固定側柵板的錯位盒對齊,實現對相應對面推進的淤泥進行阻擋,避免已經進入圍擋框架內的淤泥從對面的相鄰兩條柵條之間的間隙位置流出,降低了工作量,提高了工作效率,操作更加簡單。

權利要求書
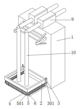
1.一種污水處理淤泥清除系統,包括固定安裝在污水池壁(1)上的矩形圍擋框架(2),其特征在于:所述圍擋框架(2)通過安裝板(3)與污水池壁(1)固定連接,所述圍擋框架(2)遠離污水池壁(1)的一條邊底部固定安裝有固定正柵板(4),所述圍擋框架(2)靠近污水池壁(1)的兩條邊底部均分別活動連接有活動側柵板(5)和固定連接有固定側柵板(6),所述固定側柵板(6)位于活動側柵板(5)的外部,所述圍擋框架(2)的內壁上設置有支撐在活動側柵板(5)內側的限位擋板(7)。
2.根據權利要求1所述的一種污水處理淤泥清除系統,其特征在于:所述安裝板(3)通過膨脹螺栓(301)安裝在污水池壁(1)上。
3.根據權利要求1所述的一種污水處理淤泥清除系統,其特征在于:所述活動側柵板(5)和固定側柵板(6)上相鄰兩條柵條的間距與柵條的寬度相同。
4.根據權利要求3所述的一種污水處理淤泥清除系統,其特征在于:所述活動側柵板(5)和固定側柵板(6)的長度和高度均相同。
5.根據權利要求1所述的一種污水處理淤泥清除系統,其特征在于:所述固定側柵板(6)遠離活動側柵板(5)一側的底部設置有導污斜坡(8)。
6.根據權利要求1所述的一種污水處理淤泥清除系統,其特征在于:所述活動側柵板(5)遠離污水池壁(1)的一端固定安裝有把手(501)。
發明內容
針對現有技術存在的不足,本發明提供了一種污水處理淤泥清除系統,用于解決常用的污水處理淤泥清除系統中淤泥進入對淤泥進行過濾的柵板時有從對面柵板流出導致的不便操作和增加了工作量的問題。
為解決上述技術問題,本發明提供如下技術方案:
一種污水處理淤泥清除系統,包括固定安裝在污水池壁上的矩形圍擋框架,所述圍擋框架通過安裝板與污水池壁固定連接,所述圍擋框架遠離污水池壁的一條邊底部固定安裝有固定正柵板,所述圍擋框架靠近污水池壁的兩條邊底部均分別活動連接有活動側柵板和固定連接有固定側柵板,所述固定側柵板位于活動側柵板的外部,所述圍擋框架的內壁上設置有支撐在活動側柵板內側的限位擋板。
優選的,所述安裝板通過膨脹螺栓安裝在污水池壁上。
優選的,所述活動側柵板和固定側柵板上相鄰兩條柵條的間距與柵條的寬度相同。
優選的,所述活動側柵板和固定側柵板的長度和高度均相同。
優選的,所述固定側柵板遠離活動側柵板一側的底部設置有導污斜坡。
優選的,所述活動側柵板遠離污水池壁的一端固定安裝有把手。
與現有技術相比,本發明具備以下有益效果:
本發明通過設置位于固定側柵板背面上可以移動抽拉的活動側柵板,通過活動側柵板和固定側柵板的錯位盒對齊,實現對相應對面推進的淤泥進行阻擋,避免已經進入圍擋框架內的淤泥從對面的相鄰兩條柵條之間的間隙位置流出,降低了工作量,提高了工作效率,操作更加簡單,解決了常用的污水處理淤泥清除系統中淤泥進入對淤泥進行過濾的柵板時有從對面柵板流出導致的不便操作和增加了工作量的問題。
(發明人:秦玉誠)






