公布日:2024.12.27
申請日:2024.11.22
分類號:B01D33/11(2006.01)I;B01D33/50(2006.01)I
摘要
本發明提供了一種水產養殖廢水的循環處理設備,包括殼體、過濾組件、反沖洗組件和集污組件,殼體具有腔室、進液口和出液口,進液口和出液口均與腔室連通,過濾組件設在腔室內且過濾組件具有過濾腔,進液口與過濾腔連通,出液口位于過濾組件下方,反沖洗組件設在腔室內且位于過濾組件上方,集污組件包括集污筒和導流件,集污筒設在過濾組件內且與殼體的內周面相連,集污筒上端面設有沿過濾組件的長度方向延伸的開口,導流件設在集污筒內且相對于集污筒沿集污筒的周向可轉動,導流件的外周面穿過開口與過濾組件的內周面相抵,導流件設有多個沿集污筒的徑向貫穿導流件的導流孔。本發明的水產養殖廢水的循環處理設備具有結構簡單、過濾效率高等優點。

權利要求書
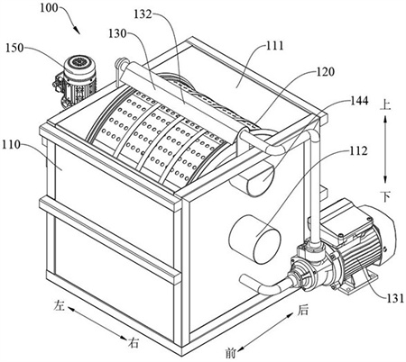
1.一種水產養殖廢水的循環處理設備(100),其特征在于,包括:殼體(110),所述殼體(110)具有腔室(111)、進液口(112)和出液口(113),所述進液口(112)和所述出液口(113)均與所述腔室(111)連通,以便廢水通過所述進液口(112)流入所述腔室(111)并從所述出液口(113)流出所述腔室(111);過濾組件(120),所述過濾組件(120)設在所述腔室(111)內且所述過濾組件(120)具有過濾腔,所述進液口(112)與所述過濾腔連通,以便所述廢水通過所述進液口(112)流入所述過濾腔內以過濾所述廢水內的雜質,所述出液口(113)位于所述過濾組件(120)下方,以便過濾后的所述廢水通過所述出液口(113)流出;反沖洗組件(130),所述反沖洗組件(130)設在所述腔室(111)內且位于所述過濾組件(120)上方,所述反沖洗組件(130)用于沖洗所述過濾組件(120);集污組件(140),所述集污組件(140)包括集污筒(141)和導流件(142),所述導流件(142)由彈性材料制成,所述集污筒(141)設在過濾組件(120)內且與所述殼體(110)的內周面相連,所述集污筒(141)上端面設有沿所述過濾組件(120)的長度方向延伸的開口(1411),所述開口(1411)與所述反沖洗組件(130)沿上下方向間隔相對設置,以便所述反沖洗組件(130)流出的沖洗水流入所述集污筒(141)內,所述導流件(142)設在所述集污筒(141)內且相對于所述集污筒(141)沿所述集污筒(141)的周向可轉動,所述導流件(142)的外周面穿過所述開口(1411)與所述過濾組件(120)的內周面相抵,所述導流件(142)設有多個沿所述集污筒(141)的徑向貫穿所述導流件(142)的導流孔(1421),多個所述導流孔(1421)沿所述導流件(142)的周向間隔設置,以在清洗所述過濾組件(120)時,所述反沖洗組件(130)沖洗所述過濾組件(120),所述過濾組件(120)轉動以帶動所述導流件(142)轉動,所述過濾組件(120)流出的沖洗水通過所述導流孔(1421)流入所述集污筒(141)內;所述集污筒(141)包括外筒(143)和內筒(144),所述外筒(143)和所述內筒(144)均設在所述過濾腔內且均與所述殼體(110)相連,所述內筒(144)設在所述外筒(143)內且所述外筒(143)的內周面和所述內筒(144)的外周面間隔設置,所述導流件(142)可轉動地設在所述外筒(143)和所述內筒(144)之間,所述外筒(143)上端面設有沿所述過濾組件(120)的長度方向延伸的第一口(1431),所述內筒(144)上端面設有沿所述過濾組件(120)的長度方向延伸的第二口(1441),所述第一口(1431)和所述第二口(1441)沿上下方向間隔相對設置以限定出所述開口(1411),在清洗所述過濾組件(120)時,經所述過濾組件(120)沖洗后的沖洗水通過所述開口(1411)流入所述內筒(144)內;所述內筒(144)包括第一板(1442)、第二板(1443)和連接板(1444),所述第一板(1442)、所述連接板(1444)和所述第二板(1443)沿所述內筒(144)的周向依次相連,且所述第一板(1442)和所述第二板(1443)沿所述內筒(144)的周向間隔相對設置以限定出所述第二口(1441),所述第一板(1442)和所述第二板(1443)均為過濾板,以在所述內筒(144)內沖洗水高于預設值時,所述沖洗水通過所述過濾板流入所述導流孔(1421)內。
2.根據權利要求1所述的水產養殖廢水的循環處理設備(100),其特征在于,在所述集污筒(141)內的沖洗水高于預設值時,所述集污組件(140)具有清洗狀態,在所述清洗狀態,所述集污筒(141)內的沖洗水流入所述導流孔(1421)內且隨導流孔(1421)轉動,在所述沖洗水轉動至所述第一板(1442)或所述第二板(1443)上方,以便沖洗所述第一板(1442)或所述第二板(1443)。
3.根據權利要求1所述的水產養殖廢水的循環處理設備(100),其特征在于,所述內筒(144)的一端穿出所述殼體(110)外且適于與外部設備相連,以便所述內筒(144)內沖洗水排出所述內筒(144)。
4.根據權利要求1所述的水產養殖廢水的循環處理設備(100),其特征在于,所述過濾組件(120)設有多個第一過濾孔,所述過濾板上設有多個第二過濾孔,所述第一過濾孔的孔徑不小于所述第二過濾孔的孔徑。
5.根據權利要求2所述的水產養殖廢水的循環處理設備(100),其特征在于,所述外筒(143)的外周面設有多個貫穿所述外筒(143)的第一溢流孔(1432)和第二溢流孔(1433),多個所述第一溢流孔(1432)和多個所述第二溢流孔(1433)均沿所述外筒(143)的軸向間隔設置,多個所述第一溢流孔(1432)和多個所述第二溢流孔(1433)沿所述外筒(143)的徑向間隔設置,且所述第一溢流孔(1432)鄰近所述第一板(1442)設置,所述第二溢流孔(1433)鄰近所述第二板(1443)設置。
6.根據權利要求1-5中任一項所述的水產養殖廢水的循環處理設備(100),其特征在于,所述導流件(142)包括多個導流板(1422)和多個安裝板(1423),所述導流板(1422)由彈性材料制成,所述導流板(1422)沿所述集污筒(141)的徑向延伸,所述安裝板(1423)沿所述集污筒(141)的周向延伸,多個所述導流板(1422)沿所述集污筒(141)的周向間隔設置,相鄰的兩個所述導流板(1422)之間設有至少一個所述安裝板(1423),所述安裝板(1423)的兩端分別與相鄰的兩個所述導流板(1422)相連,相鄰的兩個所述導流板(1422)和所述安裝板(1423)限定出所述導流孔(1421),至少兩個所述導流板(1422)穿過所述開口(1411)與所述過濾組件(120)的內周面相抵。
7.根據權利要求1-5中任一項所述的水產養殖廢水的循環處理設備(100),其特征在于,還包括電機(150),所述電機(150)設在所述殼體(110)的外周面且與所述過濾組件(120)相連,以在清洗所述過濾組件(120)時,所述電機(150)帶動所述過濾組件(120)轉動。
8.根據權利要求1-5中任一項所述的水產養殖廢水的循環處理設備(100),其特征在于,所述反沖洗組件(130)包括水泵(131)、沖洗管(132)和多個噴頭(133),所述水泵(131)與所述沖洗管(132)連通,以便所述沖洗水通過所述水泵(131)流入所述沖洗管(132)內,所述沖洗管(132)設在所述過濾組件(120)上方且沿所述過濾組件(120)的長度方向延伸,多個所述噴頭(133)設在所述沖洗管(132)上且均與所述沖洗管(132)連通,多個所述噴頭(133)設在所述沖洗管(132)朝向所述過濾組件(120)的一側且多個所述噴頭(133)沿所述沖洗管(132)的延伸方向間隔設置,以便所述沖洗水通過所述噴頭(133)對所述過濾組件(120)進行沖洗。
發明內容
基于此,有必要針對目前的轉鼓微濾機清洗效率低、濾渣處理難度大所存在的問題,提供一種水產養殖廢水的循環處理設備。
上述目的通過下述技術方案實現:
一種水產養殖廢水的循環處理設備包括:殼體,所述殼體具有腔室、進液口和出液口,所述進液口和所述出液口均與所述腔室連通,以便廢水通過所述進液口流入所述腔室并從所述出液口流出所述腔室;過濾組件,所述過濾組件設在所述腔室內且所述過濾組件具有過濾腔,所述進液口與所述過濾腔連通,以便所述廢水通過所述進液口流入所述過濾腔內以過濾所述廢水內的雜質,所述出液口位于所述過濾組件下方,以便過濾后的所述廢水通過所述出液口流出;反沖洗組件,所述反沖洗組件設在所述腔室內且位于所述過濾組件上方,所述反沖洗組件用于沖洗所述過濾組件;集污組件,所述集污組件包括集污筒和導流件,所述導流件由彈性材料制成,所述集污筒設在過濾組件內且與所述殼體的內周面相連,所述集污筒上端面設有沿所述過濾組件的長度方向延伸的開口,所述開口與所述反沖洗組件沿上下方向間隔相對設置,以便所述反沖洗組件流出的沖洗水流入所述集污筒內,所述導流件設在所述集污筒內且相對于所述集污筒沿所述集污筒的周向可轉動,所述導流件的外周面穿過所述開口與所述過濾組件的內周面相抵,所述導流件設有多個沿所述集污筒的徑向貫穿所述導流件的導流孔,多個所述導流孔沿所述導流件的周向間隔設置以在清洗所述過濾組件時,所述反沖洗組件沖洗所述過濾組件,所述過濾組件轉動以帶動所述導流件轉動,所述過濾組件流出的沖洗水通過所述導流孔流入所述集污筒內。
進一步的,所述集污筒包括外筒和內筒,所述外筒和所述內筒均設在所述過濾腔內且均與所述殼體相連,所述內筒設在所述外筒內且所述外筒的內周面和所述內筒的外周面間隔設置,所述導流件可轉動地設在所述外筒和所述內筒之間,所述外筒上端面設有沿所述過濾組件的長度方向延伸的第一口,所述內筒上端面設有沿所述過濾組件的長度方向延伸的第二口,所述第一口和所述第二口沿上下方向間隔相對設置以限定出所述開口,在清洗所述過濾組件時,經所述過濾組件沖洗后的沖洗水通過所述開口流入所述內筒內。
進一步的,所述內筒包括第一板、第二板和連接板,所述第一板、所述連接板和所述第二板沿所述內筒的周向依次相連,且所述第一板和所述第二板沿所述內筒的周向間隔相對設置以限定出所述第二口,所述第一板和所述第二板均為過濾板,以在所述內筒內沖洗水高于預設值時,所述沖洗水通過所述過濾板流入所述導流孔內。
進一步的,在所述集污筒內的沖洗水高于預設值時,所述集污組件具有清洗狀態,在所述清洗狀態,所述集污筒內的沖洗水流入所述導流孔內且隨導流孔轉動,在所述沖洗水轉動至所述第一板或所述第二板上方,以便沖洗所述第一板或所述第二板。
進一步的,所述內筒的一端穿出所述殼體外且適于與外部設備相連,以便所述內筒內沖洗水排出所述內筒。
進一步的,所述過濾組件設有多個第一過濾孔,所述過濾板上設有多個第二過濾孔,所述第一過濾孔的孔徑不小于所述第二過濾孔的孔徑。
進一步的,所述外筒的外周面設有多個貫穿所述外筒的第一溢流孔和第二溢流孔,多個所述第一溢流孔和多個所述第二溢流孔均沿所述外筒的軸向間隔設置,多個所述第一溢流孔和多個所述第二溢流孔沿所述外筒的徑向間隔設置,且所述第一溢流孔鄰近所述第一板設置,所述第二溢流孔鄰近所述第二板設置。
進一步的,所述導流件包括多個導流板和多個安裝板,所述導流板由彈性材料制成,所述導流板沿所述集污筒的徑向延伸,所述安裝板沿所述集污筒的周向延伸,多個所述導流板沿所述集污筒的周向間隔設置,相鄰的兩個所述導流板之間設有至少一個所述安裝板,所述安裝板的兩端分別與相鄰的兩個所述導流板相連,相鄰的兩個所述導流板和所述安裝板限定出所述導流孔,至少兩個所述導流板穿過所述開口與所述過濾組件的內周面相抵。
進一步的,所述水產養殖廢水的循環處理設備還包括電機,所述電機設在所述殼體的外周面且與所述過濾組件相連,以在清洗所述過濾組件時,所述電機帶動所述過濾組件轉動。
進一步的,所述反沖洗組件包括水泵、沖洗管和多個噴頭,所述水泵與所述沖洗管連通,以便所述沖洗水通過所述水泵流入所述沖洗管內,所述沖洗管設在所述過濾組件上方且沿所述過濾組件的長度方向延伸,多個所述噴頭設在所述沖洗管上且均與所述沖洗管連通,多個所述噴頭設在所述沖洗管朝向所述過濾組件的一側且多個所述噴頭沿所述沖洗管的延伸方向間隔設置,以便所述沖洗水通過所述噴頭對所述過濾組件進行沖洗。
本發明的有益效果是:本發明實施例的水產養殖廢水的循環處理設備,設置反沖洗組件和集污組件,清理了過濾組件上的雜質,且防止雜質隨著沖洗水流入到過濾組件內,減小了雜質的處理難度,保證了過濾組件的過濾效率,另外,在清洗過濾組件的工作過程中,過濾組件與導流件始終頂緊,使得過濾組件帶動導流件轉動,從而保證了不磨損過濾組件的同時反沖污水雜質不會泄露,延長了過濾組件的使用壽命和過濾效率。
(發明人:杜巖松;陳照;馬繼忠)






