公布日:2024.02.02
申請日:2023.12.11
分類號:B01D36/04(2006.01)I;B01D29/03(2006.01)I;B01D29/64(2006.01)I;C02F1/52(2023.01)I;C02F1/00(2023.01)N;C02F101/30(2006.01)N;C02F101/20(2006.01)N
摘要
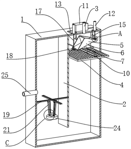
本發明公開了一種分散式生活污水處理系統,包括處理箱,所述處理箱內部頂部位置固定連接有分隔板,所述分隔板一側與處理箱的相對面上固定連接有對生活污水中固體垃圾進行過濾的過濾板,所述處理箱頂部靠近過濾板的一側被貫通并固定連接有將生活污水排放至處理箱內部的進水管,所述處理箱上設有將生活污水進行定量排放過濾的輔助機構,所述輔助機構包括處理箱內壁靠近進水管一端的內壁通過銷軸轉動連接有對生活污水進行定量排放的三角分料斗,所述處理箱上靠近三角分料斗底部的兩端對稱位置均固定連接有對三角分料斗轉動角度進行支撐的支撐桿,本申請具有對生活污水進行定量排放過濾,進一步提高了生活污水的處理效率。

權利要求書
1.一種分散式生活污水處理系統,其特征在于:包括處理箱(1),所述處理箱(1)內部頂部位置固定連接有分隔板(2),所述分隔板(2)一側與處理箱(1)的相對面上固定連接有對生活污水中固體垃圾進行過濾的過濾板(4),所述處理箱(1)頂部靠近過濾板(4)的一側被貫通并固定連接有將生活污水排放至處理箱(1)內部的進水管(3),所述處理箱(1)上設有將生活污水進行定量排放過濾的輔助機構;所述輔助機構包括處理箱(1)內壁靠近進水管(3)一端的內壁通過銷軸轉動連接有對生活污水進行定量排放的三角分料斗(5),所述處理箱(1)上靠近三角分料斗(5)底部的兩端對稱位置均固定連接有對三角分料斗(5)轉動角度進行支撐的支撐桿(6),所述三角分料斗(5)上設有對過濾板(4)表面固體垃圾進行刮除的清理機構。
2.根據權利要求1所述的一種分散式生活污水處理系統,其特征在于:所述清理機構包括三角分料斗(5)底部固定連接有套桿(7),所述套桿(7)遠離三角分料斗(5)一端的內壁活動連接有插桿(8),且插桿(8)與套桿(7)內壁的相對面上固定連接有對插桿(8)進行支撐的彈簧(9),所述插桿(8)遠離套桿(7)的一端固定連接有對過濾板(4)上固體垃圾進行刮除的刮板(10)。
3.根據權利要求1所述的一種分散式生活污水處理系統,其特征在于:所述處理箱(1)頂部靠近進水管(3)的一側固定連接有存放絮凝劑的存液箱(11),所述處理箱(1)上靠近進水管(3)兩側對稱位置均固定連接有柱形殼體(12),所述柱形殼體(12)上的相背側均被貫通并固定連接有進液管(13),且進液管(13)遠離柱形殼體(12)的一端分別貫通至存液箱(11)的內壁并固定連接,兩個所述柱形殼體(12)上遠離進液管(13)一側的對稱位置均被貫通并固定連接有排液管(14),且排液管(14)遠離柱形殼體(12)的一端均貫穿至處理箱(1)的內壁并固定連接有噴頭(15)。
4.根據權利要求3所述的一種分散式生活污水處理系統,其特征在于:所述柱形殼體(12)上設有對存液箱(11)內部絮凝劑進行抽取和排放的抽液機構,所述抽液機構包括柱形殼體(12)內壁活動連接有對存液箱(11)內部絮凝劑進行抽取和排放的活塞板(16),所述活塞板(16)的底部固定連接有固定桿(17),且固定桿(17)遠離活塞板(16)的一端貫穿柱形殼體(12)和存液箱(11)并活動連接,所述固定桿(17)底部固定連接有限位塊(18),且三角分料斗(5)底部的兩端分別貫穿至限位塊(18)外輪廓滑槽的內壁并活動連接。
5.根據權利要求3所述的一種分散式生活污水處理系統,其特征在于:所述進液管(13)靠近柱形殼體(12)一端的內壁固定連接有使活塞板(16)將存液箱(11)內部絮凝劑定量抽取至柱形殼體(12)內部的單向進液閥門(131),所述排液管(14)靠近柱形殼體(12)一端的內部固定連接有使活塞板(16)將柱形殼體(12)內部絮凝劑進行定量排放的單向排液閥門(141)。
6.根據權利要求1所述的一種分散式生活污水處理系統,其特征在于:所述分隔板(2)上遠離處理箱(1)一側靠近底部位置固定連接有十字形桿(19),所述十字形桿(19)上四端相對應位置均開設有矩形通槽(191),所述矩形通槽(191)內壁靠近中心位置均活動連接有滑塊(20),四個所述滑塊(20)的底部均通過銷軸轉動連接有連接桿(21),每兩個所述連接桿(21)之間設有對處理箱(1)底部生活污水中絮狀物進行過濾的濾網。
7.根據權利要求6所述的一種分散式生活污水處理系統,其特征在于:所述連接桿(21)遠離滑塊(20)的一端均通過銷軸轉動連接有連接座(22),四個所述連接座(22)遠離連接桿(21)的一端固定連接有矩形塊(23),所述矩形塊(23)的底部固定連接有推動矩形塊(23)進行升降往復移動的浮板(24)。
8.根據權利要求6所述的一種分散式生活污水處理系統,其特征在于:所述處理箱(1)上遠離過濾板(4)一側靠近十字形桿(19)頂部位置被貫通并固定連接有將處理后的生活污水進行排放的排水管(25)。
發明內容
本發明的目的在于提供一種分散式生活污水處理系統,具備對生活污水進行定量排放過濾的優點,解決了背景技術中的問題。
為實現上述目的,本發明提供如下技術方案:一種分散式生活污水處理系統,包括處理箱,所述處理箱內部頂部位置固定連接有分隔板,所述分隔板一側與處理箱的相對面上固定連接有對生活污水中固體垃圾進行過濾的過濾板,所述處理箱頂部靠近過濾板的一側被貫通并固定連接有將生活污水排放至處理箱內部的進水管,所述處理箱上設有將生活污水進行定量排放過濾的輔助機構;
所述輔助機構包括處理箱內壁靠近進水管一端的內壁通過銷軸轉動連接有對生活污水進行定量排放的三角分料斗,所述處理箱上靠近三角分料斗底部的兩端對稱位置均固定連接有對三角分料斗轉動角度進行支撐的支撐桿,所述三角分料斗上設有對過濾板表面固體垃圾進行刮除的清理機構。
優選的,所述清理機構包括三角分料斗底部固定連接有套桿,所述套桿遠離三角分料斗一端的內壁活動連接有插桿,且插桿與套桿內壁的相對面上固定連接有對插桿進行支撐的彈簧,所述插桿遠離套桿的一端固定連接有對過濾板上固體垃圾進行刮除的刮板。
優選的,所述處理箱頂部靠近進水管的一側固定連接有存放絮凝劑的存液箱,所述處理箱上靠近進水管兩側對稱位置均固定連接有柱形殼體,所述柱形殼體上的相背側均被貫通并固定連接有進液管,且進液管遠離柱形殼體的一端分別貫通至存液箱的內壁并固定連接,兩個所述柱形殼體上遠離進液管一側的對稱位置均被貫通并固定連接有排液管,且排液管遠離柱形殼體的一端均貫穿至處理箱的內壁并固定連接有噴頭。
優選的,所述柱形殼體上設有對存液箱內部絮凝劑進行抽取和排放的抽液機構,所述抽液機構包括柱形殼體內壁活動連接有對存液箱內部絮凝劑進行抽取和排放的活塞板,所述活塞板的底部固定連接有固定桿,且固定桿遠離活塞板的一端貫穿柱形殼體和存液箱并活動連接,所述固定桿底部固定連接有限位塊,且三角分料斗底部的兩端分別貫穿至限位塊外輪廓滑槽的內壁并活動連接。
優選的,所述進液管靠近柱形殼體一端的內壁固定連接有使活塞板將存液箱內部絮凝劑定量抽取至柱形殼體內部的單向進液閥門,所述排液管靠近柱形殼體一端的內部固定連接有使活塞板將柱形殼體內部絮凝劑進行定量排放的單向排液閥門。
優選的,所述分隔板上遠離處理箱一側靠近底部位置固定連接有十字形桿,所述十字形桿上四端相對應位置均開設有矩形通槽,所述矩形通槽內壁靠近中心位置均活動連接有滑塊,四個所述滑塊的底部均通過銷軸轉動連接有連接桿,每兩個所述連接桿之間設有對處理箱底部生活污水中絮狀物進行過濾的濾網。
優選的,所述連接桿遠離滑塊的一端均通過銷軸轉動連接有連接座,四個所述連接座遠離連接桿的一端固定連接有矩形塊,所述矩形塊的底部固定連接有推動矩形塊進行升降往復移動的浮板。
優選的,所述處理箱上遠離過濾板一側靠近十字形桿頂部位置被貫通并固定連接有將處理后的生活污水進行排放的排水管。
與現有技術相比,本發明的有益效果如下:
一、伴隨著三角分料斗底部靠近分隔板的一端與相對應一側的支撐桿接觸支撐時,能夠使三角分料斗遠離分隔板一端與進水管位置相對應,同時進水管能夠將污水排放至三角分料斗遠離分隔板的一端,當三角分料斗遠離分隔板一端的內部污水達到一定重量時,且處理箱上設置的過濾板,使得三角分料斗遠離分隔板的一端朝著靠近過濾板的方向進行轉動,且三角分料斗靠近分隔板的一端朝著遠離過濾板的方向進行移動,進而三角分料斗將遠離分隔板一端的內部污水倒在過濾板表面,使得過濾板將生活污水中的固體垃圾進行過濾,且過濾后的污水通過過濾板落入處理箱的底部。
當三角分料斗靠近分隔板一端的內部污水達到一定重量時,則與上述結構的運動方向相反,從而三角分料斗能夠在處理箱上進行定軸往復轉動,進一步實現了三角分料斗將污水進行定量排放過濾。
二、伴隨著三角分料斗遠離分隔板的一端朝著靠近過濾板的方向進行轉動,從而套桿和插桿在三角分料斗的作用下帶動刮板朝著靠近分隔板的方向進行移動,當套桿移動與過濾板處于垂直狀態時,此時彈簧在插桿的作用下處于收縮狀態,伴隨著套桿移動靠近分隔板一側時,能夠使插桿在彈簧的彈力作用下推動刮板朝著遠離三角分料斗的方向進行移動,從而刮板能夠與過濾板避免緊密接觸并移動,進一步提高了刮板對固體垃圾的清理效果,避免了固體垃圾對套桿造成堵塞,伴隨著三角分料斗進行往復轉動,進而刮板能夠對套桿避免固體垃圾進行往復清理。
三、當三角分料斗遠離分隔板的一端朝著靠近過濾板的方向進行移動進行倒水時,則遠離分隔板一側的限位塊在三角分料斗的作用下拉動固定桿和活塞板朝著靠近進液管的方向進行移動,且柱形殼體靠近進液管一端的內部氣壓為正壓,則單向進液閥門為關閉狀態,單向排液閥門為打開狀態,從而排液管能夠將柱形殼體內部絮凝劑排放至噴頭進行噴灑,能夠使絮凝劑與污水均勻混合排放至處理箱底部,進一步絮凝劑能夠將污水中的懸浮物、膠體物、重金屬離子、有機物等聚集成較大的絮狀物,以便于沉淀在處理箱的底部,提高了水的透明度和品質。
四、伴隨著處理箱底部與分隔板兩側進行連通,使得處理箱底部污水能夠流入分隔板遠離過濾板的一側,通過矩形塊上設置的浮板,當分隔板遠離過濾板一側的水位高于浮板時,從而浮板在浮力作用下推動矩形塊朝著靠近十字形桿的方向進行移動,通過矩形通槽上設置的滑塊,矩形塊上設置的連接座,且連接桿將滑塊和連接座進行轉動連接,進而連接桿在矩形塊的作用下推動滑塊同步朝著外側進行展開移動,通過連接桿上設置的濾網,且濾網的口徑為0.45μm,能夠對處理箱底部污水中的絮狀物和微生物進行過濾,進一步提高水的清澈度和質量,將清澈的水過濾至十字形桿的頂部。
通過上述結構的配合使用解決了,現有污水處理裝置在使用時難以對生活污水進行定量排放過濾處理,由于生活污水中存在固體垃圾,從而大量生活污水一次性易導致過濾板堵塞,進而影響污水處理效率的問題。
(發明人:吳秋明)






