公布日:2024.03.01
申請日:2024.01.25
分類號:C02F1/52(2023.01)I;B01F25/4314(2022.01)I;B01F33/81(2022.01)I
摘要
本發明公開了一種污水絮凝自排料結構,屬于污水處理技術領域,該污水絮凝自排料結構,包括底部支撐架,所述輔助支撐結構頂部一側設有進水管,所述輔助支撐結構頂部還固定連接有與進水管相對應的頂部投藥機構,所述進水管的一端連接有螺旋混合機構;所述底部支撐架頂部另一側安裝有絮凝箱,所述絮凝箱內壁一側安裝有與圓孔相貫通的注水管;所述絮凝箱底部設置有用于自動排出絮凝物的絮凝排料機構,所述絮凝箱后端一側安裝有用于排出箱內上層清水的自動溢流排水機構。本發明通過設計絮凝排料機構,可以快速排出絮凝箱中堆積的沉淀物,并且可以避免排料口發生堵塞的情況,后續無需人工進行清理,操作十分方便。

權利要求書
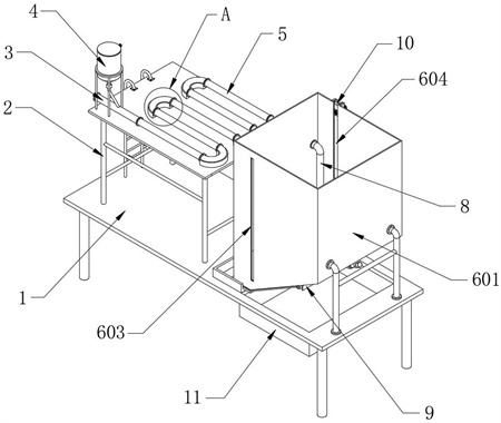
1.一種污水絮凝自排料結構,包括底部支撐架(1),其特征在于:所述底部支撐架(1)包括支撐臺(101),所述底部支撐架(1)頂部的一側固定連接有輔助支撐結構(2),所述輔助支撐結構(2)頂部一側設有進水管(3),所述輔助支撐結構(2)頂部還固定連接有與進水管(3)相對應的頂部投藥機構(4),所述進水管(3)的一端連接有螺旋混合機構(5);所述底部支撐架(1)頂部另一側安裝有絮凝箱(6),所述絮凝箱(6)包括位于支撐臺(101)頂部一側的主箱體(601),所述主箱體(601)與支撐臺(101)之間固定連接有側支撐架(602),所述主箱體(601)前端一側設置有觀察窗(603),所述主箱體(601)后端開設有溢流槽(604),所述主箱體(601)底部開設有排料口(605),所述主箱體(601)底部位于排料口(605)周側位置固定安裝有密封墊(606),所述主箱體(601)內壁一側的底部固定連接有斜擋板(607);所述螺旋混合機構(5)的另一端連接有引流管(7),所述引流管(7)的另一端與絮凝箱(6)連接,所述絮凝箱(6)外壁開設有與引流管(7)相貫通的圓孔,所述絮凝箱(6)內壁一側安裝有與圓孔相貫通的注水管(8);所述絮凝箱(6)底部設置有用于自動排出絮凝物的絮凝排料機構(9),所述絮凝排料機構(9)包括固定于主箱體(601)底部前后端的兩個轉動支座(901),兩個所述轉動支座(901)之間轉動連接有密封排料板(902),所述密封排料板(902)底部一側固定連接有固定板(903),所述主箱體(601)底部一側的中心還固定連接有安裝板(904),所述安裝板(904)上安裝有第一液壓缸(905),所述第一液壓缸(905)活塞桿的一端固定連接有固定推板(906),所述支撐臺(101)頂部還固定連接有支撐框架(907),所述支撐框架(907)一側的中心開設有導向滑槽(908),所述支撐框架(907)外壁一側的中心安裝有第二液壓缸(909),所述第二液壓缸(909)活塞桿的一端固定連接有支撐擋板(910);所述密封排料板(902)與固定板(903)為一體式結構,且密封排料板(902)整體呈傾斜結構設計,在關閉狀態下,密封排料板(902)的內側與密封墊(606)緊密貼合;并且第一液壓缸(905)的活塞桿處于收縮狀態,固定推板(906)遠離固定板(903);所述絮凝箱(6)后端一側安裝有用于排出箱內上層清水的自動溢流排水機構(10);所述自動溢流排水機構(10)包括固定于溢流槽(604)后端兩側的兩個導向滑軌(1001),兩個所述導向滑軌(1001)之間滑動連接有下密封滑座(1002),所述下密封滑座(1002)頂部固定連接有溢流滑座(1003),所述溢流滑座(1003)頂部固定連接有上密封滑座(1004),所述溢流滑座(1003)的中部開設有貫穿的溢流孔(1005),所述溢流滑座(1003)頂部的前端開設有安裝槽(1006),所述安裝槽(1006)內安裝有可拆卸的過濾網(1007),所述溢流滑座(1003)后端設有排水連接口(1008),所述溢流滑座(1003)頂部安裝有伺服電機(1009),其中一個所述導向滑軌(1001)上固定連接有固定齒條(1010),所述伺服電機(1009)的輸出端固定連接有與固定齒條(1010)相嚙合的驅動齒輪(1011);所述上密封滑座(1004)的高度高于伺服電機(1009)的頂部高度;所述底部支撐架(1)底部固定連接有位于絮凝箱(6)下方的導料框架(11)。
2.根據權利要求1所述的污水絮凝自排料結構,其特征在于,所述支撐臺(101)的一側安裝有第一爬梯(102),所述支撐臺(101)頂部遠離第一爬梯(102)的一側開設有落料孔(103),所述導料框架(11)與落料孔(103)相貫通。
3.根據權利要求1所述的污水絮凝自排料結構,其特征在于,所述輔助支撐結構(2)包括固定連接于底部支撐架(1)頂部一側支撐平臺(201),所述支撐平臺(201)的一側固定安裝有第二爬梯(202),所述支撐平臺(201)頂部固定安裝有多個彎管定位座(203)。
4.根據權利要求3所述的污水絮凝自排料結構,其特征在于,所述投藥機構(4)包括固定連接于支撐平臺(201)頂部的固定支架(401),所述固定支架(401)上固定連接有儲藥罐(402),所述儲藥罐(402)后端的頂部設置有加藥接口(403),所述儲藥罐(402)底部中心固定連接有投藥管(404),所述投藥管(404)上安裝有單向電磁閥(405)。
5.根據權利要求3所述的污水絮凝自排料結構,其特征在于,所述螺旋混合機構(5)包括多個混合管(501)和多個連接彎管(504),多個所述混合管(501)內均安裝有可拆卸的螺旋絞龍葉片(502),所述混合管(501)內壁兩側均安裝有固定卡環(503),多個所述連接彎管(504)分別安裝固定于對應彎管定位座(203)的頂部,多個所述混合管(501)和多個連接彎管(504)之間均通過螺栓固定,且多個混合管(501)和多個連接彎管(504)呈S形結構設置。
發明內容
本發明所要解決的技術問題在于克服上述現有技術的缺點,提供一種污水絮凝自排料結構。
解決上述技術問題所采用的技術方案是:一種污水絮凝自排料結構,包括底部支撐架,所述底部支撐架頂部的一側固定連接有輔助支撐結構,所述輔助支撐結構頂部一側設有進水管,所述輔助支撐結構頂部還固定連接有與進水管相對應的頂部投藥機構,所述進水管的一端連接有螺旋混合機構;
所述底部支撐架頂部另一側安裝有絮凝箱,所述螺旋混合機構的另一端連接有引流管,所述引流管的另一端與絮凝箱連接,所述絮凝箱外壁開設有與引流管相貫通的圓孔,所述絮凝箱內壁一側安裝有與圓孔相貫通的注水管;
所述絮凝箱底部設置有用于自動排出絮凝物的絮凝排料機構,所述絮凝箱后端一側安裝有用于排出箱內上層清水的自動溢流排水機構;
所述底部支撐架底部固定連接有位于絮凝箱下方的導料框架。
進一步的,所述底部支撐架包括支撐臺,所述支撐臺的一側安裝有第一爬梯,所述支撐臺頂部遠離第一爬梯的一側開設有落料孔,所述導料框架與落料孔相貫通。
通過上述技術方案,底部支撐架做為主體支撐結構,可以為輔助支撐結構和絮凝箱提供穩定的支撐,支撐臺一側的第一爬梯可以方便操作人員登上支撐臺,進行設備的日常維護或檢修;另外,落料孔的底部設有導料框架,導料框架可以對絮凝箱中排出的沉淀物起到導向作用,使沉淀物能夠精準的傾瀉在落料孔正下方的收料車斗中,以防止沉淀物在排料時四處溢散。
進一步的,所述輔助支撐結構包括固定連接于底部支撐架頂部一側的支撐平臺,所述支撐平臺的一側固定安裝有第二爬梯,所述支撐平臺頂部固定安裝有多個彎管定位座。
通過上述技術方案,輔助支撐結構可以為進水管、投藥機構、螺旋混合機構和引流管提供穩定的支撐,支撐平臺的一側設置有第二爬梯,可以方便操作人員登上支撐平臺進行設備的日常檢修和維護。
進一步的,所述投藥機構包括固定連接于支撐平臺頂部的固定支架,所述固定支架上固定連接有儲藥罐,所述儲藥罐后端的頂部設置有加藥接口,所述儲藥罐底部中心固定連接有投藥管,所述投藥管上安裝有單向電磁閥。
通過上述技術方案,儲藥罐用于存儲絮凝劑,絮凝劑可以通過管道經加藥接口泵入儲藥罐內,也可以人工定期加注;在污水處理過程中,污水會通過管道被送入進水管,與此同時,單向電磁閥會自動的打開,而儲藥罐內的絮凝劑會經投藥管注入進水管內,從而使絮凝劑能夠均勻的摻入進水管內的污水中,以實現自動投藥的目的。
進一步的,所述螺旋混合機構包括多個混合管和多個連接彎管,多個所述混合管內均安裝有可拆卸的螺旋絞龍葉片,所述混合管內壁兩側均安裝有固定卡環,多個所述連接彎管分別安裝固定于對應彎管定位座的頂部,多個所述混合管和多個連接彎管之間均通過螺栓固定,且多個混合管和多個連接彎管呈S形結構設置。
通過上述技術方案,螺旋混合機構做為混料機構,能夠在污水輸送的過程中完成與絮凝劑的充分混合;具體的,當污水經進水管進入混合管中時,由于混合管內安裝有螺旋絞龍葉片,當污水通過時,螺旋絞龍葉片能夠對流動中的污水起到攪動混合作用,從而使污水能夠與絮凝劑進一步充分混合,多個混合管和多個連接彎管呈S形結構設置,既可以起到連通輸送作用,同時,也可以延長污水與絮凝劑的混合時間,進而提高混合效率和混合質量;進一步的,螺旋絞龍葉片由于采取可拆卸結構設計,使得螺旋絞龍葉片可以定期拆卸,以便進行管道的內部清潔,混合管內壁兩側還安裝有固定卡環,兩端的固定卡環可以對螺旋絞龍葉片起到限位作用,以防止螺旋絞龍葉片在工作的過程中發生位移。
進一步的,所述絮凝箱包括位于支撐臺頂部一側的主箱體,所述主箱體與支撐臺之間固定連接有側支撐架,所述主箱體前端一側設置有觀察窗,所述主箱體后端開設有溢流槽,所述主箱體底部開設有排料口,所述主箱體底部位于排料口周側位置固定安裝有密封墊,所述主箱體內壁一側的底部固定連接有斜擋板。
通過上述技術方案,絮凝箱用于污水的絮凝沉淀,當污水與絮凝劑充分混合后,會經引流管、圓孔和注水管流入主箱體中,并在主箱體內不斷聚集,當主箱體內注滿污水后,在靜置過程中,污水中的絮凝物會在主箱體內緩慢沉淀,并堆積在主箱體底部形成沉淀物;主箱體前端一側設置有觀察窗,操作人員可以通過觀察窗觀察主箱體內污水的沉淀情況,以便快速判斷是否能夠進行排水和排料;進一步的,主箱體底部開設有大型的排料口,并且主箱體內壁一側的底部固定連接有斜擋板,在后續排料的過程中,可以一次性排出全部的沉淀物,可以有效避免沉淀物因堆積過多而排泄不干凈的情況,同時也可以避免沉淀物粘附在主箱體的內側壁上。
進一步的,所述絮凝排料機構包括固定于主箱體底部前后端的兩個轉動支座,兩個所述轉動支座之間轉動連接有密封排料板,所述密封排料板底部一側固定連接有固定板,所述主箱體底部一側的中心還固定連接有安裝板,所述安裝板上安裝有第一液壓缸,所述第一液壓缸活塞桿的一端固定連接有固定推板,所述支撐臺頂部還固定連接有支撐框架,所述支撐框架一側的中心開設有導向滑槽,所述支撐框架外壁一側的中心安裝有第二液壓缸,所述第二液壓缸活塞桿的一端固定連接有支撐擋板。
通過上述技術方案,旋轉的密封排料板可以完成對排料口的密封和開啟,在正常狀態下,密封排料板處于下垂狀態,當需要密封排料口時,啟動第一液壓缸,此時第一液壓缸的活塞桿會自動延伸,進而可以帶動固定推板同步移動,當固定推板接觸固定板時,會緩慢推動固定板進行旋轉,進而可以同步帶動密封排料板進行旋轉,直至密封排料板封堵住排料口,當密封排料板與排料口處的密封墊緊密貼合后,第二液壓缸的活塞桿會自動延伸,進而帶動支撐擋板向密封排料板的方向移動,當支撐擋板移動到位后,支撐擋板可以對密封排料板的底端起到支撐和限位作用,并且保證密封排料板能夠與排料口處的密封墊緊密貼合,此時即可控制第一液壓缸帶動固定推板收縮復位,密封排料板完全由支撐擋板進行支撐限位,在后續污水沉淀過程中,由于主箱體內存滿了污水,使得密封排料板所受的壓力較大,此時密封排料板的主要支撐受力點會位于支撐擋板上,從而可以避免第一液壓缸因受力過大而發生故障;進一步的,當污水沉淀完成,并且上層清水排泄完成后,可以控制第二液壓缸的活塞桿開始收縮,從而使密封排料板緩慢失去底部支撐,當支撐擋板完成撤回后,在重力作用下,密封排料板會快速自動下垂開啟,而主箱體內底部堆積的沉淀物也會自動下落,經排料口快速排出。
進一步的,所述密封排料板與固定板為一體式結構,且密封排料板整體呈傾斜結構設計,在關閉狀態下,密封排料板的內側與密封墊緊密貼合;并且第一液壓缸的活塞桿處于收縮狀態,固定推板遠離固定板。
通過上述技術方案,由于密封排料板整體呈傾斜結構設計,從而可以更方便卸料,也可以保證在卸料過程中沉淀物排泄的更加干凈。
進一步的,所述自動溢流排水機構包括固定于溢流槽后端兩側的兩個導向滑軌,兩個所述導向滑軌之間滑動連接有下密封滑座,所述下密封滑座頂部固定連接有溢流滑座,所述溢流滑座頂部固定連接有上密封滑座,所述溢流滑座的中部開設有貫穿的溢流孔,所述溢流滑座頂部的前端開設有安裝槽,所述安裝槽內安裝有可拆卸的過濾網,所述溢流滑座后端設有排水連接口,所述溢流滑座頂部安裝有伺服電機,其中一個所述導向滑軌上固定連接有固定齒條,所述伺服電機的輸出端固定連接有與固定齒條相嚙合的驅動齒輪。
通過上述技術方案,當主箱體內的污水沉淀完成后,絮凝物會沉淀在底部,而清水位于上層,此時可以啟動伺服電機,由伺服電機的輸出軸帶動驅動齒輪同步轉動,由于驅動齒輪與固定齒條相嚙合,使得驅動齒輪能夠帶動溢流滑座在兩個導向滑軌進行升降滑動,由于溢流滑座的底部和頂部分別固定連接有下密封滑座和上密封滑座,在正常狀態下,可以對溢流槽起到密封作用,溢流滑座在下移過程中,溢流滑座會緩慢下移至水面之下,此時,上層清水會經溢流孔向外流出,溢流滑座后端設有排水連接口,可以用于連接排水管道,使得清水可以經排水管道引入指定的蓄水池中進行集中收集,溢流滑座前端的安裝槽內還安裝過濾網,過濾網可以對清水中漂浮的少量懸浮雜物進行攔截過濾,以防止其進入排水管道中;進一步的,通過采取溢流的方式排出主箱體中的上層清水,既可以起到快速排水作用,同時在排水過程中也可以防止下層的沉淀物發生攪動,從而可以實現更好的固液分離效果。
進一步的,所述上密封滑座的高度高于伺服電機的頂部高度。
通過上述技術方案,由于上密封滑座的高度高于伺服電機的頂部高度,因此即使溢流滑座完全浸入水中,也可以防止主箱體中的上層清水經溢流滑座頂部溢出,更可以對伺服電機起到一定的保護作用;由于下密封滑座、溢流滑座和上密封滑座的前端緊貼主箱體的后端表面,從而可以起到更好的密封作用,防止主箱體中的水體發生泄漏。
本發明的有益效果如下:(1)本發明通過設計螺旋混合機構,由于混合管內安裝有螺旋絞龍葉片,污水通過時,螺旋絞龍葉片能夠對流動中的污水起到攪動混合作用,從而使污水能夠與絮凝劑進一步充分混合,多個混合管和多個連接彎管呈S形結構設置,既可以起到連通輸送作用,同時,也可以延長污水與絮凝劑的混合時間,進而提高混合效率和混合質量;(2)本發明通過設計絮凝排料機構,可以快速排出絮凝箱中堆積的沉淀物,并且可以避免排料口發生堵塞的情況,后續無需人工進行清理,操作十分方便;(3)本發明通過設計自動溢流排水機構,溢流排水方式既可以起到快速排水作用,同時在排水過程中也可以防止下層的沉淀物發生攪動,從而可以實現更好的固液分離效果,從而使排水和排泥可以分別完成,全程無需人工干預,也更加省時省力。
(發明人:劉建慧;王香玲;王華光;郭旭;王婷)






