公布日:2024.03.01
申請日:2024.01.09
分類號:C02F1/52(2023.01)I;C02F1/00(2023.01)I;B01F27/921(2022.01)I;C02F101/10(2006.01)N
摘要
本發明公開了一種生活污水高效除磷系統,包括控制面板以及從下至上設置的下殼體和上殼體,其中上殼體內轉動設置有下料箱,所述下料箱的底部設置有下料結構,所述上殼體上設置有用于驅動下料箱旋轉的旋轉驅動組件,下料箱內設置有用于對其內粉料進行攪拌撥動的撥料桿組件,所述上殼體的底側設置有用于將粉料和污水進行混合的螺旋混合管道組件;在旋轉驅動組件驅動下料箱旋轉的情況下,通過擋液板與下殼體形成的環形通液隙可以將流動的生活污水沿下殼體內壁呈環形向下流動至漏斗內,可以實現對進入生活污水流動的攤薄,由下料結構轉動過程中向下導出粉料來實現與生活污水的充分大面積接觸與混合,大大增加了粉料與生活污水的接觸面。

權利要求書
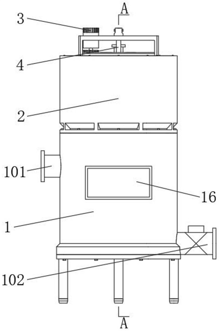
1.一種生活污水高效除磷系統,其特征在于:包括控制面板(16)以及從下至上設置的下殼體(1)和上殼體(2),其中上殼體(2)內轉動設置有下料箱(5),所述下料箱(5)的底部設置有下料結構(7),所述上殼體(2)上設置有用于驅動下料箱(5)旋轉的旋轉驅動組件(3),下料箱(5)內設置有用于對其內粉料進行攪拌撥動的撥料桿組件(4),所述上殼體(2)的底側設置有用于將粉料和污水進行混合的螺旋混合管道組件(8);在旋轉驅動組件(3)驅動下料箱(5)旋轉的情況下,撥料桿組件(4)與下料箱(5)彼此相對轉動,下料結構(7)向下導出的粉料呈圓形面積下落,所述下殼體(1)內可拆卸設置有篩濾結構(6),所述下殼體(1)的上部一側設置有用于將過濾后液體排出的排液管(101),所述下殼體(1)的下部一側設置有用于將過濾后廢渣排出的排污管(102),所述排污管(102)上設置有用于控制其通斷的閥門(105)。
2.根據權利要求1所述一種生活污水高效除磷系統,其特征在于:所述下料箱(5)的外側壁和上殼體(2)的內側壁之間設置有呈圓環狀的擋液板(12),所述擋液板(12)的橫截面形狀呈L型,所述擋液板(12)與上殼體(2)的內側壁之間形成有環形通液隙(13),所述擋液板(12)與上殼體(2)的內側壁之間通過若干個連接軸(11)彼此固定連接,所述擋液板(12)的上側和上殼體(2)的上側之間通過螺栓連接有環形蓋板(10),所述環形蓋板(10)上設置有進液管道(15),所述擋液板(12)內側壁上設置有用于對下料箱(5)進行支撐轉動的回轉支承(14),所述擋液板(12)上固定設置有用于對旋轉驅動組件(3)和撥料桿組件(4)進行支撐的支架(9)。
3.根據權利要求2所述一種生活污水高效除磷系統,其特征在于:所述下料箱(5)的內部中空且上側開口,所述下料箱(5)的上側開口處設置有箱蓋(501),箱蓋(501)上開設有若干個加料口,每個加料口處均可拆卸設置有密封蓋(502),所述旋轉驅動組件(3)包括固定設置在箱蓋(501)外側邊沿的外齒圈(303),所述外齒圈(303)內側嚙合連接有內齒輪(302),所述支架(9)上固定設置有第一電機(301),所述第一電機(301)的輸出軸端與內齒輪(302)的軸端彼此配合連接,所述控制面板(16)的輸出端電連接至第一電機(301)的輸入端。
4.根據權利要求3所述一種生活污水高效除磷系統,其特征在于:所述撥料桿組件(4)包括轉動設置在下料箱(5)內的中心軸桿(401),中心軸桿(401)的上端穿過下料箱(5)頂側并與支架(9)彼此固定連接,所述中心軸桿(401)通過軸承與箱蓋(501)彼此轉動連接,位于下料箱(5)內的所述中心軸桿(401)上設置有振動電機(402),振動電機(402)上設置有若干個撥料桿(403),所述中心軸桿(401)的底端延伸至下料箱(5)內部底側并固定連接有以中心軸桿(401)中軸線為中心均勻分布的兩個以上刮底板(404),所述控制面板(16)的輸出端電連接至振動電機(402)的輸入端。
5.根據權利要求1所述一種生活污水高效除磷系統,其特征在于:所述下料結構(7)設置有以下料箱(5)轉動中軸線為中心等角度均勻分布的兩個以上,所述下料結構(7)包括開設在下料箱(5)底側的撥料孔道(706),所述撥料孔道(706)的內側輪廓形狀呈圓柱體形狀,所述撥料孔道(706)的上下側開設有下料通槽(703),所述撥料孔道(706)內轉動設置有下料轉筒(701),所述下料轉筒(701)的外側沿其圓周方向開設有等角度均勻分布的三個以上撥料槽(702),所述撥料槽(702)的橫截面形狀呈V型,所述下料轉筒(701)的其中一個軸端由固定設置在下料箱(5)內的第二電機(704)驅動轉動,所述第二電機(704)設置在下料箱(5)外部一側開設有的安裝槽內,所述安裝槽的一側開口且開口處通過螺栓連接有電機蓋板(705),所述控制面板(16)的輸出端電連接至第二電機(704)的輸入端。
6.根據權利要求1所述一種生活污水高效除磷系統,其特征在于:所述螺旋混合管道組件(8)包括漏斗(801),所述漏斗(801)的外形呈上寬下窄的錐體形狀,所述上殼體(2)的下側開口且開口處邊沿與漏斗(801)的上側邊沿彼此固定連接,所述漏斗(801)的下端口處設置有混合筒(802),混合筒(802)內轉動設置有轉軸(803),轉軸(803)的外側固定設置有螺旋肋板(804),所述轉軸(803)的上端固定連接至下料箱(5)的底側中部位置。
7.根據權利要求6所述一種生活污水高效除磷系統,其特征在于:所述篩濾結構(6)包括滑動套設在混合筒(802)外側的套環(607),所述套環(607)的外側固定設置有篩濾板(601),所述篩濾板(601)的外側邊沿套設有與下殼體(1)內壁抵接密封的密封塞(603),所述篩濾板(601)的外側邊沿凸起設置有環形凸起(602),所述密封塞(603)的內側壁開設有用于與環形凸起(602)相配合的卡槽,所述套環(607)的下側固定設置有兩個以上把手(610)。
8.根據權利要求7所述一種生活污水高效除磷系統,其特征在于:所述密封塞(603)的外側邊沿開設有兩個以上環形嵌槽(604),每個環形嵌槽(604)內均設置有擦拭圈(605),擦拭圈(605)采用海綿材料制成。
9.根據權利要求1所述一種生活污水高效除磷系統,其特征在于:所述下殼體(1)的底側開口且開口處通過螺栓密封連接有底板(103),底板(103)的下側沿其邊沿設置有均勻分布的若干個支柱(104)。
10.一種生活污水高效除磷方法,其特征在于:包括以下步驟:S1:生活污水由進液管道(15)進入到下殼體(1)內,進入下殼體(1)內的生活污水通過擋液板(12)與下殼體(1)形成的環形通液隙(13)繼續向下流動,環形通液隙(13)能夠將流動的生活污水沿下殼體(1)內壁呈環形向下流動至漏斗(801)內;S2:在S1步驟中,旋轉驅動組件(3)驅動下料箱(5)在下殼體(1)內轉動,此時,下料箱(5)內側的下料結構(7)將其內粉料向下撥動,呈圓形面積向下落的粉料與生活污水充分接觸,并進入到混合筒(802)內,下料箱(5)轉動過程中,下料箱(5)帶動轉軸(803)及螺旋肋板(804)轉動,能夠實現粉料與生活污水在混合筒(802)內的充分混合;S3:粉料與生活污水內的磷發生反應生成沉淀物,反應后污水與沉淀物落入到下殼體(1)內部,并持續上升,在此過程中,沉淀物在下殼體(1)內底部沉淀堆積,篩濾結構(6)實現對污水與沉淀物的分離,分離后的污水從排液管(101)排出;S4:在下殼體(1)內底部沉淀物積累到一定高度及體積后,沉淀物排出時,打開排污管(102)上的閥門(105)來將沉淀物排出。
發明內容
(一)解決的技術問題
本發明的目的就在于為了解決上述問題而提供一種生活污水高效除磷系統。
(二)技術方案
為實現上述目的,本發明提供了以下技術方案:
本發明提供的一種生活污水高效除磷系統,包括控制面板以及從下至上設置的下殼體和上殼體,其中上殼體內轉動設置有下料箱,所述下料箱的底部設置有下料結構,所述上殼體上設置有用于驅動下料箱旋轉的旋轉驅動組件,下料箱內設置有用于對其內粉料進行攪拌撥動的撥料桿組件,所述上殼體的底側設置有用于將粉料和污水進行混合的螺旋混合管道組件;
在旋轉驅動組件驅動下料箱旋轉的情況下,撥料桿組件與下料箱彼此相對轉動,下料結構向下導出的粉料呈圓形面積下落,所述下殼體內可拆卸設置有篩濾結構,所述下殼體的上部一側設置有用于將過濾后液體排出的排液管,所述下殼體的下部一側設置有用于將過濾后廢渣排出的排污管,所述排污管上設置有用于控制其通斷的閥門。
進一步,所述下料箱的外側壁和上殼體的內側壁之間設置有呈圓環狀的擋液板,所述擋液板的橫截面形狀呈L型,所述擋液板與上殼體的內側壁之間形成有環形通液隙,所述擋液板與上殼體的內側壁之間通過若干個連接軸彼此固定連接,所述擋液板的上側和上殼體的上側之間通過螺栓連接有環形蓋板,所述環形蓋板上設置有進液管道,所述擋液板內側壁上設置有用于對下料箱進行支撐轉動的回轉支承,所述擋液板上固定設置有用于對旋轉驅動組件和撥料桿組件進行支撐的支架。
進一步,所述下料箱的內部中空且上側開口,所述下料箱的上側開口處設置有箱蓋,箱蓋上開設有若干個加料口,每個加料口處均可拆卸設置有密封蓋,所述旋轉驅動組件包括固定設置在箱蓋外側邊沿的外齒圈,所述外齒圈內側嚙合連接有內齒輪,所述支架上固定設置有第一電機,所述第一電機的輸出軸端與內齒輪的軸端彼此配合連接,所述控制面板的輸出端電連接至第一電機的輸入端。
進一步,所述撥料桿組件包括轉動設置在下料箱內的中心軸桿,中心軸桿的上端穿過下料箱頂側并與支架彼此固定連接,所述中心軸桿通過軸承與箱蓋彼此轉動連接,位于下料箱內的所述中心軸桿上設置有振動電機,振動電機上設置有若干個撥料桿,所述中心軸桿的底端延伸至下料箱內部底側并固定連接有以中心軸桿中軸線為中心均勻分布的兩個以上刮底板,所述控制面板的輸出端電連接至振動電機的輸入端。
進一步,所述下料結構設置有以下料箱轉動中軸線為中心等角度均勻分布的兩個以上,所述下料結構包括開設在下料箱底側的撥料孔道,所述撥料孔道的內側輪廓形狀呈圓柱體形狀,所述撥料孔道的上下側開設有下料通槽,所述撥料孔道內轉動設置有下料轉筒,所述下料轉筒的外側沿其圓周方向開設有等角度均勻分布的三個以上撥料槽,所述撥料槽的橫截面形狀呈V型,所述下料轉筒的其中一個軸端由固定設置在下料箱內的第二電機驅動轉動,所述第二電機設置在下料箱外部一側開設有的安裝槽內,所述安裝槽的一側開口且開口處通過螺栓連接有電機蓋板,所述控制面板的輸出端電連接至第二電機的輸入端。
進一步,所述螺旋混合管道組件包括漏斗,所述漏斗的外形呈上寬下窄的錐體形狀,所述上殼體的下側開口且開口處邊沿與漏斗的上側邊沿彼此固定連接,所述漏斗的下端口處設置有混合筒,混合筒內轉動設置有轉軸,轉軸的外側固定設置有螺旋肋板,所述轉軸的上端固定連接至下料箱的底側中部位置。
進一步,所述篩濾結構包括滑動套設在混合筒外側的套環,所述套環的外側固定設置有篩濾板,所述篩濾板的外側邊沿套設有與下殼體內壁抵接密封的密封塞,所述篩濾板的外側邊沿凸起設置有環形凸起,所述密封塞的內側壁開設有用于與環形凸起相配合的卡槽,所述套環的下側固定設置有兩個以上把手。
進一步,所述密封塞的外側邊沿開設有兩個以上環形嵌槽,每個環形嵌槽內均設置有擦拭圈,擦拭圈采用海綿材料制成。
進一步,所述下殼體的底側開口且開口處通過螺栓密封連接有底板,底板的下側沿其邊沿設置有均勻分布的若干個支柱。
一種生活污水高效除磷方法,包括以下步驟:
S1:生活污水由進液管道進入到下殼體內,進入下殼體內的生活污水通過擋液板與下殼體形成的環形通液隙繼續向下流動,環形通液隙能夠將流動的生活污水沿下殼體內壁呈環形向下流動至漏斗內;
S2:在S1步驟中,旋轉驅動組件驅動下料箱在下殼體內轉動,此時,下料箱內側的下料結構將其內粉料向下撥動,呈圓形面積向下落的粉料與生活污水充分接觸,并進入到混合筒內,下料箱轉動過程中,下料箱帶動轉軸及螺旋肋板轉動,能夠實現粉料與生活污水在混合筒內的充分混合;
S3:粉料與生活污水內的磷發生反應生成沉淀物,反應后污水與沉淀物落入到下殼體內部,并持續上升,在此過程中,沉淀物在下殼體內底部沉淀堆積,篩濾結構實現對污水與沉淀物的分離,分離后的污水從排液管排出;
S4:在下殼體內底部沉淀物積累到一定高度及體積后,沉淀物排出時,打開排污管上的閥門來將沉淀物排出。
(三)有益效果
與現有技術相比,本發明的有益效果在于:
1、通過擋液板與下殼體形成的環形通液隙可以將流動的生活污水沿下殼體內壁呈環形向下流動至漏斗內,可以實現對進入生活污水流動的攤薄,由下料結構轉動過程中向下導出粉料來實現與生活污水的充分大面積接觸與混合,大大增加了粉料與生活污水的接觸面;
2、螺旋混合管道組件中的轉軸在下料箱的旋轉帶動下,可以實現粉料與生活污水在混合筒內的充分混合,螺旋肋板可以實現充分混合攪拌的同時,還可以加大粉料與生活污水在混合筒內的流動長度;
3、篩濾結構在下殼體內的高度位置能夠進行上下調節,并位于排液管和排污管上下之間的位置,且在將篩濾結構從下殼體內取出時,擦拭圈還可以實現對下殼體內壁的清洗擦拭;
4、在下殼體內底部沉淀物積累到一定高度及體積后,沉淀物排出時,可以打開排污管上的閥門來將沉淀物排出,快速方便。
(發明人:宋麗紅;劉洋;賈博芳;張倩;張阿娜)






