公布日:2024.03.15
申請日:2024.01.04
分類號:B01D29/64(2006.01)I;B01D29/01(2006.01)I;B01D29/58(2006.01)I;B01D29/96(2006.01)I;B01D35/30(2006.01)I;C02F1/00(2023.01)I;B01F27/90(2022.01)I
摘要
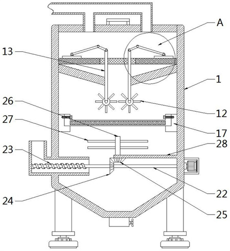
本發明公開了一種便于維護的污水處理罐,包括罐體,所述罐體底部左右兩邊均安裝有立柱,且立柱底端均固定安裝有防震底座,頂蓋后側上方連接安裝有進水管,罐體內部上方水平設置有第一濾網,且第一濾網上方表面左右兩邊均設置有清理板,第一濾網下方設置有斜坡,傳動槳下方設置有第二濾網,并且第二濾網前側開設有拉門,第二濾網下方設置有攪拌桿,且攪拌桿下方左側設置有傳輸輥,傳輸輥左端連接安裝有進料口,罐體內部右側下方水平設置有連接板,且罐體底部設置有出水口。該便于維護的污水處理罐通過多重濾網對污水進行過濾,同時通過水流提供動力清潔濾網防止堵塞,同時設置可拆卸濾網便于維護清洗更換,同時可添加凈化劑提高無數凈化效率。

權利要求書
1.一種便于維護的污水處理罐,包括罐體(1),其特征在于:所述罐體(1)底部左右兩邊均安裝有立柱(2),且立柱(2)底端均固定安裝有防震底座(3),所述罐體(1)頂面前半部分鉸接安裝有頂蓋(4),且頂蓋(4)后側上方連接安裝有進水管(5),所述罐體(1)內部上方水平設置有第一濾網(9),且第一濾網(9)上方表面左右兩邊均設置有清理板(16),所述第一濾網(9)下方設置有斜坡(11),且斜坡(11)固定于罐體(1)內壁左右兩邊,并且斜坡(11)下方左右兩邊均安裝有傳動槳(12),所述傳動槳(12)下方設置有第二濾網(19),且第二濾網(19)安裝連接于固定塊(17)之間,并且第二濾網(19)前側開設有拉門(7),所述第二濾網(19)下方設置有攪拌桿(27),且攪拌桿(27)下方左側設置有傳輸輥(23),并且傳輸輥(23)左端連接安裝有進料口(8),所述罐體(1)內部右側下方水平設置有連接板(28),且罐體(1)底部設置有出水口(6)。
2.根據權利要求1所述的一種便于維護的污水處理罐,其特征在于:所述進水管(5)底部分為左右兩個管道,且兩個管道底端均貫穿于罐體(1)上表面左右兩邊,并且兩個管道對進水管(5)起到分流作用。
3.根據權利要求2所述的一種便于維護的污水處理罐,其特征在于:所述進水管(5)底端均對準下方第一濾網(9)左右兩側,且第一濾網(9)左右兩側為細濾網,并且第一濾網(9)中間開設有粗濾網(10)。
4.根據權利要求1所述的一種便于維護的污水處理罐,其特征在于:所述罐體(1)內部中間左右兩邊均通過轉軸連接安裝有傳動槳(12),且轉軸連接于罐體(1)內部前后壁,并且傳動槳(12)位于斜坡(11)下端通過水流帶動構成轉動結構。
5.根據權利要求4所述的一種便于維護的污水處理罐,其特征在于:所述傳動槳(12)連接轉軸上方均豎直連接安裝有傳動帶(13),且傳動帶(13)上端通過轉軸連接安裝有第一連桿(14),并且轉軸連接于罐體(1)內部前后側。
6.根據權利要求5所述的一種便于維護的污水處理罐,其特征在于:所述第一連桿(14)活動連接安裝有第二連桿(15),且第二連桿(15)末端連接安裝有清理板(16)構成左右往復移動結構。
7.根據權利要求1所述的一種便于維護的污水處理罐,其特征在于:所述罐體(1)內部中間左右兩側均固定安裝有固定塊(17),且固定塊(17)靠內側開設有螺紋口(18),所述固定塊(17)之間水平連接安裝有第二濾網(19),且第二濾網(19)左右兩側均貫穿安裝有螺釘(20),并且螺釘(20)與螺紋口(18)螺紋連接對第二濾網(19)構成固定結構。
8.根據權利要求1所述的一種便于維護的污水處理罐,其特征在于:所述罐體(1)右側下方外部固定安裝有驅動電機(21),且驅動電機(21)左側輸出端連接安裝有第一轉桿(22),所述第一轉桿(22)左端固定連接安裝傳輸輥(23),且傳輸輥(23)貫穿于罐體(1)左側連接于進料口(8)內部構成轉動運輸結構。
9.根據權利要求8所述的一種便于維護的污水處理罐,其特征在于:所述第一轉桿(22)中間外側固定安裝有第一錐齒輪(24),且第一錐齒輪(24)上端右側齒紋連接安裝有第二錐齒輪(25),所述第二錐齒輪(25)上端連接于連接板(28)底端,且第二錐齒輪(25)上端連接安裝有第二轉桿(26),并且第二轉桿(26)外徑固定安裝有若干攪拌桿(27)構成轉動攪拌結構。
10.一種便于維護的污水處理罐及其污水處理方法,其特征在于:所述便于維護的污水處理罐的污水處理方法如下:S1,污水處理罐通過進水管(5)排放污水進入罐體(1),且污水通過進水管(5)底部兩個管道進行分流接入罐體(1)內部;S2,進水管(5)中的污水進入罐體(1)首先接觸第一濾網(9)左右兩側的細濾網進行過濾,左右兩側流水對中流時通過中間粗濾網(10)進行二次過濾,且細濾網下方的污水通過斜坡(11)同時將水流集中對中流向;S3,當水流集中對中向下流落至觸碰傳動槳(12)時可帶動傳動槳(12)進行轉動,通過傳動帶(13)可帶動第一連桿(14)轉動,拉動第二連桿(15)進行左右移動,當第二連桿(15)帶動清理板(16)左右移動時可對第一濾網(9)上表面堆積物進行推開,防止污水雜質堵塞第一濾網(9);S4,第二濾網(19)對污水進行二次過濾,且第二濾網(19)通過螺釘(20)安裝于罐體(1)內部,打開密封拉門(7)可以對第二濾網(19)進行拆卸清洗或者更換;S5,從進料口(8)可放置污水凈化劑等材料,通過啟動驅動電機(21)其輸出端帶動第一轉桿(22)轉動,進而帶動傳輸輥(23)轉動將進料口(8)投放的凈化劑等運輸至罐體(1)內部,當第一轉桿(22)轉動時帶動第一錐齒輪(24)轉動,進而齒紋連接的第二錐齒輪(25)同時轉動帶動第二轉桿(26),帶動攪拌桿(27)轉動使得過濾后的污水與凈化劑進行充分攪拌反應去除污水雜質;S6,打開出水口(6)閥門排出處理后的污水。
發明內容
本發明的目的在于提供一種便于維護的污水處理罐及其污水處理方法,以解決上述背景技術中提出污水進入處理罐易出現堵塞以及污水處理效果不夠理想的問題。
為實現上述目的,本發明提供如下技術方案:
一種便于維護的污水處理罐,包括罐體,所述罐體底部左右兩邊均安裝有立柱,且立柱底端均固定安裝有防震底座,所述罐體頂面前半部分鉸接安裝有頂蓋,且頂蓋后側上方連接安裝有進水管,所述罐體內部上方水平設置有第一濾網,且第一濾網上方表面左右兩邊均設置有清理板,所述第一濾網下方設置有斜坡,且斜坡固定于罐體內壁左右兩邊,并且斜坡下方左右兩邊均安裝有傳動槳,所述傳動槳下方設置有第二濾網,且第二濾網安裝連接于固定塊之間,并且第二濾網前側開設有拉門,所述第二濾網下方設置有攪拌桿,且攪拌桿下方左側設置有傳輸輥,并且傳輸輥左端連接安裝有進料口,所述罐體內部右側下方水平設置有連接板,且罐體底部設置有出水口。
優選的,所述進水管底部分為左右兩個管道,且兩個管道底端均貫穿于罐體上表面左右兩邊,并且兩個管道對進水管起到分流作用。
采用上述技術方案,污水處理罐通過進水管排放污水進入罐體,設置為兩個管道進入便于對污水起到分流作用,防止污水流速過快導致大體積的雜質破壞罐體內部設施,保證其使用壽命。
優選的,所述進水管底端均對準下方第一濾網左右兩側,且第一濾網左右兩側為細濾網,并且第一濾網中間開設有粗濾網。
采用上述技術方案,進水管中的污水進入罐體首先接觸第一濾網左右兩側的細濾網進行過濾,左右兩側流水對中流時通過中間粗濾網進行二次過濾,且細濾網下方的污水通過斜坡同時將水流集中對中流向,便于為下方傳動槳的轉動提供動力,節能環保。
優選的,所述罐體內部中間左右兩邊均通過轉軸連接安裝有傳動槳,且轉軸連接于罐體內部前后壁,并且傳動槳位于斜坡下端通過水流帶動構成轉動結構。
采用上述技術方案,當水流集中對中流,向下落至觸碰傳動槳時可帶動傳動槳進行轉動,傳動槳對水流進行一定的限制流速作用同時轉動為上方的清理板移動提供機械動力。
優選的,所述傳動槳連接轉軸上方均豎直連接安裝有傳動帶,且傳動帶上端通過轉軸連接安裝有第一連桿,并且轉軸連接于罐體內部前后側。
采用上述技術方案,當傳動槳轉動時通過傳動帶可帶動第一連桿轉動,為第一濾網上表面的清理板移動提供機械動力。
優選的,所述第一連桿活動連接安裝有第二連桿,且第二連桿末端連接安裝有清理板構成左右往復移動結構。
采用上述技術方案,當第一連桿轉動拉動第二連桿進行左右移動,當第二連桿帶動清理板左右移動時可對第一濾網上表面堆積物進行推開,防止污水雜質堵塞第一濾網影響水流處理。
優選的,所述罐體內部中間左右兩側均固定安裝有固定塊,且固定塊靠內側開設有螺紋口,所述固定塊之間水平連接安裝有第二濾網,且第二濾網左右兩側均貫穿安裝有螺釘,并且螺釘與螺紋口螺紋連接對第二濾網構成固定結構。
采用上述技術方案,第二濾網對污水進行二次過濾,且第二濾網通過螺釘安裝于罐體內部,打開密封拉門可以對第二濾網進行拆卸清洗或者更換,維護污水處理罐內部設施衛生條件,同時便于維修處理。
優選的,所述罐體右側下方外部固定安裝有驅動電機,且驅動電機左側輸出端連接安裝有第一轉桿,所述第一轉桿左端固定連接安裝傳輸輥,且傳輸輥貫穿于罐體左側連接于進料口內部構成轉動運輸結構。
采用上述技術方案,從進料口可放置污水凈化劑等材料,通過啟動驅動電機其輸出端帶動第一轉桿轉動,進而帶動傳輸輥轉動將進料口投放的凈化劑等運輸至罐體內部,從而對污水進行進一步處理,提高污水處理效率。
優選的,所述第一轉桿中間外側固定安裝有第一錐齒輪,且第一錐齒輪上端右側齒紋連接安裝有第二錐齒輪,所述第二錐齒輪上端連接于連接板底端,且第二錐齒輪上端連接安裝有第二轉桿,并且第二轉桿外徑固定安裝有若干攪拌桿構成轉動攪拌結構。
采用上述技術方案,當第一轉桿轉動時帶動第一錐齒輪轉動,進而齒紋連接的第二錐齒輪同時轉動帶動第二轉桿,帶動攪拌桿轉動使得過濾后的污水與凈化劑進行充分攪拌反應,去除污水雜質,提高污水凈化效率。
優選的,所述便于維護的污水處理罐的污水處理方法如下:
S1,污水處理罐通過進水管排放污水進入罐體,且污水通過進水管底部兩個管道進行分流接入罐體內部;
S2,進水管中的污水進入罐體首先接觸第一濾網左右兩側的細濾網進行過濾,左右兩側流水對中流時通過中間粗濾網進行二次過濾,且細濾網下方的污水通過斜坡同時將水流集中對中流向;
S3,當水流集中對中向下流落至觸碰傳動槳時可帶動傳動槳進行轉動,通過傳動帶可帶動第一連桿轉動,拉動第二連桿進行左右移動,當第二連桿帶動清理板左右移動時可對第一濾網上表面堆積物進行推開,防止污水雜質堵塞第一濾網;
S4,第二濾網對污水進行二次過濾,且第二濾網通過螺釘安裝于罐體內部,打開密封拉門可以對第二濾網進行拆卸清洗或者更換;
S5,從進料口可放置污水凈化劑等材料,通過啟動驅動電機其輸出端帶動第一轉桿轉動,進而帶動傳輸輥轉動將進料口投放的凈化劑等運輸至罐體內部,當第一轉桿轉動時帶動第一錐齒輪轉動,進而齒紋連接的第二錐齒輪同時轉動帶動第二轉桿,帶動攪拌桿轉動使得過濾后的污水與凈化劑進行充分攪拌反應去除污水雜質;
S6,打開出水口閥門排出處理后的污水。
采用上述技術方案,通過多重濾網對污水進行過濾,同時通過水流提供動力清潔濾網防止堵塞,同時設置可拆卸濾網便于維護清洗更換,同時可添加凈化劑提高無數凈化效率。
與現有技術相比,本發明的有益效果是:該便于維護的污水處理罐及其污水處理方法,
1、設置有進水管設置雙管道進行過濾分流,所述進水管底部分為左右兩個管道,且兩個管道底端均貫穿于罐體上表面左右兩邊,并且兩個管道對進水管起到分流作用,所述進水管底端均對準下方第一濾網左右兩側,且第一濾網左右兩側為細濾網,并且第一濾網中間開設有粗濾網,污水處理罐通過進水管排放污水進入罐體,設置為兩個管道進入便于對污水起到分流作用,防止污水流速過快導致大體積的雜質破壞罐體內部設施,保證其使用壽命,進水管中的污水進入罐體首先接觸第一濾網左右兩側的細濾網進行過濾,左右兩側流水對中流時通過中間粗濾網進行二次過濾,且細濾網下方的污水通過斜坡同時將水流集中對中流向,;
2、設置有防濾網堵塞的節能清潔板,所述罐體內部中間左右兩邊均通過轉軸連接安裝有傳動槳,且轉軸連接于罐體內部前后壁,并且傳動槳位于斜坡下端通過水流帶動構成轉動結構,所述傳動槳連接轉軸上方均豎直連接安裝有傳動帶,且傳動帶上端通過轉軸連接安裝有第一連桿,并且轉軸連接于罐體內部前后側,所述第一連桿活動連接安裝有第二連桿,且第二連桿末端連接安裝有清理板構成左右往復移動結構,當第一連桿轉動拉動第二連桿進行左右移動,當第二連桿帶動清理板左右移動時可對第一濾網上表面堆積物進行推開,防止污水雜質堵塞第一濾網影響水流處理;
3、設置有添加凈化劑充分攪拌凈化污水結構,所述罐體右側下方外部固定安裝有驅動電機,且驅動電機左側輸出端連接安裝有第一轉桿,所述第一轉桿左端固定連接安裝傳輸輥,且傳輸輥貫穿于罐體左側連接于進料口內部構成轉動運輸結構,所述第一轉桿中間外側固定安裝有第一錐齒輪,且第一錐齒輪上端右側齒紋連接安裝有第二錐齒輪,所述第二錐齒輪上端連接于連接板底端,且第二錐齒輪上端連接安裝有第二轉桿,并且第二轉桿外徑固定安裝有若干攪拌桿構成轉動攪拌結構,從進料口可放置污水凈化劑等材料,通過啟動驅動電機其輸出端帶動第一轉桿轉動,進而帶動傳輸輥轉動將進料口投放的凈化劑等運輸至罐體內部,攪拌桿轉動從而對污水進行進一步處理,使得過濾后的污水與凈化劑進行充分攪拌反應,去除污水雜質,提高污水凈化效率。
(發明人:賀挺挺;錢燕;張云其;賀超挺;梁發明)






