公布日:2024.03.15
申請日:2023.12.29
分類號:C02F7/00(2006.01)I;C02F1/20(2023.01)I;C02F103/20(2006.01)N
摘要
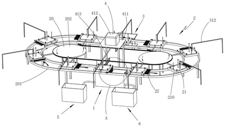
本發明公開了一種牲畜養殖污水排放處理裝置,包括曝氣池本體、去泡裝置、清理裝置及動力裝置,曝氣池本體包括通過隔板分隔的曝氣池及中轉池以及控制組件;去泡裝置包括回轉經過曝氣池本體上方的運送組件、陣列設置在運送組件上的滑動架、通過鎖定機構設置在滑動架上且可伸入曝氣池的濾板機構以及可在中轉池內移動的泡沫刮板;清理裝置包括沿運送組件回轉方向設置在曝氣池本體后側且沿導軌與濾板機構同步下的清理組件,清理組件可橫移與濾板機構及刮泡組件接觸,濾板機構和泡沫刮板收集曝氣池本體中產生的泡沫及泡沫攜帶的雜質,之后移動至清理組件處進行濾板機構和泡沫刮板的清理,大大提高了濾板機構的清理效率,進而提高污水處理效率。

權利要求書
1.一種牲畜養殖污水排放處理裝置,包括中和反應池(5)及沉淀池(6),其特征在于,還包括:曝氣池本體(1),所述曝氣池本體(1)包括通過隔板(10)分隔且分別與所述中和反應池(5)及所述沉淀池(6)連通的曝氣池(11)及中轉池(12)所述隔板(10)底部設置有控制所述曝氣池(11)及所述中轉池(12)通斷的控制組件(13);去泡裝置(2),所述去泡裝置(2)包括回轉設置且經過曝氣池本體(1)上方的運送組件(20)、若干組沿所述運送組件(20)回轉方向陣列設置且可伸入所述曝氣池(11)內的去泡組件(21)以及對應轉動安裝在所述去泡組件(21)一側且可在所述中轉池(12)內移動的刮泡組件(22);所述去泡組件(21)包括滑動設置在所述運送組件(20)上的滑動架(210)、通過鎖定機構(213)固定設置在所述滑動架(210)內的濾板機構(211)以及設置在所述濾板機構(211)一側且控制該濾板機構(211)中的濾孔大小的限位機構(212),所述濾板機構(211)與所述控制組件(13)可抵觸設置;清理裝置(3),所述清理裝置(3)包括沿所述運送組件(20)回轉方向設置在所述曝氣池本體(1)后側且沿導軌(32)與所述濾板機構(211)同步下的清理組件(31),所述清理組件(31)可橫移與所述濾板機構(211)及所述刮泡組件(22)接觸;以及動力裝置(4),所述動力裝置(4)包括兩組分別與所述曝氣池(11)集所述清理組件(31)對應設置且同時驅動兩組所述去泡組件(21)下移的動力組件(41)。
2.根據權利要求1所述的一種牲畜養殖污水排放處理裝置,其特征在于,所述控制組件(13)包括連通所述曝氣池(11)及所述中轉池(12)的通道(131)、左右滑動設置在所述隔板(10)上的滑動桿(132)、固定安裝在所述滑動桿(132)端部且位于所述中轉池(12)內的閥門a(133)、滑動設置在所述閥門a(133)及所述隔板(10)之間且與所述閥門a(133)可貼合設置的閥門b(134)、設置在所述隔板(10)內且驅動所述滑動桿(132)移動的開合機構a(135)及設置在所述曝氣池(11)底部且驅動所述閥門a(133)移動的開合機構b(136)。
3.根據權利要求2所述的一種牲畜養殖污水排放處理裝置,其特征在于,所述開合機構a(135)包括豎直開設在所述隔板(10)上的導向槽(1351)、上下對稱水平滑動設置且端部均可凸出所述導向槽(1351)側壁的兩組齒條a(1352)、轉動安裝在所述隔板(10)內且與兩組所述齒條a(1352)同時嚙合的齒輪a(1353)、轉動安裝在所述隔板(10)內且與所述齒輪a(1353)同軸固定的絲桿(1354)、套接在所述絲桿(1354)上且與所述滑動桿(132)固定連接的套筒(1355)。
4.根據權利要求3所述的一種牲畜養殖污水排放處理裝置,其特征在于,所述開合機構b(136)包括滑動設置在所述曝氣池本體(1)底部的傳動桿(1361)、上下滑動設置在所述曝氣池(11)且與所述傳動桿(1361)抵觸的限位桿(1362)以及上下滑動設置在所述中轉池(12)底部且與所述傳動桿(1361)另一端可抵觸設置的楔形塊(1363)。
5.根據權利要求1所述的一種牲畜養殖污水排放處理裝置,其特征在于,所述濾板機構(211)包括上下滑動設置在所述滑動架(210)內的安裝板(2111)、固定安裝在所述安裝板(2111)一側的導向塊(2112)、通過導向桿(2113)滑動設置在所述安裝板(2111)正下方的濾板(2114)、滑動設置在所述濾板(2114)上方的限位板(2115)以及設置在所述滑動架(210)內;所述濾板(2114)上開設若干濾孔(21141);所述限位板(2115)包括若干組限位條(21151),所述限位條(21151)與所述濾孔(21141)錯位設置。
6.根據權利要求5所述的一種牲畜養殖污水排放處理裝置,其特征在于,所述限位機構(212)包括轉動安裝在所述濾板(2114)上的且與所述限位板(2115)邊緣處抵觸設置的限位盤(2121)、與所述限位盤(2121)偏心固定且向上穿過所述安裝板(2111)的轉軸(2122)、固定設置在所述安裝板(2111)上且環繞所述轉軸(2122)設置的安裝臺(2123)、轉動安裝在所述安裝臺(2123)上且通過平鍵套設在所述轉軸(2122)外側的齒輪b(2124)以及所述滑動設置在所述安裝臺(2123)上且與所述齒輪b(2124)嚙合的齒條b(2125),所述齒條b(2125)一端與所述曝氣池(11)池壁可抵觸設置。
7.根據權利要求5所述的一種牲畜養殖污水排放處理裝置,其特征在于,所述鎖定機構(213)包括對稱設置在所述滑動架(210)底部且與所述安裝板(2111)可抵觸設置的兩組支撐桿(2131)以及分別固定所述運送組件(20)與所述曝氣池(11)及所述清理組件(31)對應位置且與所述支撐桿(2131)可抵觸設置的導向條(2132);所述支撐桿(2131)沿垂直所述運送組件(20)回轉方向滑動。
8.根據權利要求5所述的一種牲畜養殖污水排放處理裝置,其特征在于,所述刮泡組件(22)包括沿所述運送組件(20)回轉方向轉動安裝在所述滑動架(210)前側的泡沫刮板(221)、與所述泡沫刮板(221)同軸固定的齒輪c(222)、沿所述運送組件(20)回轉方向依次設置且分別通過與齒輪c(222)嚙合驅動所述泡沫刮板(221)轉動及復位的齒條c(223)及齒條d(224)、轉動安裝在所述中轉池(12)遠離所述曝氣池(11)一側的擋板(225)、轉軸同軸固定在所述擋板(225)轉軸上的齒輪d(226)以及沿所述運送組件(20)回轉方向依次設置且分別通過與齒輪d(226)嚙合驅動所述擋板(225)轉動及復位的齒條e(227)及齒條f(228)。
9.根據權利要求5所述的一種牲畜養殖污水排放處理裝置,其特征在于,所述清理組件(31)包括用于固定在所述導軌(32)的支架(311)、固定安裝在所述安裝板(2111)上的推桿(312)、上下彈性設置且與所述推桿(312)可抵觸設置的安裝座(313)、左右滑動設置在所述安裝座(313)上且沿所述導軌(32)移動的移動板(314)、固定安裝在所述移動板(314)且與所述濾板機構(211)對應的安裝架a(315)、通過安裝座上下滑動設置在所述移動板(314)上且與所述刮泡組件(22)對應設置的安裝架b(316)以及分別安裝在所述安裝架a(315)及所述安裝架b(316)端部的刷輥(317)。
10.根據權利要求7所述的一種牲畜養殖污水排放處理裝置,其特征在于,所述導軌(32)包括自上而下設置的過渡連接的配合部(321)及清理部(322)。
發明內容
為了針對上述問題,本發明提供了一種牲畜養殖污水排放處理裝置,其通過將若干組去泡組件分別設置在回轉設置的滑動架上,去泡組件隨滑動架依次經過曝氣池本體和清理組件,并且濾板機構在曝氣池本體處伸入曝氣池,并將其中的泡沫和泡沫中的雜質去除,之后移動至清理組件處對濾板機構進行清理,大大提高了濾板機構的清理效率,進而提高污水處理效率。
為實現上述目的,本發明提供如下技術方案:
一種牲畜養殖污水排放處理裝置,包括中和反應池及沉淀池,還包括:
曝氣池本體,所述曝氣池本體包括通過隔板分隔且分別與所述中和反應池及所述沉淀池連通的曝氣池及中轉池所述隔板底部設置有控制所述曝氣池及所述中轉池通斷的控制組件;
去泡裝置,所述去泡裝置包括回轉設置且經過曝氣池本體上方的運送組件、若干組沿所述運送組件回轉方向陣列設置且可伸入所述曝氣池內的去泡組件以及對應轉動安裝在所述去泡組件一側且可在所述中轉池內移動的刮泡組件;
所述去泡組件包括滑動設置在所述運送組件上的滑動架、通過鎖定機構固定設置在所述滑動架內的濾板機構以及設置在所述濾板機構一側且控制該濾板機構中的濾孔大小的限位機構,所述濾板機構與所述控制組件可抵觸設置;
清理裝置,所述清理裝置包括沿所述運送組件回轉方向設置在所述曝氣池本體后側且沿導軌與所述濾板機構同步下的清理組件,所述清理組件可橫移與所述濾板機構及所述刮泡組件接觸;以及
動力裝置,所述動力裝置包括兩組分別與所述曝氣池集所述清理組件對應設置且同時驅動兩組所述去泡組件下移的動力組件。
作為改進,所述控制組件包括連通所述曝氣池及所述中轉池的通道、左右滑動設置在所述隔板上的滑動桿、固定安裝在所述滑動桿端部且位于所述中轉池內的閥門a、滑動設置在所述閥門a及所述隔板之間且與所述閥門a可貼合設置的閥門b、設置在所述隔板內且驅動所述滑動桿移動的開合機構a及設置在所述曝氣池底部且驅動所述閥門a移動的開合機構b。
作為改進,所述開合機構a包括豎直開設在所述隔板上的導向槽、上下對稱水平滑動設置且端部均可凸出所述導向槽側壁的兩組齒條a、轉動安裝在所述隔板內且與兩組所述齒條a同時嚙合的齒輪a、轉動安裝在所述隔板內且與所述齒輪a同軸固定的絲桿、套接在所述絲桿上且與所述滑動桿固定連接的套筒。
作為改進,所述開合機構b包括滑動設置在所述曝氣池本體底部的傳動桿、上下滑動設置在所述曝氣池且與所述傳動桿抵觸的限位桿以及上下滑動設置在所述中轉池底部且與所述傳動桿另一端可抵觸設置的楔形塊。
作為改進,所述濾板機構包括上下滑動設置在所述滑動架內的安裝板、固定安裝在所述安裝板一側的導向塊、通過導向桿滑動設置在所述安裝板正下方的濾板、滑動設置在所述濾板上方的限位板以及設置在所述滑動架內;所述濾板上開設若干濾孔;所述限位板包括若干組限位條,所述限位條與所述濾孔錯位設置。
作為改進,所述限位機構包括轉動安裝在所述濾板上的且與所述限位板邊緣處抵觸設置的限位盤、與所述限位盤偏心固定且向上穿過所述安裝板的轉軸、固定設置在所述安裝板上且環繞所述轉軸設置的安裝臺、轉動安裝在所述安裝臺上且通過平鍵套設在所述轉軸外側的齒輪b以及所述滑動設置在所述安裝臺上且與所述齒輪b嚙合的齒條b,所述齒條b一端與所述曝氣池池壁可抵觸設置。
作為改進,所述鎖定機構包括對稱設置在所述滑動架底部且與所述安裝板可抵觸設置的兩組支撐桿以及分別固定所述運送組件與所述曝氣池及所述清理組件對應位置且與所述支撐桿可抵觸設置的導向條;所述支撐桿沿垂直所述運送組件回轉方向滑動。
作為改進,所述刮泡組件包括沿所述運送組件回轉方向轉動安裝在所述滑動架前側的泡沫刮板、與所述泡沫刮板同軸固定的齒輪c、沿所述運送組件回轉方向依次設置且分別通過與齒輪c嚙合驅動所述泡沫刮板轉動及復位的齒條c及齒條d、轉動安裝在所述中轉池遠離所述曝氣池一側的擋板、轉軸同軸固定在所述擋板轉軸上的齒輪d以及沿所述運送組件回轉方向依次設置且分別通過與齒輪d嚙合驅動所述擋板轉動及復位的齒條e及齒條f。
作為改進,所述清理組件包括用于固定在所述導軌的支架、固定安裝在所述安裝板上的推桿、上下彈性設置且與所述推桿可抵觸設置的安裝座、左右滑動設置在所述安裝座上且沿所述導軌移動的移動板、固定安裝在所述移動板且與所述濾板機構對應的安裝架a、通過安裝座上下滑動設置在所述移動板上且與所述刮泡組件對應設置的安裝架b以及分別安裝在所述安裝架a及所述安裝架b端部的刷輥。
作為改進,所述導軌包括自上而下設置的過渡連接的配合部及清理部。
本發明的有益效果在于:
(1)本發明中若干組去泡組件隨與其對應的滑動架依次經過曝氣池本體和清理組件,在曝氣池本體處進行去泡和收集雜質,收集雜質完成之后移動至清理組件處進行清理,同時下一干凈的去泡組件移動至曝氣池本體上方,提高了去泡組件的清理效率,進而提高污水處理效率;
(2)本發明通過濾板機構伸入曝氣池之后,曝氣池中的泡沫通過濾孔上浮至濾板及安裝板之間位置,之后在濾板機構下移將曝氣池中污水壓制中轉池內的同時,限位機構通過改變限位條與濾孔的錯位位置來改變濾板機構中濾孔大小進而使泡沫留存在濾板及安裝板之間,之后濾板配合安裝板將泡沫進行壓破處理,實現消除泡沫的同時對泡沫中雜質的收集處理;
(3)本發明中安裝板與濾板之間距離減少將泡沫壓破,泡沫中的雜質留存在安裝板和濾板之間,安裝板和濾板對雜質進行按壓產生壓濾效果,實現固液分離;
(4)本發明中安裝板和濾板伸入曝氣池內時可增加曝氣池內的壓強,使氧氣更好的溶解在污水中并且曝氣之后的污水進入中轉池內時進一步的使氧氣與污水接觸進一步的提高氧氣溶解效率;
(5)本發明中滑動架移動至濾板機構位于曝氣池正上方時,泡沫刮板轉動至中轉池內,之后隨著滑動架的移動,泡沫刮板將中轉池內的泡沫刮除,進一步的消除泡沫中的泡沫。
綜上所述,本發明具有結構簡單、設計巧妙、泡沫去除效果好及濾板清理效果好等優點,尤其適用于生物質處理污水的過程中。
(發明人:楊冬冬)






