公布日:2023.09.01
申請日:2023.07.14
分類號:C02F3/12(2023.01)I;C02F3/20(2023.01)I;C02F3/18(2023.01)I
摘要
本發明公開了一種同步曝氣的污泥干化裝置,屬于環保設備技術領域,包括:曝氣裝置本體,曝氣裝置本體的內部開設有固定槽,曝氣裝置本體的其中一側固定連接有連接板,固定槽的內部設置有移動組件,移動組件包括固定柱,固定柱固定連接在固定槽的內部,固定柱的內部開設有圓槽,圓槽的內部固定連接有固定架,固定架的內部固定連接有固定環,固定環的內部轉動連接有轉動軸,轉動軸的外部固定連接有多個扇葉,轉動軸的其中一端固定連接有螺紋桿。本發明的有益效果是:本發明利用移動組件,扇葉與螺紋桿,使螺紋桿跟隨扇葉進行轉動,便于固定圓柱受力進行旋轉,同時向靠近固定槽內壁的方向進行移動,方便曝氣轉盤可以一邊曝氣的同時一邊進行移動。

權利要求書
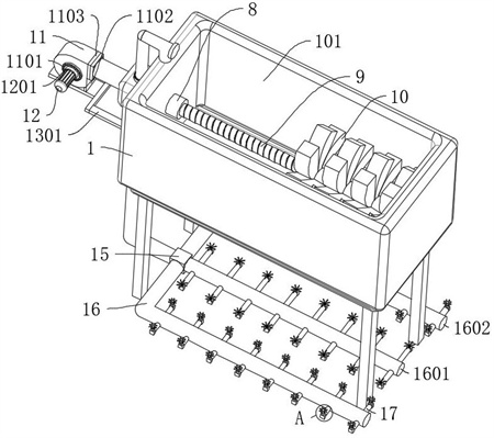
1.一種同步曝氣的污泥干化裝置,其特征在于,包括:曝氣裝置本體(1),所述曝氣裝置本體(1)的內部開設有固定槽(101),所述曝氣裝置本體(1)的其中一側固定連接有連接板(4);所述固定槽(101)的內部設置有移動組件,所述移動組件包括固定柱(8),所述固定柱(8)固定連接在固定槽(101)的內部,所述固定柱(8)的內部開設有圓槽(801),所述圓槽(801)的內部固定連接有固定架(26),所述固定架(26)的內部固定連接有固定環(27),所述固定環(27)的內部轉動連接有轉動軸(28),所述轉動軸(28)的外部固定連接有多個扇葉(25),所述轉動軸(28)的其中一端固定連接有螺紋桿(9);所述螺紋桿(9)的外部螺紋連接有固定圓柱,所述固定圓柱的外部固定連接有多個曝氣轉盤(10);所述連接板(4)的其中一側設置有分流組件,所述分流組件包括第一連接塊(5),所述第一連接塊(5)固定連接在連接板(4)的一側,所述第一連接塊(5)的一側固定連接有連接管(29),所述第一連接塊(5)的頂端固定連接有第一支管(6),所述第一支管(6)的其中一端固定連接有固定管(7),所述第一連接塊(5)的底端固定連接有第二支管(14);所述連接管(29)的其中一側設置有驅動組件,所述驅動組件包括法蘭(1103),所述法蘭(1103)固定連接在連接管(29)的一側,所述法蘭(1103)的另一側固定連接有風機(11),所述風機(11)的底部固定連接有肋板(1102),所述風機(11)的底部固定連接有支撐板(13),所述支撐板(13)的其中一側固定連接有兩個支撐桿(1301),所述支撐桿(1301)的一側與曝氣裝置本體(1)的外部固定連接,所述風機(11)的外部固定連接有固定圓盤(1101),所述固定圓盤(1101)的其中一側固定連接有圓形片(1201),所述圓形片(1201)的一側固定連接有電機(12);當風流入固定柱(8)的內部,風力帶動扇葉(25)進行轉動,扇葉(25)帶動轉動軸(28)進行轉動,轉動軸(28)帶動螺紋桿(9)進行轉動,固定圓柱受力進行轉動,曝氣轉盤(10)跟隨固定圓柱的方向進行轉動,同時向靠近固定槽(101)的內壁進行水平移動,當曝氣轉盤(10)與固定槽(101)相互貼合停止移動后,在控制閥的作用下,風停止向固定柱(8)的內部流入;當風停止向固定柱(8)的內部流入后,風流入第一支管(6)的內部;當風流入第一支管(6)的內部,風力帶動扇葉(25)進行反向轉動,扇葉(25)帶動轉動軸(28)進行反向轉動,轉動軸(28)帶動螺紋桿(9)進行反向轉動,固定圓柱受力進行反向轉動,曝氣轉盤(10)跟隨固定圓柱的方向進行反向轉動,同時向遠離固定槽(101)的內壁進行水平移動。
2.根據權利要求1所述的一種同步曝氣的污泥干化裝置,其特征在于:所述第二支管(14)的其中一端固定連接有第二連接塊(15),所述第二連接塊(15)的外部分別固定連接有第一分管(16)與第二分管(1601)和第三分管(1602)。
3.根據權利要求2所述的一種同步曝氣的污泥干化裝置,其特征在于:所述第一分管(16)的外部固定連接有多個出氣管(17),兩個所述出氣管(17)相反的一側均固定連接有固定塊(18)。
4.根據權利要求3所述的一種同步曝氣的污泥干化裝置,其特征在于:所述固定塊(18)的內部開設有方槽(1801),所述方槽(1801)的內部設置有轉動組件,所述轉動組件包括曝氣管(19),所述曝氣管(19)轉動連接在方槽(1801)的內部,所述曝氣管(19)底端固定連接有多個扇形板(22),多個所述扇形板(22)的其中一側均開設有進氣孔(23)。
5.根據權利要求4所述的一種同步曝氣的污泥干化裝置,其特征在于:所述曝氣管(19)頂端的外部固定連接有多個攪拌桿(21),所述曝氣管(19)的外壁固定連接有多個曝氣頭(20),所述曝氣頭(20)的其中一端開設有出氣孔。
6.根據權利要求4所述的一種同步曝氣的污泥干化裝置,其特征在于:所述曝氣管(19)的內部開設有通風管道(24),所述通風管道(24)內部的中端與出氣孔相互貫通,所述通風管道(24)內部的底端與多個進氣孔(23)相互貫通。
7.根據權利要求1所述的一種同步曝氣的污泥干化裝置,其特征在于:所述曝氣裝置本體(1)的底端固定連接有底板(2),所述底板(2)的底端固定連接有支撐腿(3)
發明內容
本發明的目的就在于為了解決上述問題而提供一種同步曝氣的污泥干化裝置。
本發明通過以下技術方案來實現上述目的,一種同步曝氣的污泥干化裝置,包括:曝氣裝置本體,所述曝氣裝置本體的內部開設有固定槽,所述曝氣裝置本體的其中一側固定連接有連接板;
所述固定槽的內部設置有移動組件,所述移動組件包括固定柱,所述固定柱固定連接在固定槽的內部,所述固定柱的內部開設有圓槽,所述圓槽的內部固定連接有固定架,所述固定架的內部固定連接有固定環,所述固定環的內部轉動連接有轉動軸,所述轉動軸的外部固定連接有多個扇葉,所述轉動軸的其中一端固定連接有螺紋桿。
優選的,所述螺紋桿的外部螺紋連接有固定圓柱,所述固定圓柱的外部固定連接有多個曝氣轉盤。
優選的,所述連接板的其中一側設置有分流組件,所述分流組件包括第一連接塊,所述第一連接塊固定連接在連接板的一側,所述第一連接塊的一側固定連接有連接管,所述第一連接塊的頂端固定連接有第一支管,所述第一支管的其中一端固定連接有固定管,所述第一連接塊的底端固定連接有第二支管。
優選的,所述連接管的其中一側設置有驅動組件,所述驅動組件包括法蘭,所述法蘭固定連接在連接管的一側,所述法蘭的另一側固定連接有風機,所述風機的底部固定連接有肋板,所述風機的底部固定連接有支撐板,所述支撐板的其中一側固定連接有兩個支撐桿,所述支撐桿的一側與曝氣裝置本體的外部固定連接,所述風機的外部固定連接有固定圓盤,所述固定圓盤的其中一側固定連接有圓形片,所述圓形片的一側固定連接有電機。
優選的,所述第二支管的其中一端固定連接有第二連接塊,所述第二連接塊的外部分別固定連接有第一分管與第二分管和第三分管。
優選的,所述第一分管的外部固定連接有多個出氣管,兩個所述出氣管相反的一側均固定連接有固定塊。
優選的,所述固定塊的內部開設有方槽,所述方槽的內部設置有轉動組件,所述轉動組件包括曝氣管,所述曝氣管轉動連接在方槽的內部,所述曝氣管底端固定連接有多個扇形板,多個所述扇形板的其中一側均開設有進氣孔。
優選的,所述曝氣管頂端的外部固定連接有多個攪拌桿,所述曝氣管的外壁固定連接有多個曝氣頭,所述曝氣頭的其中一端開設有出氣孔。
優選的,所述曝氣管的內部開設有通風管道,所述通風管道內部的中端與出氣孔相互貫通,所述通風管道內部的底端與多個進氣孔相互貫通。
優選的,所述曝氣裝置本體的底端固定連接有底板,所述底板的底端固定連接有支撐腿。
本發明的有益效果是:
其一、本發明利用移動組件,通過設置了移動組件,扇葉與螺紋桿,兩者相互配合,在風機的作用下,有助于帶動扇葉進行轉動,使螺紋桿跟隨扇葉進行轉動,便于固定圓柱受力進行旋轉,同時向靠近固定槽內壁的方向進行移動,從而到達移動的效果,方便曝氣轉盤可以一邊曝氣的同時一邊進行移動。
其二、本發明利用分流組件,通過設置了分流組件,第一支管與固定柱,兩種相互配合,在風機的作用下,利用通過固定柱產生的風對扇葉進行轉動使移動組件帶動曝氣轉盤進行移動,而通過第一支管產生的風可將扇葉進行反轉,有助于將曝氣轉盤在固定槽的內部進行反復運作。
其三、本發明利用轉動組件,通過設置了轉動組件,扇形板與曝氣管,兩者相互配合,在風機的作用下,利用通過第二支管產生的風吹動扇形板進行轉動,使曝氣管跟隨扇形板進行轉動,而曝氣頭在進行曝氣的同時進行轉動,可以使廢水中的污泥曝氣均勻,而曝氣管頂部設置的攪拌桿同時進行轉動,從而達到在曝氣的同時進行攪拌,有助于提高曝氣的效率,減少曝氣的時間。
(發明人:王芳)






