公布日:2024.04.12
申請日:2024.02.28
分類號:C02F1/00(2023.01)I;C02F3/00(2023.01)I;B01D36/02(2006.01)I
摘要
本發明公開了污水處理技術領域的一種小型分散式污水凈化箱,包括:箱體,所述箱體內設有隔板,所述箱體上設有進水管、出水管,所述第一腔體內從下到上依次設有濾網與第一凈化層,所述第二腔體內設有第二凈化層,所述箱體上設有泵,所述泵的進出口管道分別延伸至第一腔體、第二腔體的內腔頂部,所述泵的出口管道上轉動設有安裝架;所述安裝架上設有導向板,所述導向板上設有葉輪,所述葉輪處于泵的出口管道內部;本申請在初步處理的水通過泵的出口管道時,會驅使葉輪轉動,使導向板旋轉,將進入第二腔體內部的水分散開,降低因沖擊力過于集中而導致第二凈化層遭到破壞,確保污水凈化箱正常工作。

權利要求書
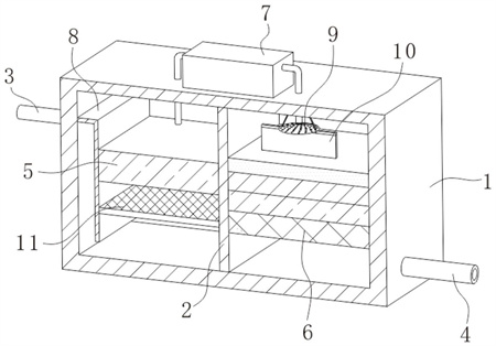
1.一種小型分散式污水凈化箱,包括:箱體(1),所述箱體(1)內設有隔板(2),所述隔板(2)將箱體(1)的內腔分割成相互隔絕且呈水平分布的第一腔體與第二腔體,所述箱體(1)上設有分別與第一腔體、第二腔體連通的進水管(3)、出水管(4),所述第一腔體內從下到上依次設有濾網(11)與第一凈化層(5),所述第二腔體內設有第二凈化層(6),所述箱體(1)上設有泵(7),所述泵(7)的進出口管道分別延伸至第一腔體、第二腔體的內腔頂部,其特征在于:所述泵(7)的出口管道上轉動設有安裝架(12);所述安裝架(12)上設有導向板(9),所述導向板(9)處于泵(7)的出口管道的下方,所述導向板(9)上貫穿開設有通孔(13),所述導向板(9)上設有葉輪(15),所述葉輪(15)處于泵(7)的出口管道內部;污水從進水管(3)進入到第一腔體的內腔底部,隨著污水的增多,污水依次通過濾網(11)與第一凈化層(5)進行初步過濾凈化后,泵(7)工作,使初步處理的水從泵(7)的進口管道進入,再從泵(7)的出口管道排出進入到第二腔體的內腔頂部,初步處理的水通過泵(7)的出口管道時,會驅使葉輪(15)轉動,使導向板(9)旋轉,將進入第二腔體內部的水分散開,使其通過第二凈化層(6)再次凈化后從出水管(4)排出。
2.根據權利要求1所述的一種小型分散式污水凈化箱,其特征在于:所述導向板(9)呈錐形,所述導向板(9)向泵(7)的出口管道處凸起。
3.根據權利要求1所述的一種小型分散式污水凈化箱,其特征在于:所述第二凈化層(6)從上到下依次包括細砂層、粗砂層、碎石層以及鵝卵石層,所述導向板(9)上設有用于與細砂層頂部壁貼合的刮板(10)。
4.根據權利要求1所述的一種小型分散式污水凈化箱,其特征在于:所述泵(7)的出口管道上設有限位環(14),所述限位環(14)套設在葉輪(15)的軸上,所述葉輪(15)的軸外壁上設有若干組凸塊(16),所述限位環(14)內側壁上設有若干個擋塊(21),所述擋塊(21)通過彈性轉軸(17)與限位環(14)的內側壁鉸接;其中,所述限位環(14)的內側壁上開設有若干組與若干個擋塊(21)一一對應的安裝槽(18),所述安裝槽(18)內滑動設有用于限制擋塊(21)轉動方向的限位塊(20),所述安裝槽(18)與限位塊(20)之間設有伸縮件(19)。
5.根據權利要求4所述的一種小型分散式污水凈化箱,其特征在于:一組所述安裝槽(18)包括兩個分別處于擋塊(21)兩側的安裝槽(18),兩個所述安裝槽(18)內均設有限位塊(20)與伸縮件(19)。
6.根據權利要求1所述的一種小型分散式污水凈化箱,其特征在于:所述第一腔體的內側壁上設有擋板(8),所述擋板(8)呈L形,所述擋板(8)的底部與第一腔體的內腔底部間隔設置,所述濾網(11)、第一凈化層(5)設置在擋板(8)的側壁與第一腔體的內側壁之間,所述進水管(3)與第一腔體的內腔頂部連通,所述第一腔體與進水管(3)的連通區域處于擋板(8)的內側。
發明內容
本發明的目的在于提供一種小型分散式污水凈化箱,以解決上述背景技術中提出的從抽水泵出口排出的水與凈化用的細砂層之間有一定的距離,導致水落下時會對細砂層造成沖擊,導致其容易出現凹凸不平的情況的問題。
為實現上述目的,本發明提供如下技術方案:一種小型分散式污水凈化箱,包括:箱體,所述箱體內設有隔板,所述隔板將箱體的內腔分割成相互隔絕且呈水平分布的第一腔體與第二腔體,所述箱體上設有分別與第一腔體、第二腔體連通的進水管、出水管,所述第一腔體內從下到上依次設有濾網與第一凈化層,所述第二腔體內設有第二凈化層,所述箱體上設有泵,所述泵的進出口管道分別延伸至第一腔體、第二腔體的內腔頂部,所述泵的出口管道上轉動設有安裝架;
所述安裝架上設有導向板,所述導向板處于泵的出口管道的下方,所述導向板上貫穿開設有通孔,所述導向板上設有葉輪,所述葉輪處于泵的出口管道內部;污水從進水管進入到第一腔體的內腔底部,隨著污水的增多,污水依次通過濾網與第一凈化層進行初步過濾凈化后,泵工作,使初步處理的水從泵的進口管道進入,再從泵的出口管道排出進入到第二腔體的內腔頂部,初步處理的水通過泵的出口管道時,會驅使葉輪轉動,使導向板旋轉,將進入第二腔體內部的水分散開,使其通過第二凈化層再次凈化后從出水管排出。
作為優選,所述導向板呈錐形,所述導向板向泵的出口管道處凸起。
作為優選,所述第二凈化層從上到下依次包括細砂層、粗砂層、碎石層以及鵝卵石層,所述導向板上設有用于與細砂層頂部壁貼合的刮板。
作為優選,所述泵的出口管道上設有限位環,所述限位環套設在葉輪的軸上,所述葉輪的軸外壁上設有若干組凸塊,所述限位環內側壁上設有若干個擋塊,所述擋塊通過彈性轉軸與限位環的內側壁鉸接;
其中,所述限位環的內側壁上開設有若干組與若干個擋塊一一對應的安裝槽,所述安裝槽內滑動設有用于限制擋塊轉動方向的限位塊,所述安裝槽與限位塊之間設有伸縮件。
作為優選,一組所述安裝槽包括兩個分別處于擋塊兩側的安裝槽,兩個所述安裝槽內均設有限位塊與伸縮件。
作為優選,所述第一腔體的內側壁上設有擋板,所述擋板呈L形,所述擋板的底部與第一腔體的內腔底部間隔設置,所述濾網、第一凈化層設置在擋板的側壁與第一腔體的內側壁之間,所述進水管與第一腔體的內腔頂部連通,所述第一腔體與進水管的連通區域處于擋板的內側。
與現有技術相比,本發明的有益效果是:本申請在初步處理的水通過泵的出口管道時,會驅使葉輪轉動,使導向板旋轉,將進入第二腔體內部的水分散開,使其通過第二凈化層時對第二凈化層局部造成的沖擊減小,降低因沖擊力過于集中而導致第二凈化層遭到破壞,確保污水凈化箱正常工作。
(發明人:汪徽)






