公布日:2023.09.29
申請日:2022.03.21
分類號:C02F3/00(2006.01)I;C02F3/30(2006.01)I;C02F1/00(2006.01)N;C02F1/32(2006.01)N;C02F1/78(2006.01)N
摘要
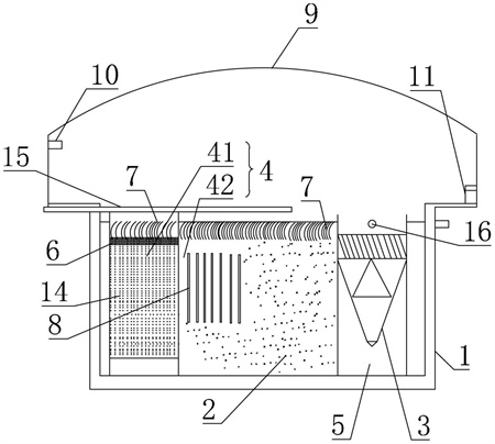
本發明公開了一種高負荷生物膜反應器,屬于污水處理技術領域,一種高負荷生物膜反應器,包括池體,填料區內設置有懸浮填料,污泥分離區內設有截留裝置,懸浮填料的載體為呈墻體構造的海綿狀多孔凝膠,截留裝置包括濾網、截留斗、截留板、安裝板、以及截留體,截留斗的底部設置有濾網,截留板傾斜設置,位于下方的安裝板的底部設置有截留體,截留體延伸至截留斗的內部,且與截留斗之間留有間隙。本發明的高負荷生物膜反應器,去除SS、CODCr和BOD5,脫氮除磷效果好,通過顆粒填料、懸浮填料和截留裝置的結合設置防止活性污泥和填料的流失,能夠達成活性污泥的富集,無需要污泥回流,高負荷生物膜反應器中活性污泥濃度可以達到8000-10000ppm。

權利要求書
1.一種高負荷生物膜反應器,其特征在于:包括池體,所述池體上設有進水口和出水口;所述池體的內部設置有連通的填料區和污泥分離區;所述進水口設于填料區,填料區內設置有懸浮填料,所述污泥分離區內設有截留裝置,截留裝置上部設有出水口;所述懸浮填料的載體為呈墻體構造的海綿狀多孔凝膠;所述截留裝置包括濾網、截留斗、截留板、安裝板、以及截留體;所述截留斗的底部設置有濾網,所述截留板設置于上下兩個安裝板之間,所述安裝板位于所述截留斗的上方,截留板傾斜設置,位于下方的安裝板的底部設置有截留體,所述截留體延伸至所述截留斗的內部,且與所述截留斗之間留有間隙。
2.根據權利要求1所述的高負荷生物膜反應器,其特征在于:所述截留體的內壁具有用于截留污泥的斜面。
3.根據權利要求1所述的高負荷生物膜反應器,其特征在于:所述濾網呈圓錐狀。
4.根據權利要求1所述的高負荷生物膜反應器,其特征在于:所述懸浮填料包括第一半球骨架、第二半球骨架、空心存儲柱、包衣膜、碳源、以及載體;所述第一半球骨架和第二半球骨架卡合形成球狀骨架;所述第一半球骨架和第二半球骨架的內壁均固定有空心存儲柱,所述碳源填充在所述空心存儲柱內,所述空心存儲柱的側壁開設有多個緩釋孔,所述包衣膜將所述緩釋孔封閉;所述載體套設在所述空心存儲柱上,且至少將其中一個緩釋孔包圍在內。
5.根據權利要求4所述的高負荷生物膜反應器,其特征在于:當所述第一半球骨架和第二半球骨架卡合時,所述第一半球骨架的空心存儲柱與所述第二半球骨架的空心存儲柱相抵;所述空心存儲柱包括豎直設置的第一柱體和環繞所述第一柱體設置的第二柱體,所述第二柱體向內傾斜設置。
6.根據權利要求4所述的高負荷生物膜反應器,其特征在于:所述載體為AQUAPOROUSGEL載體,呈立方體狀,且中部開設有用于空心存儲柱穿過的通孔,體積膨脹率為172%-208%,比表面積>4000m2/m3,密度為0.95g/L-0.97g/L,SS附著量10-12g/g載體。
7.根據權利要求1所述的高負荷生物膜反應器,其特征在于:所述填料區包括連通的第一區和第二區,所述第一區內設置有顆粒填料,所述顆粒填料的上部設置有回填污泥層,所述懸浮填料設置于所述第二區內,所述回填污泥層上和第二區的上部均種植有水生植物。
8.根據權利要求7述的高負荷生物膜反應器,其特征在于:所述第二區內設置有微生物增效裝置。
9.根據權利要求1所述的高負荷生物膜反應器,其特征在于:所述池體的頂部安裝有透光罩,所述透光罩的內部安裝紫外燈和臭氧發生器。
10.根據權利要求7所述的高負荷生物膜反應器,其特征在于:還包括曝氣設備,所述曝氣設備的曝氣端延伸至所述第二區內的底部,所述曝氣設備的曝氣端為微孔曝氣盤。
發明內容
本發明的目的在于提出一種高負荷生物膜反應器即:HBBR(HighBearBiofilmReactor),SS、CODCr和BOD5去除率高,脫氮除磷效果好,通過顆粒填料、懸浮填料和截留裝置的結合設置防止活性污泥的流失,能夠達成活性污泥的富集,無需要污泥回流,活性池污泥濃度可以達到8000-10000ppm。
為達此目的,本發明采用以下技術方案:
本發明提供的一種高負荷生物膜反應器,包括池體,池體上設有進水口和出水口,池體的內部設置有連通的填料區和污泥分離區,進水口設于填料區,填料區內設置有懸浮填料,污泥分離區內設有截留裝置,截留裝置上部設有出水口,懸浮填料的載體為呈墻體構造的海綿狀多孔凝膠,截留裝置包括濾網、截留斗、截留板、安裝板、以及截留體,截留斗的底部設置有濾網,截留板設置于上下兩個安裝板之間,安裝板位于截留斗的上方,截留板傾斜設置,位于下方的安裝板的底部設置有截留體,截留體延伸至截留斗的內部,且與截留斗之間留有間隙。
優選地,截留體的內壁具有用于截留污泥的斜面。
優選地,濾網呈圓錐狀。
優選地,懸浮填料包括第一半球骨架、第二半球骨架、空心存儲柱、包衣膜、碳源、以及載體,第一半球骨架和第二半球骨架卡合形成球狀骨架,第一半球骨架和第二半球骨架的內壁均固定有空心存儲柱,碳源填充在空心存儲柱內,空心存儲柱的側壁開設有多個緩釋孔,包衣膜將緩釋孔封閉,載體套設在空心存儲柱上,且至少將其中一個緩釋孔包圍在內。
優選地,當第一半球骨架和第二半球骨架卡合時,第一半球骨架的空心存儲柱與第二半球骨架的空心存儲柱相抵,空心存儲柱包括豎直設置的第一柱體和環繞第一柱體設置的第二柱體,第二柱體向內傾斜設置。
優選地,載體為AQUAPOROUSGEL載體,呈立方體狀,且中部開設有用于空心存儲柱穿過的通孔,體積膨脹率為172%-208%,比表面積>4000m2/m3,密度為0.95g/L-0.97g/L,SS附著量10-12g/g載體。
優選地,填料區包括連通的第一區和第二區,所第一區內設置有顆粒填料,顆粒填料的上部設置有回填污泥層,懸浮填料設置于第二區內,回填污泥層上和第二區的上部均種植有水生植物。
優選地,第二區內設置有微生物增效裝置。
優選地,池體的頂部安裝有透光罩,透光罩的內部安裝紫外燈和臭氧發生器。
優選地,還包括曝氣設備,曝氣設備的曝氣端延伸至第二區內的底部,曝氣設備的曝氣端為微孔曝氣盤。
本發明的有益效果為:
1、通過載體為呈墻體構造的海綿狀多孔凝膠的懸浮填料,提高生化池負荷,為不同的微生物提高厭氧、缺氧和好氧等相適應的生存環境,提高系統微生物的質與量,進而提高活性污泥濃度,提高硝化效率,減少占地,并結合截留裝置對活性污泥和懸浮填料進行截留,能夠達成活性污泥的富集,活性污泥濃度可以達到8000-10000ppm,不需要污泥回流。堪比MBR工藝,但又不需要配套安裝膜。SS、CODCr和BOD5去除率高,脫氮除磷效果好,并且能夠同時形成厭氧、缺氧和好氧等不同的微生物生存環境,在同一個反應器中發生生化氧化、反硝化、硝化、厭氧氨氧化、短程硝化反硝化多種反應模式。
2、采用AQUAPOROUSGEL載體,具有親水性好、微生物附著快的特點,由于其墻體構造,使其比表面積較常規海綿載體增大6倍以上,附著的微生物種類多、濃度高,泥齡并不受系統總的HRT的影響。
3、過濾網的設置避免懸浮填料流失,部分未被濾網截留住的污泥隨水進入截留斗內,首先水只能通過截留體和截留斗之間的間隙穿過,而在這個過程中,大部分水被截留體截留,進而使得污泥被截留體截留,殘余未被截留體截留的污泥隨水從相鄰的兩個截留板之間的間隙穿過,在這過程中,由于截留板呈傾斜設置,進一步對水中污泥進行截留,如此,通過濾網、截留斗、截留板進行三次截留,有效實現清水和污泥的分離。
4、濾網呈圓錐狀,避免污泥堆積堵塞,并且避免懸浮填料擋柱濾網。
5、通過將載體套設在空心存儲柱上,使得載體在球狀骨架內立體分布,不會堆積于一處,提高微生物附著的均勻度和全面性。通過在空心存儲柱內填充碳源,結合包衣膜的設置,通過包衣膜起到緩釋作用,隨時間推移,包衣膜逐漸脫落,進行碳源緩釋,從載體內部和載體外部進行雙重逐步提供有機物,更有利于附著的微生物生長和富集,提高處理效率。
6、第一半球骨架的空心存儲柱與第二半球骨架的空心存儲柱相抵,避免載體脫落,空心存儲柱包括豎直設置的第一柱體和環繞第一柱體設置的第二柱體,第二柱體向內傾斜設置,如此設置在有限的空間內部署更多的載體,大大提高微生物附著量。
7、通過顆粒填料的設置,進一步提高生化池負荷,為不同的微生物提高厭氧、缺氧和好氧等相適應的生存環境。
8、因為設置透光罩,防止臭氣外溢,并安裝紫外燈和臭氧發生器燈除臭,所以不需要另外設計附屬的污水除臭系統。
9、微孔曝氣盤所產生的氣泡小,氣相比表面積大,傳質面積大,傳質效果好。由于本高負荷生物膜反應器的壓頭損失比傳統流化床的壓頭小,所以,消耗低。而曝氣設備的鼓風的動力消耗是好氧處理法主要的能量消耗,所以,高負荷生物膜反應器這種對氣量的要求又構成了它的經濟性。
10、通過截留裝置截留下來的污泥不需要回流至前序工段,可取部分脫水污泥作為回填至顆粒填料上方形成回填污泥層,高效利用。
(發明人:崔秀文;黃藝武;張天宇)






