公布日:2024.04.16
申請日:2024.01.23
分類號:F25B30/06(2006.01)I;B01D36/04(2006.01)I;B01D21/04(2006.01)I;B01D21/24(2006.01)I;C02F1/00(2023.01)I;C02F1/52(2023.01)I;B02C4/08(2006.01)I;B02C4/
30(2006.01)I;F25B30/02(2006.01)I;F25B49/02(2006.01)I
摘要
本發明公開了一種應用于污水廠的水源熱泵裝置,安裝在用于沉砂池向沉淀池通入水流的沉砂管道上,包括:除污器,用于截流選取沉砂管道部分水流進行除污除雜處理并將處理后水流送入換熱器;換熱器,通過水流輸送管道將水流送回沉砂管道;熱泵機組,通過中介水管道與換熱器連接,用于通過冷熱水管道向供熱設備供熱;供熱設備,部分熱能通過熱量傳輸管道與除污器連接用于加快除污器除污除雜處理的效率。本發明能夠循環進行污水處理,代替污水廠除污流程中的一級沉淀池節省污水廠除污步驟,提高污水處理效果,同時本發明數量設置多個,可以大大提高熱泵供熱效果,進而在提高污水廠供能效果的同時進一步提升除污器污水處理效率。

權利要求書
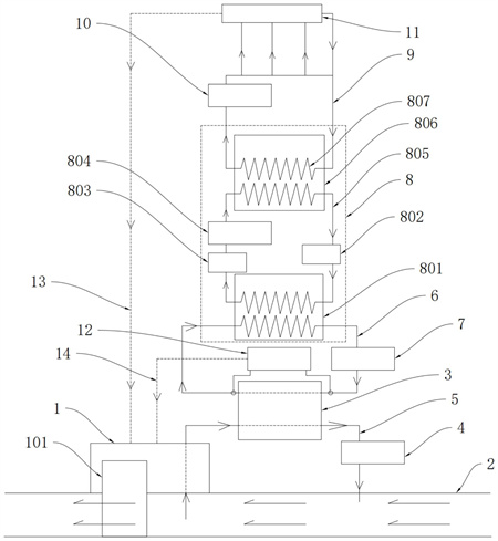
1.一種應用于污水廠的水源熱泵裝置,安裝在用于沉砂池向沉淀池通入水流的沉砂管道(2)上,設置有多個且分別設置在沉砂管道(2)的不同段,其特征在于,包括:除污器(1),設置在沉砂管道(2)上,用于截流選取沉砂管道(2)部分水流進行除污除雜處理并將處理后水流送入換熱器(3);換熱器(3),與除污器(1)連接,且通過安裝有污水循環泵(4)的水流輸送管道(5)將水流送回沉砂管道(2);熱泵機組(8),通過安裝有中介水循環泵(7)的中介水管道(6)與換熱器(3)連接,用于通過安裝有冷熱水循環泵(10)的冷熱水管道(9)向供熱設備(11)供熱;供熱設備(11),一部分熱能用于污水廠,一部分熱能通過熱量傳輸管道(13)與除污器(1)連接用于加快除污器(1)除污除雜處理的效率;水流通過除污器(1)截流進行除污除雜處理后,依次經過換熱器(3)和水流輸送管道(5)重新回到沉砂管道(2),且沿流動方向重新回到除污器(1)截流水流部分;所述除污器(1)內部設置有空腔(106)和數據處理器(110),所述空腔(106)內安裝有用于污水除污除雜處理的污水凈化結構(107)、與熱量傳輸管道(13)連接用于提高污水凈化結構(107)除污除雜效率的凈化輔助結構(108)、一端與沉砂管道(2)連通的輸送管路(102)和安裝在輸送管路(102)另一端用于將沉砂管道(2)內水流通過輸送管路(102)送入污水凈化結構(107)的抽水泵(103);所述污水凈化結構(107)通過連接管道(109)將水流送入換熱器(3);所述輸送管路(102)底部設置有用于截流水流的攔截柵格網(101),所述輸送管路(102)內部設置有過濾柵格網(104);所述污水凈化結構(107)包括除污沉淀池(1072)、設置在抽水泵(103)送水端下方的初步沉淀池(1071)、位于初步沉淀池(1071)頂端用于向初步沉淀池(1071)內投入藥劑的投藥倉(1075)和用于除污沉淀池(1072)底部穩定安裝在空腔(106)內的支撐底座(1078);所述除污沉淀池(1072)一邊通過向上延伸設置的漫水擋板(1079)安裝固定有初步沉淀池(1071),所述初步沉淀池(1071)和除污沉淀池(1072)底部均設置有沉淀擠出組件(1076)和用于將沉淀物送入沉淀擠出組件(1076)的傾斜部(1073),所述除污沉淀池(1072)的傾斜部(1073)上還滑動設置有刮刀組件(1074);所述連接管道(109)底端位于除污沉淀池(1072)內且內側設置有濾網(1091),所述連接管道(109)頂端位于換熱器(3)內且與水流輸送管道(5)連接;所述刮刀組件(1074)包括沿傾斜部(1073)傾斜方向開設在除污沉淀池(1072)上的刮刀滑動通孔(10741)、穿過且沿傾斜部(1073)傾斜方向滑動在刮刀滑動通孔(10741)內的安裝軸(10743)、設置在刮刀滑動通孔(10741)內側且與安裝軸(10743)連接的刮刀防水橡膠膜(10742)、安裝在安裝軸(10743)一端的連接滑塊(10744)、開設在連接滑塊(10744)內部的壓塊滑槽(10747)、滑動在壓塊滑槽(10747)內的滑動壓塊(10746)、設置在滑動壓塊(10746)底端用于滑動穿過連接滑塊(10744)的滑動桿(10745)、位于壓塊滑槽(10747)內用于擠壓滑動壓塊(10746)向下受力的擠壓彈簧(10748)和安裝在滑動桿(10745)底端用于貼合在傾斜部(1073)內側壁的刮刀主體(10749);所述凈化輔助結構(108)包括位于空腔(106)內用于連接熱量傳輸管道(13)底部的安裝殼體(1081)、開設在安裝殼體(1081)內用于存放蒸發液體的蒸汽腔體(1083)、設置在熱量傳輸管道(13)底部且位于蒸汽腔體(1083)底端用于加熱蒸發液體的熱量集中部(1082)、轉動設置在蒸汽腔體(1083)頂部的蒸汽轉輪(1085)、安裝在蒸汽轉輪(1085)上用于液體蒸發上升帶動蒸汽轉輪(1085)轉動的多個轉輪擋板(1086)、安裝在安裝殼體(1081)外部的同步帶輪(1088)和安裝在蒸汽轉輪(1085)上用于同軸驅動同步帶輪(1088)運轉的連接轉軸(1087);所述同步帶輪(1088)一端帶輪上鉸接設置有軸架(1089)的一端,所述軸架(1089)的另一端鉸接設置在安裝軸(10743)上,用于同步帶輪(1088)驅動運轉過程中帶動安裝軸(10743)在刮刀滑動通孔(10741)內往復滑動;所述熱量傳輸管道(13)上還分支設置有螺旋套合在除污沉淀池(1072)上的纏繞導熱管(1084),用于加快除污沉淀池(1072)沉淀除污效率。
2.如權利要求1所述的應用于污水廠的水源熱泵裝置,其特征在于,所述沉淀擠出組件(1076)包括位于傾斜部(1073)底端用于向上傾斜延伸至除污器(1)外部的擠出管道(10761)、安裝在擠出管道(10761)位于除污器(1)外部一端的驅動電機(10762)、設置在驅動電機(10762)驅動端上且轉動在擠出管道(10761)內部的驅動轉軸(10763)、安裝在驅動轉軸(10763)上且貼合滑動在擠出管道(10761)內壁的螺旋葉片板(10764)、設置在擠出管道(10761)位于除污器(1)外部一端的開口(10765);所述除污器(1)外部還設置有位于開口(10765)底部用于收集沉淀物的傾斜收集槽(1077)。
3.如權利要求1所述的應用于污水廠的水源熱泵裝置,其特征在于,所述投藥倉(1075)底部設置有用于藥劑向下投放的電磁噴頭(10752),所述投藥倉(1075)頂部設置在除污器(1)頂端且鉸接有蓋板(10751)。
4.如權利要求3所述的應用于污水廠的水源熱泵裝置,其特征在于,所述輸送管路(102)上還設置有用于過濾柵格網(104)網孔疏通的疏通結構(105),所述疏通結構(105)包括開設在空腔(106)側壁的凹槽(1056)、用于移動至過濾柵格網(104)處疏通網孔的移動破碎組件(1052)、用于安裝移動破碎組件(1052)的驅動安裝塊(1053)、設置在凹槽(1056)內用于控制沿輸送管路(102)長度方向滑動的電動導軌(1054)和設置在凹槽(1056)內用于移動破碎組件(1052)移動至過濾柵格網(104)狀態下按壓觸發的觸壓按鈕(1055),所述觸壓按鈕(1055)觸發狀態下電性控制電磁噴頭(10752)驅動。
5.如權利要求4所述的應用于污水廠的水源熱泵裝置,其特征在于,所述移動破碎組件(1052)包括安裝在驅動安裝塊(1053)上的安裝連軸(10526)、兩組轉動安裝在安裝連軸(10526)上且相互嚙合的齒輪主體(10523)、沿長度方向開設在輸送管路(102)上的兩組管道滑動通孔(10528)、穿過且沿輸送管路(102)長度方向滑動在管道滑動通孔(10528)內用于轉動套設在齒輪主體(10523)轉軸上的齒輪軸套筒(10524)、設置在管道滑動通孔(10528)內側且與齒輪軸套筒(10524)連接的管道防水橡膠膜(10529)、用于齒輪主體(10523)轉軸轉動穿過的兩組連接支架(10521)、位于兩組連接支架(10521)中間用于齒輪主體(10523)同軸轉動的兩組圓形鋸柱(10522)、設置在輸送管路(102)側壁上的限位凸起(10527)和開設在限位凸起(10527)內用于限位連接支架(10521)一端沿輸送管路(102)長度方向滑動的限位滑槽(10525);所述輸送管路(102)內部位于過濾柵格網(104)下方還設置有集水凸塊(1051),用于移動破碎組件(1052)移動至過濾柵格網(104)狀態下控制水流集中通過兩組圓形鋸柱(10522)之間間隙。
6.如權利要求4所述的應用于污水廠的水源熱泵裝置,其特征在于,所述換熱器(3)內管道兩端均設置有溫度傳感器(12)的探頭,所述溫度傳感器(12)感應換熱器(3)內管道兩端溫度差且用于通過信號傳輸線路(14)和數據處理器(110)控制電動導軌(1054)運轉。
發明內容
本發明的主要目的在于提供一種應用于污水廠的水源熱泵裝置,能夠利用熱水水泵產生的熱能供污水處理結構運轉,以實現再生水源在水源熱泵內循環時提高污水處理效果,同時還能夠進一步作為污水凈化裝置使用,并在污水循環進行熱泵供能過程中將污水內雜質進行沉淀凈化排除。
本發明采用以下技術方案解決上述技術問題:
一種應用于污水廠的水源熱泵裝置,安裝在用于沉砂池向沉淀池通入水流的沉砂管道上,設置有多個且分別設置在沉砂管道的不同段,包括:
除污器,設置在沉砂管道上,用于截流選取沉砂管道部分水流進行除污除雜處理并將處理后水流送入換熱器;
換熱器,與除污器連接,且通過安裝有污水循環泵的水流輸送管道將水流送回沉砂管道;
熱泵機組,通過安裝有中介水循環泵的中介水管道與換熱器連接,用于通過安裝有冷熱水循環泵的冷熱水管道向供熱設備供熱;
供熱設備,一部分熱能用于污水廠,一部分熱能通過熱量傳輸管道與除污器連接用于加快除污器除污除雜處理的效率;
水流通過除污器截流進行除污除雜處理后,依次經過換熱器和水流輸送管道重新回到沉砂管道,且沿流動方向重新回到除污器截流水流部分。
優選的,所述除污器內部設置有空腔和數據處理器,所述空腔內安裝有用于污水除污除雜處理的污水凈化結構、與熱量傳輸管道連接用于提高污水凈化結構除污除雜效率的凈化輔助結構、一端與沉砂管道連通的輸送管路和安裝在輸送管路另一端用于將沉砂管道內水流通過輸送管路送入污水凈化結構的抽水泵;
所述污水凈化結構通過連接管道將水流送入換熱器;
所述輸送管路底部設置有用于截流水流的攔截柵格網,所述輸送管路內部設置有過濾柵格網。
優選的,所述污水凈化結構包括除污沉淀池、設置在抽水泵送水端下方的初步沉淀池、位于初步沉淀池頂端用于向初步沉淀池內投入藥劑的投藥倉和用于除污沉淀池底部穩定安裝在空腔內的支撐底座;
所述除污沉淀池一邊通過向上延伸設置的漫水擋板安裝固定有初步沉淀池,所述初步沉淀池和除污沉淀池底部均設置有沉淀擠出組件和用于將沉淀物送入沉淀擠出組件的傾斜部,所述除污沉淀池的傾斜部上還滑動設置有刮刀組件;
所述連接管道底端位于除污沉淀池內且內側設置有濾網,所述連接管道頂端位于換熱器內且與水流輸送管道連接。
優選的,所述刮刀組件包括沿傾斜部傾斜方向開設在除污沉淀池上的刮刀滑動通孔、穿過且沿傾斜部傾斜方向滑動在刮刀滑動通孔內的安裝軸、設置在刮刀滑動通孔內側且與安裝軸連接的刮刀防水橡膠膜、安裝在安裝軸一端的連接滑塊、開設在連接滑塊內部的壓塊滑槽、滑動在壓塊滑槽內的滑動壓塊、設置在滑動壓塊底端用于滑動穿過連接滑塊的滑動桿、位于壓塊滑槽內用于擠壓滑動壓塊向下受力的擠壓彈簧和安裝在滑動桿底端用于貼合在傾斜部內側壁的刮刀主體。
優選的,所述凈化輔助結構包括位于空腔內用于連接熱量傳輸管道底部的安裝殼體、開設在安裝殼體內用于存放蒸發液體的蒸汽腔體、設置在熱量傳輸管道底部且位于蒸汽腔體底端用于加熱蒸發液體的熱量集中部、轉動設置在蒸汽腔體頂部的蒸汽轉輪、安裝在蒸汽轉輪上用于液體蒸發上升帶動蒸汽轉輪轉動的多個轉輪擋板、安裝在安裝殼體外部的同步帶輪和安裝在蒸汽轉輪上用于同軸驅動同步帶輪運轉的連接轉軸;
所述同步帶輪一端帶輪上鉸接設置有軸架的一端,所述軸架的另一端鉸接設置在安裝軸上,用于同步帶輪驅動運轉過程中帶動安裝軸在刮刀滑動通孔內往復滑動;
所述熱量傳輸管道上還分支設置有螺旋套合在除污沉淀池上的纏繞導熱管,用于加快除污沉淀池沉淀除污效率。
優選的,所述沉淀擠出組件包括位于傾斜部底端用于向上傾斜延伸至除污器外部的擠出管道、安裝在擠出管道位于除污器外部一端的驅動電機、設置在驅動電機驅動端上且轉動在擠出管道內部的驅動轉軸、安裝在驅動轉軸上且貼合滑動在擠出管道內壁的螺旋葉片板、設置在擠出管道位于除污器外部一端的開口;
所述除污器外部還設置有位于開口底部用于收集沉淀物的傾斜收集槽。
優選的,所述投藥倉底部設置有用于藥劑向下投放的電磁噴頭,所述投藥倉頂部設置在除污器頂端且鉸接有蓋板。
優選的,所述輸送管路上還設置有用于過濾柵格網網孔疏通的疏通結構,所述疏通結構包括開設在空腔側壁的凹槽、用于移動至過濾柵格網處疏通網孔的移動破碎組件、用于安裝移動破碎組件的驅動安裝塊、設置在凹槽內用于控制沿輸送管路長度方向滑動的電動導軌和設置在凹槽內用于移動破碎組件移動至過濾柵格網狀態下按壓觸發的觸壓按鈕,所述觸壓按鈕觸發狀態下電性控制電磁噴頭驅動。
優選的,所述移動破碎組件包括安裝在驅動安裝塊上的安裝連軸、兩組轉動安裝在安裝連軸上且相互嚙合的齒輪主體、沿長度方向開設在輸送管路上的兩組管道滑動通孔、穿過且沿輸送管路長度方向滑動在管道滑動通孔內用于轉動套設在齒輪主體轉軸上的齒輪軸套筒、設置在管道滑動通孔內側且與齒輪軸套筒連接的管道防水橡膠膜、用于齒輪主體轉軸轉動穿過的兩組連接支架、位于兩組連接支架中間用于齒輪主體同軸轉動的兩組圓形鋸柱、設置在輸送管路側壁上的限位凸起和開設在限位凸起內用于限位連接支架一端沿輸送管路長度方向滑動的限位滑槽;
所述輸送管路內部位于過濾柵格網下方還設置有集水凸塊,用于移動破碎組件移動至過濾柵格網狀態下控制水流集中通過兩組圓形鋸柱之間間隙。
優選的,所述圓形鋸柱由轉動安裝在齒輪主體轉軸上的柱塊和多組安裝在柱塊上的圓形鋸片組成,水流通過鋸片兩組圓形鋸柱之間間隙時能夠利用圓形鋸片的鋸齒帶動圓形鋸柱整體轉動,進而控制兩組圓形鋸柱反向轉動完成過濾柵格網網孔的堵塞物破碎操作。
優選的,所述換熱器內管道兩端均設置有溫度傳感器的探頭,所述溫度傳感器感應換熱器內管道兩端溫度差且用于通過信號傳輸線路和數據處理器控制電動導軌運轉。
優選的,所述熱泵機組由環形閉合的熱泵水管道、位于熱泵水管道一端用于與中介水管道連接的蒸發器、位于熱泵水管道另一端用于與冷熱水管道連接的冷凝器和安裝在熱泵水管道上的壓縮機、膨脹閥、熱泵水循環泵組成,且所述蒸發器和冷凝器內部管道均設置有螺旋連接部用于提高換熱效率。
本發明提供了一種應用于污水廠的水源熱泵裝置。與現有技術相比本發明的有益效果體現在:
1.由于水流通過除污器截流進行除污除雜處理后重新回到沉砂管道,且沿流動方向重新回到除污器截流水流部分,因此本發明在沉砂管道上設置為多個且分別設置在不同段上,能夠循環進行污水處理,代替污水廠除污流程中的一級沉淀池節省污水廠除污步驟,提高污水處理效果,同時本發明數量設置多個,可以大大提高熱泵供熱效果,進而在提高污水廠供能效果的同時進一步提升除污器污水處理效率。
2.本發明通過在水流輸送管道與熱泵機組之間設置換熱器和中介水管道,能夠防止沉砂管道內部污水直接進入熱泵機組內造成熱泵機組管道出現沉淀淤積的現象,避免熱泵機組的管道結構堵塞出現堵塞情況,從而確保熱泵機組的結構運轉安全性,保證熱泵機組的正常運轉,延長熱泵機組的使用壽命。
3.本發明使用熱泵機組加熱后供熱設備的部分熱量作為能源驅動除污器內的刮刀組件活動運轉,既能夠節省驅動資源控制沉淀物進入沉淀擠出組件排出,又能夠控制加熱除污沉淀池進行水體升溫操作,在省力的同時提高除污沉淀池的沉淀效果,從而進一步提高污水廠的除污過濾效率。
4.本發明通過在過濾柵格網下方設置集水凸塊能夠在移動破碎組件移動至過濾柵格網狀態下控制水流集中通過兩組圓形鋸柱之間間隙,進而控制兩組圓形鋸柱反向轉動完成過濾柵格網網孔的堵塞物破碎操作,因此能夠通過水流流動控制過濾柵格網網孔進行堵塞物破碎疏通,結構簡單,方便實用,大大節省了過濾柵格網網孔的堵塞物破碎時的驅動源。
5.本發明通過在換熱器兩端設置溫度傳感器,利用溫度差能夠有效監控換熱器是否正常工作,進而有效監控除污器或污水循環泵管道是否發生堵塞,并控制電動導軌運轉讓移動破碎組件移動至過濾柵格網進行快速疏通,從而保證該水源熱泵裝置的正常使用效果。
6.本發明通過在凹槽內設置觸壓按鈕,能夠在過濾柵格網網孔堵塞狀態下控制移動破碎組件移動至過濾柵格網時按壓觸發觸壓按鈕,從而電性控制電磁噴頭驅動,將投藥倉內例如絮凝劑一類用于提高沉淀效果或質量的化學藥劑投加送入初步沉淀池內完成初步沉淀操作,保證堵塞物能夠在污水凈化結構內正常沉淀排出。
(發明人:阮祥;周露;史勤愷;趙小峰;許劍波;冒海文;王瀟)






