公布日:2023.11.03
申請日:2023.07.21
分類號:C02F1/04(2023.01)I;C02F1/00(2023.01)I
摘要
本發明提供以厭氧MBR與正滲透為核心的廢水近零排放裝置及方法,涉及廢水近零排放技術領域。該以厭氧MBR與正滲透為核心的廢水近零排放裝置,包括空心桶,所述空心桶下側設置有蒸發機構,所述空心桶的內側設置有過濾機構。通過將液體經過篩分孔、篩箱、曲形篩網和過濾孔進行難溶固體過濾,再通過連接錐筒進入腔體中被海綿吸附,配合加熱棒進行加熱蒸發結晶,避免直接排放對環境造成污染,同時符合環保理念,并且通過伺服電機帶動收卷輪進行轉動,使彈力繩拉扯滑塊和空心桶,從而對空心桶的高度進行調節,將連接錐筒擰下后,將空心桶拉高進行沖洗,避免堵塞,清洗方便,從而提高了設備的使用壽命。

權利要求書
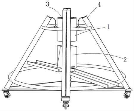
1.以厭氧MBR與正滲透為核心的廢水近零排放裝置,包括空心桶(1),其特征在于,所述空心桶(1)下側設置有蒸發機構(2),所述空心桶(1)的內側設置有過濾機構(3),所述空心桶(1)的外側設置有調節機構(4);所述蒸發機構(2)包括三角箱(201),所述三角箱(201)的內部左右側均設置有腔體(202),所述腔體(202)的內側設置有海綿(203),所述三角箱(201)的底部左右側均通過轉桿(204)與擋板(205)相連接,所述三角箱(201)的外壁左右側均設置有多個孔洞(208),所述三角箱(201)的底部固定連接有隔板(206),所述隔板(206)的中部固定連接有加熱棒(207),所述三角箱(201)的左右側頂部均轉動連接有遮蓋(209)。
2.根據權利要求1所述的以厭氧MBR與正滲透為核心的廢水近零排放裝置,其特征在于,所述過濾機構(3)包括隔熱套(301),所述空心桶(1)的外壁固定連接所述隔熱套(301),所述空心桶(1)的內側底部固定連接有第一圓盤(302),所述空心桶(1)的內側中下部固定連接有第二圓盤(303),所述空心桶(1)的內側中部固定連接有第三圓盤(304),所述第一圓盤(302)和所述第二圓盤(303)上等距設置有多個過濾孔(305),所述第三圓盤(304)的頂端中部固定連接有篩箱(307),所述篩箱(307)的內側中部固定連接有曲形篩網(308),所述篩箱(307)的左右側均等距設置有多個篩分孔(309),所述第三圓盤(304)的頂部右側設置有弧形貫穿口(306)。
3.根據權利要求1所述的以厭氧MBR與正滲透為核心的廢水近零排放裝置,其特征在于,所述調節機構(4)包括四個鋼架(401),所述鋼架(401)的內側固定連接有滑軌(402),所述滑軌(402)上滑動連接有滑塊(403),所述滑軌(402)的后側固定連接有密封板(405),所述密封板(405)的前側固定連接有彈簧(404),所述彈簧(404)的前端與對應的所述滑塊(403)固定連接,所述滑塊(403)的中部固定連接有彈力繩(406),所述鋼架(401)前后側的底部均固定連接有第二連接板(410),所述鋼架(401)左右側的底部固定連接有第一連接板(409),兩個所述第一連接板(409)的相鄰一側固定連接有第一延伸板(412),兩個所述第二連接板(410)的相鄰一側固定連接有第二延伸板(411),所述第二延伸板(411)的頂端中部固定連接有伺服電機(413),所述伺服電機(413)的輸出端貫穿所述第二延伸板(411)并固定連接有收卷輪(414),所述彈力繩(406)的前端依次貫穿所述滑軌(402)和所述鋼架(401)并固定連接在所述收卷輪(414)上。
4.根據權利要求3所述的以厭氧MBR與正滲透為核心的廢水近零排放裝置,其特征在于,所述調節機構(4)還包括固定圈一(407)和固定圈二(408),四個所述鋼架(401)的頂部通過所述固定圈一(407)固定連接,四個所述鋼架(401)的底部通過所述固定圈二(408)固定連接。
5.根據權利要求1所述的以厭氧MBR與正滲透為核心的廢水近零排放裝置,其特征在于,所述蒸發機構(2)還包括扶手(210)和承接槽(211),兩個所述遮蓋(209)的相遠離一側底部均固定連接有扶手(210),所述遮蓋(209)的底部設置有承接槽(211)。
6.根據權利要求2所述的以厭氧MBR與正滲透為核心的廢水近零排放裝置,其特征在于,所述過濾機構(3)還包括安裝環(310)和固定環(311),所述空心桶(1)的外壁中上部固定連接所述安裝環(310),所述安裝環(310)的外壁等距固定連接有四個所述固定環(311)。
7.根據權利要求5所述的以厭氧MBR與正滲透為核心的廢水近零排放裝置,其特征在于,所述承接槽(211)的底部末端固定連接在固定圈二(408)的外壁,所述三角箱(201)的頂端中部螺紋連接有連接錐筒(5),所述連接錐筒(5)的頂部轉動連接在所述空心桶(1)的底端中部。
8.根據權利要求3所述的以厭氧MBR與正滲透為核心的廢水近零排放裝置,其特征在于,所述調節機構(4)還包括環形圈(415),所述收卷輪(414)的底部固定連接所述環形圈(415),所述環形圈(415)的底部與所述第一延伸板(412)的頂端中部轉動連接,所述彈力繩(406)的后端固定連接在對應的所述固定環(311)上。
9.根據權利要求3所述的以厭氧MBR與正滲透為核心的廢水近零排放裝置,其特征在于,所述第一連接板(409)和所述第二連接板(410)的底部均固定連接有萬向輪(6)。
10.以厭氧MBR與正滲透為核心的廢水近零排放裝置的方法,其特征在于:應用于權利要求1-9所述的以厭氧MBR與正滲透為核心的廢水近零排放裝置,包括以下步驟:S1、將以厭氧MBR與正滲透為核心的廢水全部倒入空心桶(1)的內側,經過篩分孔(309)、篩箱(307)、曲形篩網(308)和過濾孔(305)進行難溶固體過濾,過濾后的液體通過連接錐筒(5)進入腔體(202)中被海綿(203)吸附;S2、加熱加熱棒(207),使所述海綿(203)吸附的液體蒸發結晶產生蒸發氣體和結晶體;所述蒸發氣體和所述結晶體通過孔洞(208)將遮蓋(209)頂開,所述蒸發氣體排出,所述結晶體掉落;S3、開啟伺服電機(413)帶動收卷輪(414)進行轉動,使彈力繩(406)拉扯滑塊(403)和空心桶(1),調節所述空心桶(1)的高度,沖洗所述空心桶(1)。
發明內容
針對現有技術的不足,本發明提供了以厭氧MBR與正滲透為核心的廢水近零排放裝置及方法,解決了其內部依然會存在一些難溶固體和鹽,直接排放會對環境造成污染,同時不符合環保理念,并且處理的罐體不方便進行清洗,殘留的難溶性固體容易造成堵塞,從而降低設備的使用壽命的問題。
為實現以上目的,本發明通過以下技術方案予以實現:以厭氧MBR與正滲透為核心的廢水近零排放裝置,包括空心桶,所述空心桶下側設置有蒸發機構,所述空心桶的內側設置有過濾機構,所述空心桶的外側設置有調節機構;
所述蒸發機構包括三角箱,所述三角箱的內部左右側均設置有腔體,所述腔體的內側設置有海綿,所述三角箱的底部左右側均通過轉桿與擋板相連接,所述三角箱的外壁左右側均設置有多個孔洞,所述三角箱的底部固定連接有隔板,所述隔板的中部固定連接有加熱棒,所述三角箱的左右側頂部均轉動連接有遮蓋。
優選的,所述過濾機構包括隔熱套,所述空心桶的外壁固定連接所述隔熱套,所述空心桶的內側底部固定連接有第一圓盤,所述空心桶的內側中下部固定連接有第二圓盤,所述空心桶的內側中部固定連接有第三圓盤,所述第一圓盤和所述第二圓盤上等距設置有多個過濾孔,所述第三圓盤的頂端中部固定連接有篩箱,所述篩箱的內側中部固定連接有曲形篩網,所述篩箱的左右側均等距設置有多個篩分孔,所述第三圓盤的頂部右側設置有弧形貫穿口。
優選的,所述調節機構包括四個鋼架,所述鋼架的內側固定連接有滑軌,所述滑軌上滑動連接有滑塊,所述滑軌的后側固定連接有密封板,所述密封板的前側固定連接有彈簧,所述彈簧的前端與對應的所述滑塊固定連接,所述滑塊的中部固定連接有彈力繩,所述鋼架前后側的底部均固定連接有第二連接板,所述鋼架左右側的底部固定連接有第一連接板,兩個所述第一連接板的相鄰一側固定連接有第一延伸板,兩個所述第二連接板的相鄰一側固定連接有第二延伸板,所述第二延伸板的頂端中部固定連接有伺服電機,所述伺服電機的輸出端貫穿所述第二延伸板并固定連接有收卷輪,所述彈力繩的前端依次貫穿所述滑軌和所述鋼架并固定連接在所述收卷輪上。
優選的,所述調節機構還包括固定圈一和固定圈二,四個所述鋼架的頂部通過所述固定圈一固定連接,四個所述鋼架的底部通過所述固定圈二固定連接。
優選的,所述蒸發機構還包括扶手和承接槽,兩個所述遮蓋的相遠離一側底部均固定連接有扶手,所述遮蓋的底部設置有承接槽。
優選的,所述過濾機構還包括安裝環和固定環,所述空心桶的外壁中上部固定連接所述安裝環,所述安裝環的外壁等距固定連接有四個所述固定環。
優選的,所述承接槽的底部末端固定連接在固定圈二的外壁,所述三角箱的頂端中部螺紋連接有連接錐筒,所述連接錐筒的頂部轉動連接在所述空心桶的底端中部。
優選的,所述調節機構還包括環形圈,所述收卷輪的底部固定連接所述環形圈,所述環形圈的底部與所述第一延伸板的頂端中部轉動連接,所述彈力繩的后端固定連接在對應的所述固定環上。
優選的,所述第一連接板和所述第二連接板的底部均固定連接有萬向輪。
優選的,以厭氧MBR與正滲透為核心的廢水近零排放裝置的方法,包括以下步驟:
S1、將以厭氧MBR與正滲透為核心的廢水全部倒入空心桶(1)的內側,經過篩分孔(309)、篩箱(307)、曲形篩網(308)和過濾孔(305)進行難溶固體過濾,過濾后的液體通過連接錐筒(5)進入腔體(202)中被海綿(203)吸附;
S2、加熱加熱棒(207),使所述海綿(203)吸附的液體蒸發結晶產生蒸發氣體和結晶體;所述蒸發氣體和所述結晶體通過孔洞(208)將遮蓋(209)頂開,所述蒸發氣體排出,所述結晶體掉落;
S3、開啟伺服電機(413)帶動收卷輪(414)進行轉動,使彈力繩(406)拉扯滑塊(403)和空心桶(1),調節所述空心桶(1)的高度,沖洗所述空心桶(1)。
工作原理:通過將液體全部倒入空心桶的內側,經過篩分孔、篩箱、曲形篩網和過濾孔進行難容固體過濾,再通過連接錐筒進入腔體中被海綿吸附,配合加熱棒進行加熱,使海綿吸附的液體進行蒸發結晶產生蒸發氣體和結晶體,蒸發氣體和結晶體通過孔洞將遮蓋頂開,結晶體掉落,蒸發氣體排出,避免直接排放對環境造成污染,同時符合環保理念。
另外還可以通過伺服電機帶動收卷輪進行轉動,使彈力繩拉扯滑塊和空心桶,從而對空心桶的高度進行調節,將連接錐筒擰下后,將空心桶拉高進行沖洗,避免堵塞,清洗方便,提高設備的使用壽命。
本發明提供了以厭氧MBR與正滲透為核心的廢水近零排放裝置及方法。
具備以下有益效果:
1、本發明通過將液體全部倒入空心桶的內側,經過篩分孔、篩箱、曲形篩網和過濾孔進行難溶固體過濾,再通過連接錐筒進入腔體中被海綿吸附,配合加熱棒進行加熱,使海綿吸附的液體進行蒸發結晶,氣體和結晶體通過孔洞將遮蓋頂開,結晶體掉落,氣體排出,避免直接排放對環境造成污染,同時符合環保理念。
2、本發明通過伺服電機帶動收卷輪進行轉動,使彈力繩拉扯滑塊和空心桶,從而對空心桶的高度進行調節,將連接錐筒擰下后,將空心桶拉高進行沖洗,避免堵塞,清洗方便,從而提高了設備的使用壽命。
(發明人:凌伍妹;賀杰)






