公布日:2023.11.10
申請日:2023.08.14
分類號:C02F1/44(2023.01)I;C02F101/12(2006.01)N
摘要
提供了一種處理工業廢水中氯離子的系統,其包括第一膜組件單元、第二膜組件單元、第三膜組件單元、第四膜組件單元、中間水箱。第一膜組件單元包括第一單元一段反滲透部、第一單元二段反滲透部,第二膜組件單元包括第二單元一段反滲透部、第二單元二段反滲透部。第一單元一段反滲透部、第一單元二段反滲透部、第二單元一段反滲透部、第二單元二段反滲透部、第三膜組件單元、第四膜組件單元分別包括反滲透膜元件,反滲透膜元件能夠過濾工業廢水中的氯離子形成氯離子濃度較高的濃水和氯離子濃度較低的清水。

權利要求書
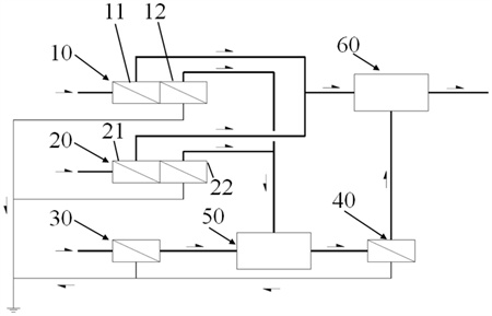
1.一種處理工業廢水中氯離子的系統,其特征在于,包括第一膜組件單元(10)、第二膜組件單元(20)、第三膜組件單元(30)、第四膜組件單元(40)、中間水箱(50),所述第一膜組件單元(10)包括第一單元一段反滲透部(11)、第一單元二段反滲透部(12),所述第二膜組件單元(20)包括第二單元一段反滲透部(21)、第二單元二段反滲透部(22),所述第一單元一段反滲透部(11)、所述第一單元二段反滲透部(12)、所述第二單元一段反滲透部(21)、所述第二單元二段反滲透部(22)、所述第三膜組件單元(30)、所述第四膜組件單元(40)分別包括反滲透膜元件,所述反滲透膜元件能夠過濾工業廢水中的氯離子形成氯離子濃度較高的濃水和氯離子濃度較低的清水,所述工業廢水經所述第一單元一段反滲透部(11)處理后形成的所述濃水進入其連接的所述第一單元二段反滲透部(12)進一步過濾,所述工業廢水經所述第二單元一段反滲透部(21)處理后形成的所述濃水進入其連接的所述第二單元二段反滲透部(22)進一步過濾,所述第一單元二段反滲透部(12)、所述第二單元二段反滲透部(22)、所述第三膜組件單元(30)分別連接到所述中間水箱(50),其分別形成的所述清水進入所述中間水箱(50),所述中間水箱(50)連接到所述第四膜組件單元(40),所述中間水箱(50)內的存水進入所述第四膜組件單元(40)再次過濾,所述第一單元一段反滲透部(11)、所述第二單元一段反滲透部(21)、所述第四膜組件單元(40)形成的所述清水為去除氯離子后的產水。
2.根據權利要求1所述的處理工業廢水中氯離子的系統,其特征在于,還包括清水箱(60),所述第一單元一段反滲透部(11)、所述第二單元一段反滲透部(21)、所述第四膜組件單元(40)連接到所述清水箱(60)并將其過濾出的所述清水通入所述清水箱(60)。
3.根據權利要求1所述的處理工業廢水中氯離子的系統,其特征在于,還包括一個或多個拓展膜組件單元,所述拓展膜組件單元連接到所述中間水箱(50),所述拓展膜組件單元過濾出的至少部分清水通入所述中間水箱(50)。
4.根據權利要求1所述的處理工業廢水中氯離子的系統,其特征在于,所述第一單元一段反滲透部(11)、所述第二單元一段反滲透部(21)的運行壓力為10至15巴,壓降范圍為0.5至0.8巴,所述第一單元二段反滲透部(12)、所述第二單元二段反滲透部(22)的運行壓力為9.5至14.5巴,壓降范圍為0.4至0.7巴。
5.根據權利要求1所述的處理工業廢水中氯離子的系統,其特征在于,所述第一單元一段反滲透部(11)、所述第二單元一段反滲透部(21)的所述反滲透膜元件選用低壓反滲透膜元件,所述低壓反滲透膜元件的工作壓力為2.0至4.0mpa,所述第一單元二段反滲透部(12)、所述第二單元二段反滲透部(22)的所述反滲透膜元件選用超低壓反滲透膜元件,所述超低壓反滲透膜元件工作壓力為1.0至2.0mpa。
6.根據權利要求1所述的處理工業廢水中氯離子的系統,其特征在于,所述第一膜組件單元(10)、所述第二膜組件單元(20)的回收率為65%至85%。
7.根據權利要求6所述的處理工業廢水中氯離子的系統,其特征在于,所述第一單元一段反滲透部(11)、所述第二單元一段反滲透部(21)、所述第一單元二段反滲透部(12)、所述第二單元二段反滲透部(22)、所述第三膜組件單元(30)、所述第四膜組件單元(40)的回收率為50%至80%。
8.根據權利要求1所述的處理工業廢水中氯離子的系統,其特征在于,還包括集成式自控系統、加藥系統、泵、儀表、配電柜。
9.根據權利要求1所述的處理工業廢水中氯離子的系統,其特征在于,所述第一膜組件單元(10)、所述第二膜組件單元(20)、所述第三膜組件單元(30)、所述第四膜組件單元(40)還分別包括輸送泵、保安過濾器、自動化控制系統。
10.根據權利要求1所述的處理工業廢水中氯離子的系統,其特征在于,所述第一膜組件單元(10)、所述第二膜組件單元(20)、所述第三膜組件單元(30)、所述第四膜組件單元(40)過濾出的所述濃水再進行高壓反滲透或者蒸發結晶處理。
發明內容
鑒于上述現有技術的狀態而做出本申請。本申請的目的在于提供一種處理工業廢水中氯離子的系統,通過多個反滲透膜單元的聯合使用,可以高效、穩定的去除水中的氯離子。
本申請提供一種處理工業廢水中氯離子的系統,其包括第一膜組件單元、第二膜組件單元、第三膜組件單元、第四膜組件單元、中間水箱,
所述第一膜組件單元包括第一單元一段反滲透部、第一單元二段反滲透部,所述第二膜組件單元包括第二單元一段反滲透部、第二單元二段反滲透部,
所述第一單元一段反滲透部、所述第一單元二段反滲透部、所述第二單元一段反滲透部、所述第二單元二段反滲透部、所述第三膜組件單元、所述第四膜組件單元分別包括反滲透膜元件,所述反滲透膜元件能夠過濾工業廢水中的氯離子形成氯離子濃度較高的濃水和氯離子濃度較低的清水,
所述工業廢水經所述第一單元一段反滲透部處理后形成的所述濃水進入其連接的所述第一單元二段反滲透部進一步過濾,
所述工業廢水經所述第二單元一段反滲透部處理后形成的所述濃水進入其連接的所述第二單元二段反滲透部進一步過濾,
所述第一單元二段反滲透部、所述第二單元二段反滲透部、所述第三膜組件單元分別連接到所述中間水箱,其分別形成的所述清水進入所述中間水箱,
所述中間水箱連接到所述第四膜組件單元,所述中間水箱內的存水進入所述第四膜組件單元再次過濾,
所述第一單元一段反滲透部、所述第二單元一段反滲透部、所述第四膜組件單元形成的所述清水為去除氯離子后的產水。
在至少一個可能的實施方式中,處理工業廢水中氯離子的系統還包括清水箱,所述第一單元一段反滲透部、所述第二單元一段反滲透部、所述第四膜組件單元連接到所述清水箱并將其過濾出的所述清水通入所述清水箱。
在至少一個可能的實施方式中,處理工業廢水中氯離子的系統還包括一個或多個拓展膜組件單元,所述拓展膜組件單元連接到所述中間水箱,所述拓展膜組件單元過濾出的至少部分清水通入所述中間水箱。
在至少一個可能的實施方式中,所述第一單元一段反滲透部、所述第二單元一段反滲透部的運行壓力為10至15巴,壓降范圍為0.5至0.8巴,
所述第一單元二段反滲透部、所述第二單元二段反滲透部的運行壓力為9.5至14.5巴,壓降范圍為0.4至0.7巴。
在至少一個可能的實施方式中,所述第一單元一段反滲透部、所述第二單元一段反滲透部的所述反滲透膜元件選用低壓反滲透膜元件,所述低壓反滲透膜元件的工作壓力為2.0至4.0mpa,
所述第一單元二段反滲透部、所述第二單元二段反滲透部的所述反滲透膜元件選用超低壓反滲透膜元件,所述超低壓反滲透膜元件工作壓力為1.0至2.0mpa。
在至少一個可能的實施方式中,所述第一膜組件單元、所述第二膜組件單元的回收率為65%至85%。
在至少一個可能的實施方式中,所述第一單元一段反滲透部、所述第二單元一段反滲透部、所述第一單元二段反滲透部、所述第二單元二段反滲透部、所述第三膜組件單元、所述第四膜組件單元的回收率為50%至80%。
在至少一個可能的實施方式中,處理工業廢水中氯離子的系統還包括集成式自控系統、加藥系統、泵、儀表、配電柜。
在至少一個可能的實施方式中,所述第一膜組件單元、所述第二膜組件單元、所述第三膜組件單元、所述第四膜組件單元還分別包括輸送泵、保安過濾器、自動化控制系統。
在至少一個可能的實施方式中,所述第一膜組件單元、所述第二膜組件單元、所述第三膜組件單元、所述第四膜組件單元過濾出的所述濃水再進行高壓反滲透或者蒸發結晶處理。
本申請提供的處理工業廢水中氯離子的系統,適用于含有氯離子的工業廢水處理,特別是高鹽水的處理。通過聯合使用多個反滲透膜單元,可以使本系統處理工業廢水的過濾過程高效、產水品質穩定。
(發明人:王凱;張聰慧;吉龍標;唐欣)






