公布日:2024.05.07
申請日:2024.02.02
分類號:F04D7/04(2006.01)I;B02C4/02(2006.01)I;F04D29/70(2006.01)I
摘要
本發明涉及污水處理技術領域,尤其為一種污水泵用的預處理裝置及處理方法,包括污水泵和輸入管,污水泵的輸入端連通有輸入管,輸入管的另一端連通有預處理組件,預處理組件的另一端固定連接有推動裝置,處理框的內部上方固定連接有第一電機,第一電機的主軸末端固定連接有轉軸,轉軸的另一端固定連接有轉動盤,轉動盤的底部固定連接有碾壓輥,轉軸的外側固定連接有主動齒輪,主動齒輪的外側嚙合有從動齒輪;本發明通過第一電機啟動帶動轉軸轉動,轉軸帶動轉動盤轉動,轉動盤帶動底部的碾壓輥轉動,轉軸帶動外側的從動齒輪轉動,使多個碾壓輥轉動,在污水通過碾壓輥間隙時,較大的固體雜質被碾壓輥碾壓破碎,有助于后續的污水泵正常使用。

權利要求書
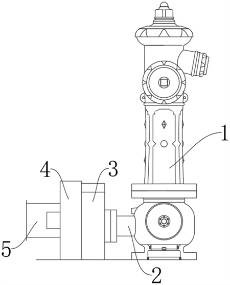
1.一種污水泵用的預處理裝置,其特征在于:包括污水泵(1)和輸入管(2),所述污水泵(1)的輸入端連通有輸入管(2),所述輸入管(2)的另一端連通有預處理組件(3),所述預處理組件(3)的另一端固定連接有推動裝置(4),所述推動裝置(4)的另一端連通有污泥管(5);所述預處理組件(3)包括處理框(301)、第一電機(302)和轉軸(303),所述處理框(301)的一側與輸入管(2)連通,所述處理框(301)的另一端與推動裝置(4)呈固定連接;所述處理框(301)的內部上方固定連接有第一電機(302),所述第一電機(302)的主軸末端固定連接有轉軸(303),所述轉軸(303)的另一端固定連接有轉動盤(304),所述轉動盤(304)的外側與處理框(301)呈轉動連接,所述轉動盤(304)的底部固定連接有碾壓輥(305),所述碾壓輥(305)的底部與處理框(301)呈轉動連接;所述轉軸(303)的外側固定連接有主動齒輪(306),所述主動齒輪(306)的外側嚙合有從動齒輪(307),所述從動齒輪(307)的內部均固定連接有轉動桿(308),所述轉動桿(308)底部與轉動盤(304)呈固定連接,所述轉動桿(308)的頂部與處理框(301)呈轉動連接;所述推動裝置(4)包括污泥框(401),所述污泥框(401)的一側與預處理組件(3)呈固定連接,所述污泥框(401)的另一側連通有污泥管(5),所述污泥管(5)的兩側設有推動組件(402),所述推動組件(402)的外側與污泥框(401)呈固定連接,所述推動組件(402)的自由端固定連接有推板(403),所述推板(403)的另一端固定連接有移動板(404),所述移動板(404)的另一端固定連接有擠壓板(405)。
2.根據權利要求1所述的一種污水泵用的預處理裝置,其特征在于:所述主動齒輪(306)兩側的從動齒輪(307)外側與其他從動齒輪(307)相互嚙合。
3.根據權利要求1所述的一種污水泵用的預處理裝置,其特征在于:所述處理框(301)的內部固定連接有密封板(309),所述密封板(309)的內部與轉動盤(304)呈轉動連接。
4.根據權利要求1所述的一種污水泵用的預處理裝置,其特征在于:所述污泥框(401)的內部連通有連通管(406),所述連通管(406)一側與污泥管(5)連通管,所述連通管(406)的外側與移動板(404)和擠壓板(405)呈滑動連接。
5.根據權利要求1所述的一種污水泵用的預處理裝置,其特征在于:所述擠壓板(405)是由多個半圓筒相互連接而成。
6.根據權利要求1所述的一種污水泵用的預處理裝置,其特征在于:所述推動組件(402)包括密封框(4021)和第二電機(4022),所述密封框(4021)一側與污泥框(401)呈固定連接,所述密封框(4021)內部均固定連接有第二電機(4022),所述第二電機(4022)的自由端均固定連接有螺紋軸(4023),所述螺紋軸(4023)的外側的螺旋連接有螺紋套(4024),所述螺紋套(4024)的外側滑動連接有密封套(4025),所述密封套(4025)的一端與污泥框(401)呈滑動連接,所述螺紋套(4024)的另一端與推板(403)呈固定連接。
7.根據權利要求1-6任一項所述的一種污水泵用的預處理裝置的處理方法,其特征在于:使用步驟如下;步驟一:在使用時預先檢查設備,避免設備出現密封不嚴而導致漏氣現象;步驟二:啟動污水泵(1)對污水進行抽取工作,并且污水在進入預處理組件(3)內部時,通過預處理組件(3)啟動,此時可以對污水中的固體雜質進行碾壓粉碎,確保污水泵(1)得以正常使用;步驟三:在預處理組件(3)對固體雜質進行處理時,通過啟動推動裝置(4)即可確保固體雜質穩定擠壓至預處理組件(3)內部進行處理;步驟四:處理后的污水可以順利通過污水泵(1)排出。
發明內容
本發明的目的在于提供一種污水泵用的預處理裝置及處理方法,以解決上述背景技術中提出的問題。
為實現上述目的,本發明提供如下技術方案:
作為本發明所述一種污水泵用的預處理裝置及處理方法的一種可選方案,其中:一種污水泵用的預處理裝置及處理方法,包括污水泵和輸入管,所述污水泵的輸入端連通有輸入管,所述輸入管的另一端連通有預處理組件,所述預處理組件的另一端固定連接有推動裝置,所述推動裝置的另一端連通有污泥管;
所述預處理組件包括處理框、第一電機和轉軸,所述處理框的一側與輸入管連通,所述處理框的另一端與推動裝置呈固定連接;
所述處理框的內部上方固定連接有第一電機,所述第一電機的主軸末端固定連接有轉軸,所述轉軸的另一端固定連接有轉動盤,所述轉動盤的外側與處理框呈轉動連接,所述轉動盤的底部固定連接有碾壓輥,所述碾壓輥的底部與處理框呈轉動連接;
所述轉軸的外側固定連接有主動齒輪,所述主動齒輪的外側嚙合有從動齒輪,所述從動齒輪的內部均固定連接有轉動桿,所述轉動桿底部與轉動盤呈固定連接,所述轉動桿的頂部與處理框呈轉動連接;
所述推動裝置包括污泥框,所述污泥框的一側與預處理組件呈固定連接,所述污泥框的另一側連通有污泥管,所述污泥管的兩側設有推動組件,所述推動組件的外側與污泥框呈固定連接,所述推動組件的自由端固定連接有推板,所述推板的另一端固定連接有移動板,所述移動板的另一端固定連接有擠壓板。
作為本發明所述一種污水泵用的預處理裝置及處理方法的一種可選方案,其中:所述主動齒輪兩側的從動齒輪外側與其他從動齒輪相互嚙合。
污水泵在使用時,常常由于污水中混雜有較大固體雜質,在污水泵的泵葉轉動時,固體雜質時刻與泵葉發生劇烈碰撞,長時間以往會導致泵葉損壞,進而導致密封性不佳,進而影響污水泵的正常使用,而本裝置在使用時,在污水泵的前側安裝有處理框,在污水通過處理框時,通過第一電機啟動帶動轉軸轉動,而轉軸帶動轉動盤轉動,而轉動盤帶動底部的碾壓輥轉動,并且轉軸帶動外側的主動齒輪轉動,而主動齒輪帶動外側的從動齒輪轉動,此時可以使多個碾壓輥轉動,在污水通過碾壓輥間隙時,較大的固體雜質可以被碾壓輥碾壓破碎,有助于對污水進行預先處理,保證后續的污水泵正常使用,并且在使用時,可以通過推動組件帶動一側推板移動,而推板帶動一側的移動板移動,此時可以將污水中的較大雜質主動推動靠近碾壓輥,迫使較大固體雜質與其碾壓輥接觸,并且在碾壓輥相互作用下對較大雜質進行破碎,這種設置可以主動推動較大固體雜質移動,避免其堆積,有助于及時對較大固體雜質進行處理。
作為本發明所述一種污水泵用的預處理裝置及處理方法的一種可選方案,其中:所述處理框的內部固定連接有密封板,所述密封板的內部與轉動盤呈轉動連接。
而在處理框的上方設置有密封板,密封板可以避免污水上涌,可以確保污水正常被污水泵抽取使用。
作為本發明所述一種污水泵用的預處理裝置及處理方法的一種可選方案,其中:所述污泥框的內部連通有連通管,所述連通管一側與污泥管連通管,所述連通管的外側與移動板和擠壓板呈滑動連接。
這種設置可以保證污水抽取時,其污水可以正常位于擠壓板的一側,并且在擠壓板的作用下及時的將污水中的較大雜質推動至碾壓輥外側,通過碾壓輥的轉動使其間隙中較大固體雜質被碾壓粉碎。
作為本發明所述一種污水泵用的預處理裝置及處理方法的一種可選方案,其中:所述擠壓板是由多個半圓筒相互連接而成。
這種設置可以確保在擠壓板移動時,其擠壓板擠壓污水中較大固體雜質移動至碾壓輥的間隙中,用于穩定對固體雜質進行處理,并且碾壓輥相互轉動,其轉動方向有所不同,此時只有朝向污水泵轉動的碾壓輥才能進行碾碎工作。
作為本發明所述一種污水泵用的預處理裝置及處理方法的一種可選方案,其中:所述推動組件包括密封框和第二電機,所述密封框一側與污泥框呈固定連接,所述密封框內部均固定連接有第二電機,所述第二電機的自由端均固定連接有螺紋軸,所述螺紋軸的外側的螺旋連接有螺紋套,所述螺紋套的外側滑動連接有密封套,所述密封套的一端與污泥框呈滑動連接,所述螺紋套的另一端與推板呈固定連接。
移動板移動時,通過啟動第二電機帶動螺紋軸轉動,并且使螺紋套移動,進而推動移動板穩定移動,同時在螺紋套的外側設置有密封套,此時可以避免污水泄露,保證設備整體密封性。
作為本發明所述一種污水泵用的預處理裝置及處理方法的一種可選方案,其中:使用步驟如下;
步驟一:在使用時預先檢查設備,避免設備出現密封不嚴而導致漏氣現象;
步驟二:啟動污水泵對污水進行抽取工作,并且污水在進入預處理組件內部時,通過預處理組件啟動,此時可以對污水中的固體雜質進行碾壓粉碎,確保污水泵得以正常使用;
步驟三:在預處理組件對固體雜質進行處理時,通過啟動推動裝置即可確保固體雜質穩定擠壓至預處理組件內部進行處理;
步驟四:處理后的污水可以順利通過污水泵排出。
與現有技術相比,本發明的有益效果是:
本發明在使用時,在污水泵的前側安裝有處理框,在污水通過處理框時,通過第一電機啟動帶動轉軸轉動,而轉軸帶動轉動盤轉動,而轉動盤帶動底部的碾壓輥轉動,并且轉軸帶動外側的從動齒輪轉動,此時可以使多個碾壓輥轉動,在污水通過碾壓輥間隙時,較大的固體雜質可以被碾壓輥碾壓破碎,有助于后續的污水泵正常使用;
并且在使用時,通過啟動推動組件即可帶動推板移動,而推板帶動移動板移動,而移動板帶動擠壓板移動,此時可以將污水中的較大雜質推動靠近碾壓輥,迫使較大固體雜質與其碾壓輥接觸,并且在碾壓輥的作用下對較大雜質進行破碎,這種設置可以主動推動較大固體雜質移動,避免其堆積,有助于及時對較大固體雜質進行處理;
而在擠壓板移動時,其連通管外側與移動板和擠壓板移動,此時可以確保污泥管內部的污水可以順利排放至擠壓板的一側,有助于擠壓板后續的推動作用;
而在移動板移動時,通過啟動第二電機帶動螺紋軸轉動,并且使螺紋套移動,進而推動移動板穩定移動,同時在螺紋套的外側設置有密封套,此時可以避免污水泄露,保證設備整體密封性。
(發明人:彭勇;浣奚銘;馬雙成)






