公布日:2024.05.10
申請日:2024.03.26
分類號:C02F1/52(2023.01)I;B01D21/02(2006.01)I;B01F27/90(2022.01)I
摘要
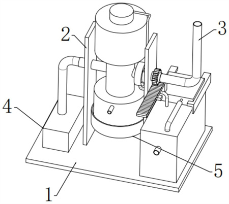
本發明提供了一種污水處理用絮凝凈化裝置,包括底座、絮凝機構、進水管以及藥劑輸送組件。其中,底座頂部水平間隔設有兩個支撐架。絮凝機構包括沉淀組件、控制組件、驅動組件以及轉向組件。沉淀組件位于兩個支撐架之間,且與兩個支撐架轉動連接,沉淀組件中具有攪拌組件。控制組件設置在支撐架的外部,且固設在底座上。驅動組件配合控制組件帶動攪拌組件。轉向組件能夠帶動沉淀組件繞著支撐架俯仰轉動。進水管能夠將污水送入至混合腔中。藥劑輸送組件能夠將絮凝劑輸送至混合腔中。本發明提供的污水處理用絮凝凈化裝置可加快污水中絮凝物的沉降速率,保證污水的絮凝效果,提升設備的加工效率。

權利要求書
1.污水處理用絮凝凈化裝置,其特征在于,包括:底座,頂部水平間隔設有兩個支撐架;絮凝機構,包括沉淀組件、控制組件、驅動組件以及轉向組件;所述沉淀組件位于兩個所述支撐架之間,且與兩個所述支撐架轉動連接,所述沉淀組件的轉動軸線沿水平設置,所述沉淀組件具有混合腔,且在所述混合腔中具有攪拌組件;所述控制組件設置在所述支撐架的外部,且固設在所述底座上;所述驅動組件分別與所述控制組件和所述沉淀組件相連,用于配合所述控制組件帶動所述攪拌組件;所述轉向組件分別與所述控制組件和所述沉淀組件相連,用于帶動所述沉淀組件繞著所述支撐架俯仰轉動;進水管,與所述沉淀組件相連,用于將污水送入至所述混合腔中;藥劑輸送組件,固設在所述底座上,且與所述絮凝機構相連,用于將絮凝劑輸送至所述混合腔中;其中,所述沉淀組件包括中間筒、轉接管、連接筒、齒輪、出料蓋以及第一伸縮件;所述中間筒設置在兩個所述支撐架之間;所述轉接管設有兩個,兩個所述轉接管分別轉動設置在兩個所述支撐架上,且轉動軸線水平設置,兩個所述轉接管分別與所述中間筒的側壁相連,其中一個所述轉接管與所述進水管連通,另一個所述轉接管與所述藥劑輸送組件連通;所述連接筒設有兩個,兩個所述連接筒分別固設在所述中間筒的兩端,所述連接筒與所述中間筒組合形成所述混合腔;所述齒輪固定套設在其中一個所述轉接管上,用于配合所述轉向組件,以使所述中間筒和所述連接筒的組合體翻轉;所述出料蓋與另一個所述連接筒可拆卸連接;所述第一伸縮件設置在所述連接筒上,且與所述出料蓋連接,用于帶動所述出料蓋動作,以使所述連接筒上的排料口打開或者封閉;所述攪拌組件設置在所述混合腔中,且一端伸出其中一個所述連接筒;所述攪拌組件包括傳動箱、支撐桿、扇葉以及攪拌桿;所述傳動箱固設在所述連接筒的外壁上,所述傳動箱的與所述驅動組件相連,且所述傳動箱上設有出氣孔;所述支撐桿與所述轉接管垂直設置,所述支撐桿的一端與所述傳動箱轉動連接,另一端伸入至所述混合腔中;所述扇葉位于所述傳動箱中,且與所述支撐桿同軸連接;所述攪拌桿設有多個,各所述攪拌桿均布在所述支撐桿上,用于隨著所述支撐桿轉動,以對所述混合腔內的污水進行攪拌;其中,所述控制組件包括控制箱、升降板、驅動件、導氣箱、傳動桿、風扇、濾框、連接箱以及控制管;所述控制箱與所述底座固定連接;所述升降板滑動設置在所述控制箱中,且通過第二伸縮件與所述控制箱相連;所述驅動件與所述升降板固定連接,且輸出端與驅動桿固定連接;所述導氣箱設置在所述控制箱內部,且與控制箱固定連接,所述導氣箱與所述驅動組件相連,所述導氣箱還連接有進氣管;所述傳動桿轉動設置在所述導氣箱上,所述傳動桿的一端穿過所述導氣箱的側壁后,套設在所述驅動桿上,且通過限位件與所述驅動桿滑動連接;所述風扇設置在所述導氣箱中,且與所述傳動桿同軸連接,用于向所述驅動組件中提供氣流;所述濾框設置在所述風扇與所述進氣管之間,與所述導氣箱可拆卸連接,用于實現對氣流的除塵;所述連接箱固設在所述控制箱中,且與所述轉向組件相連,用于盛放液壓油;所述控制管設有多個,各所述控制管均固設在所述連接箱底端,且與所述連接箱連通設置,每個所述控制管中均滑動連接設置有與所述升降板相連的第二活塞件,用于配合所述升降板的移動實現對轉向組件的驅動;其中,所述轉向組件包括滑板、活塞管、第一活塞件以及齒條;所述滑板位于所述控制箱外部,且與固設在所述控制箱上的限位板滑動連接;所述活塞管設置在所述滑板外側,具有與滑板滑動方向同向的直線段,所述活塞管的一端與所述連接箱連通;所述第一活塞件滑動設置在所述活塞管中,且與所述滑板相連,用于配合所述控制組件實現滑板的往復移動;所述齒條與所述滑板固定連接,且與所述齒輪嚙合,用于隨著所述滑板的移動,帶動齒輪轉動。
2.如權利要求1所述的污水處理用絮凝凈化裝置,其特征在于,所述驅動組件包括:支撐盤,固定連接設置在所述轉接管外側,且通過吹氣管與所述傳動箱相連;連通箱,轉動連接設置在所述支撐盤外側,所述連通箱與所述支撐盤連接處的箱壁上設置有環形開口;通氣管,設置在所述環形開口內側,與所述支撐盤固定連接,用于連通所述連通箱和所述支撐盤;輸氣管,一端與所述導氣箱固定連接,另一端與連通箱固定連接。
3.如權利要求1所述的污水處理用絮凝凈化裝置,其特征在于,所述藥劑輸送組件包括:藥劑箱,設置在所述支撐架外側,且與所述底座固定連接,用于存儲絮凝劑;藥劑泵,所述藥劑泵固定連接設置在所述藥劑箱中;輸藥管,一端與所述藥劑泵輸出端相連,另一端與所述轉接管轉動連接,用于配合藥劑泵輸送絮凝劑進入所述混合腔中。
發明內容
本發明實施例提供一種污水處理用絮凝凈化裝置,旨在能夠解決現有的絮凝凈化裝置實用性差的問題。
為實現上述目的,本發明采用的技術方案是:提供一種污水處理用絮凝凈化裝置,包括:
底座,頂部水平間隔設有兩個支撐架;
絮凝機構,包括沉淀組件、控制組件、驅動組件以及轉向組件;所述沉淀組件位于兩個所述支撐架之間,且與兩個所述支撐架轉動連接,所述沉淀組件的轉動軸線沿水平設置,所述沉淀組件具有混合腔,且在所述混合腔中具有攪拌組件;所述控制組件設置在所述支撐架的外部,且固設在所述底座上;所述驅動組件分別與所述控制組件和所述沉淀組件相連,用于配合所述控制組件帶動所述攪拌組件;所述轉向組件分別與所述控制組件和所述沉淀組件相連,用于帶動所述沉淀組件繞著所述支撐架俯仰轉動;
進水管,與所述沉淀組件相連,用于將污水送入至所述混合腔中;
藥劑輸送組件,固設在所述底座上,且與所述絮凝機構相連,用于將絮凝劑輸送至所述混合腔中。
在一種可能的實現方式中,所述沉淀組件包括:
中間筒,設置在兩個所述支撐架之間;
轉接管,設有兩個,兩個所述轉接管分別轉動設置在兩個所述支撐架上,且轉動軸線水平設置,兩個所述轉接管分別與所述中間筒的側壁相連,其中一個所述轉接管與所述進水管連通,另一個所述轉接管與所述藥劑輸送組件連通;
連接筒,設有兩個,兩個所述連接筒分別固設在所述中間筒的兩端,所述連接筒與所述中間筒組合形成所述混合腔;
齒輪,固定套設在其中一個所述轉接管上,用于配合所述轉向組件,以使所述中間筒和所述連接筒的組合體翻轉;
出料蓋,與另一個所述連接筒可拆卸連接;
第一伸縮件,設置在所述連接筒上,且與所述出料蓋連接,用于帶動所述出料蓋動作,以使所述連接筒上的排料口打開或者封閉;
其中,所述攪拌組件設置在所述混合腔中,且一端伸出其中一個所述連接筒。
在一種可能的實現方式中,所述攪拌組件包括:
傳動箱,固設在所述連接筒的外壁上,所述傳動箱的與所述驅動組件相連,且所述傳動箱上設有出氣孔;
支撐桿,與所述轉接管垂直設置,所述支撐桿的一端與所述傳動箱轉動連接,另一端伸入至所述混合腔中;
扇葉,位于所述傳動箱中,且與所述支撐桿同軸連接;
攪拌桿,設有多個,各所述攪拌桿均布在所述支撐桿上,用于隨著所述支撐桿轉動,以對所述混合腔內的污水進行攪拌。
在一種可能的實現方式中,所述控制組件包括:
控制箱,與所述底座固定連接;
升降板,滑動設置在所述控制箱中,且通過第二伸縮件與所述控制箱相連;
驅動件,與所述升降板固定連接,且輸出端與驅動桿固定連接;
導氣箱,設置在所述控制箱內部,且與控制箱固定連接,所述導氣箱與所述驅動組件相連,所述導氣箱還連接有進氣管;
傳動桿,轉動設置在所述導氣箱上,所述傳動桿的一端穿過所述導氣箱的側壁后,套設在所述驅動桿上,且通過限位件與所述驅動桿滑動連接;
風扇,設置在所述導氣箱中,且與所述傳動桿同軸連接,用于相所述驅動組件中提供氣流;
濾框,設置在所述風扇與所述進氣管之間,與所述導氣箱可拆卸連接,用于實現對氣流的除塵;
連接箱,固設在所述控制箱中,且與所述轉向組件相連,用于盛放液壓油;
控制管,設有多個,各所述控制管均固設在所述連接箱底端,且與所述連接箱連通設置,每個所述控制管中均滑動連接設置有與所述升降板相連的第二活塞件,用于配合所述升降板的移動實現對轉向組件的驅動。
在一種可能的實現方式中,所述驅動組件包括:
支撐盤,固定連接設置在所述轉接管外側,且通過吹氣管與所述傳動箱相連;
連通箱,轉動連接設置在所述支撐盤外側,所述連通箱與所述支撐盤連接處的箱壁上設置有環形開口;
通氣管,設置在所述環形開口內側,與所述支撐盤固定連接,用于連通所述連通箱和所述支撐盤;
輸氣管,一端與所述導氣箱固定連接,另一端與連通箱固定連接。
在一種可能的實現方式中,所述轉向組件包括:
滑板,位于所述控制箱外部,且與固設在所述控制箱上的限位板滑動連接;
活塞管,設置在所述滑板外側,具有與滑板滑動方向同向的直線段,所述活塞管的一端與所述連接箱連通;
第一活塞件,滑動設置在所述活塞管中,且與所述滑板相連,用于配合所述控制組件實現滑板的往復移動;
齒條,與所述滑板固定連接,且與所述齒輪嚙合,用于隨著所述滑板的移動,帶動齒輪轉動。
在一種可能的實現方式中,所述藥劑輸送組件包括:
藥劑箱,設置在所述支撐架外側,且與所述底座固定連接,用于存儲絮凝劑;
藥劑泵,所述藥劑泵固定連接設置在所述藥劑箱中;
輸藥管,一端與所述藥劑泵輸出端相連,另一端與所述轉接管轉動連接,用于配合藥劑泵輸送絮凝劑進入所述混合腔中。
本實現方式中,污水沿進水管進入沉淀組件中的混合腔,絮凝劑在藥劑輸送組件的驅動下進入沉淀組件中的混合腔,實現污水與絮凝劑的初步混合,控制組件通過驅動組件驅動攪拌組件實現對污水的攪拌,使得污水與絮凝劑混合,控制組件還能驅動所述轉向組件實現沉淀組件的翻轉,進一步使得污水與絮凝劑之間能得到充分的混合。本實現方式提供的污水處理用絮凝凈化裝置通過設置絮凝機構,驅動組件和轉向組件配合控制組件對沉淀組件進行驅動,使得絮凝劑與污水之間能進行多次混合,從而加快污水中絮凝物的沉降速率,保證污水的絮凝效果,利于提升了設備的加工效率。
(發明人:甘申東;蔡華衛;麥超鴻;陸鴻滔;楊宗海;申建超)






