公布日:2023.11.10
申請日:2023.08.21
分類號:C02F3/02(2023.01)I
摘要
本發明公開了一種一體化好氧顆粒污泥反應器,涉及污泥反應器技術領域,包括污泥反應池。通過分割板將污泥反應池進行一定數量的隔斷,分割成多個區域,通過向這些區域加入同樣的污水,通過在不同區域的反應拍內部加入不同品牌的好氧顆粒或者是厭氧顆粒,加入之后利用電機箱帶動轉動軸轉動,從而帶動反應拍轉動,進行攪拌,通過連通反應槽和水體連通,一邊攪拌一邊反應,對污水進行水體處理,在攪拌的同時通過通氣連接管連接氣體裝置,向污泥反應池內部進行氣爆作業,進一步增加攪拌均勻性,通過觀測對比不同區域的污水處理情況,從而可以看出不同好氧顆粒或者是厭氧顆粒的反應速率,直觀的對比可以快速得到數據的效果,提高裝置實驗的明確性。

權利要求書
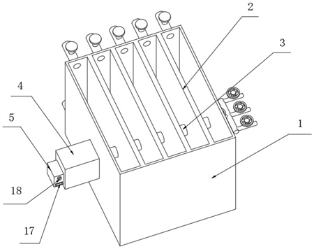
1.一種一體化好氧顆粒污泥反應器,包括污泥反應池(1),所述污泥反應池(1)的內部固定安裝有分割板(2),其特征在于:所述污泥反應池(1)的內部轉動連接有轉動軸(3),所述轉動軸(3)一側的頂端設置有電機箱(4),所述電機箱(4)一側的頂端固定安裝有電力箱(5),所述轉動軸(3)遠離電機箱(4)一側的頂端連通有主力通氣管(6),所述主力通氣管(6)的一側連通有氣體分流管(7),所述氣體分流管(7)的一側連通有通氣連接管(8),所述主力通氣管(6)和所述通氣連接管(8)的一側頂端設置有氣體閥(9),所述轉動軸(3)的一側固定安裝有連接套軸(10),所述連接套軸(10)的一側頂端連通有噴氣槍(11),所述連接套軸(10)的一側表面固定安裝有反應拍(12),所述反應拍(12)的一側表面邊緣開設有連通反應槽(13)。
2.根據權利要求1所述的一種一體化好氧顆粒污泥反應器,其特征在于,所述電機箱(4)內部的電機和所述轉動軸(3)的連接關系為嚙合連接,所述通氣連接管(8)的數量為若干個,若干個所述通氣連接管(8)均勻分布在所述氣體分流管(7)的一側。
3.根據權利要求1所述的一種一體化好氧顆粒污泥反應器,其特征在于,所述轉動軸(3)的一側表面開設有第一連通槽(14),所述連接套軸(10)的內壁開設有第二連通槽(15),所述連接套軸(10)的外表面開設有第三連通槽(16)。
4.根據權利要求3所述的一種一體化好氧顆粒污泥反應器,其特征在于,所述第一連通槽(14)和所述第二連通槽(15)的位置一一對應,所述第一連通槽(14)和所述第二連通槽(15)的連接關系為連通,所述第三連通槽(16)和所述噴氣槍(11)的連接關系為連通。
5.根據權利要求1所述的一種一體化好氧顆粒污泥反應器,其特征在于,所述反應拍(12)包括加料臂(121)和反應盤(122),所述加料臂(121)的一側頂端開設有加料槽(123),所述加料槽(123)的內部可拆卸安裝有密封塞(124),所述加料臂(121)的內部開設有傳輸軌(125),所述反應盤(122)的內部開設有限位旋轉軌(126)。
6.根據權利要求5所述的一種一體化好氧顆粒污泥反應器,其特征在于,所述加料槽(123)和所述密封塞(124)的連接關系為活動卡接,所述傳輸軌(125)和所述限位旋轉軌(126)的連接關系為連通,所述限位旋轉軌(126)和所述連通反應槽(13)的連接關系為連通。
7.根據權利要求1所述的一種一體化好氧顆粒污泥反應器,其特征在于,所述電力箱(5)的一側頂端開設有電力連接槽(17),所述電力箱(5)的一側可拆卸安裝有啟動器(18),所述污泥反應池(1)的一側頂端連通有加水管(19),所述加水管(19)的一側頂端可拆卸安裝有加水閥(20),所述污泥反應池(1)的一側底端連通有排水管(21),所述排水管(21)的一側頂端可拆卸安裝有排水閥(22)。
8.根據權利要求1所述的一種一體化好氧顆粒污泥反應器,其特征在于,所述污泥反應池(1)的一側底端固定安裝有沉淀物吸取器(23),所述沉淀物吸取器(23)的一側頂端連通有排污管(24),所述排污管(24)的頂端可拆卸安裝有排污閥(25),所述沉淀物吸取器(23)靠近污泥反應池(1)的一側連通有沉淀物吸取管(26),所述沉淀物吸取管(26)的表面開設有吸取槽(27)。
9.根據權利要求8所述的一種一體化好氧顆粒污泥反應器,其特征在于,所述沉淀物吸取管(26)位于所述污泥反應池(1)內部的底端,所述吸取槽(27)的數量為若干個,若干個所述吸取槽(27)均勻分布在所述沉淀物吸取管(26)的表面。
發明內容
本發明的目的在于提供一體化好氧顆粒污泥反應器。
為解決上述技術問題,本發明提供如下技術方案:一種一體化好氧顆粒污泥反應器,包括污泥反應池,所述污泥反應池的內部固定安裝有分割板,所述污泥反應池的內部轉動連接有轉動軸,所述轉動軸一側的頂端設置有電機箱,所述電機箱一側的頂端固定安裝有電力箱,所述轉動軸遠離電機箱一側的頂端連通有主力通氣管,所述主力通氣管的一側連通有氣體分流管,所述氣體分流管的一側連通有通氣連接管,所述主力通氣管和所述通氣連接管的一側頂端設置有氣體閥,所述轉動軸的一側固定安裝有連接套軸,所述連接套軸的一側頂端連通有噴氣槍,所述連接套軸的一側表面固定安裝有反應拍,所述反應拍的一側表面邊緣開設有連通反應槽。
優選的,所述電機箱內部的電機和所述轉動軸的連接關系為嚙合連接,所述通氣連接管的數量為若干個,若干個所述通氣連接管均勻分布在所述氣體分流管的一側。
優選的,所述轉動軸的一側表面開設有第一連通槽,所述連接套軸的內壁開設有第二連通槽,所述連接套軸的外表面開設有第三連通槽。
優選的,所述第一連通槽和所述第二連通槽的位置一一對應,所述第一連通槽和所述第二連通槽的連接關系為連通,所述第三連通槽和所述噴氣槍的連接關系為連通。
優選的,所述反應拍包括加料臂和反應盤,所述加料臂的一側頂端開設有加料槽,所述加料槽的內部可拆卸安裝有密封塞,所述加料臂的內部開設有傳輸軌,所述反應盤的內部開設有限位旋轉軌。
優選的,所述加料槽和所述密封塞的連接關系為活動卡接,所述傳輸軌和所述限位旋轉軌的連接關系為連通,所述限位旋轉軌和所述連通反應槽的連接關系為連通。
優選的,所述電力箱的一側頂端開設有電力連接槽,所述電力箱的一側可拆卸安裝有啟動器,所述污泥反應池的一側頂端連通有加水管,所述加水管的一側頂端可拆卸安裝有加水閥,所述污泥反應池的一側底端連通有排水管,所述排水管的一側頂端可拆卸安裝有排水閥。
優選的,所述污泥反應池的一側底端固定安裝有沉淀物吸取器,所述沉淀物吸取器的一側頂端連通有排污管,所述排污管的頂端可拆卸安裝有排污閥,所述沉淀物吸取器靠近污泥反應池的一側連通有沉淀物吸取管,所述沉淀物吸取管的表面開設有吸取槽。
優選的,所述沉淀物吸取管位于所述污泥反應池內部的底端,所述吸取槽的數量為若干個,若干個所述吸取槽均勻分布在所述沉淀物吸取管的表面。
與相關技術相比較,本發明提供的一體化好氧顆粒污泥反應器有如下有益效果:
1、本發明提供一體化好氧顆粒污泥反應器,通過污泥反應池,分割板,轉動軸,電機箱,電力箱,主力通氣管,氣體分流管,通氣連接管,氣體閥,連接套軸,噴氣槍,反應拍和連通反應槽相配合,起到了通過分割板將污泥反應池進行一定數量的隔斷,分割成多個區域,通過向這些區域加入同樣的污水,通過在不同區域的反應拍內部加入不同品牌的好氧顆粒或者是厭氧顆粒,加入之后利用電機箱帶動轉動軸轉動,從而帶動反應拍轉動,在攪拌的過程中,通過連通反應槽和水體連通,一邊攪拌一邊反應,對污水進行水體處理,在攪拌的同時通過通氣連接管連接氣體裝置,向污泥反應池內部進行氣爆作業,進一步增加攪拌均勻性,通過觀測對比不同區域的污水處理情況,從而可以看出不同好氧顆粒或者是厭氧顆粒的反應速率,直觀的對比可以快速得到數據的效果,提高裝置實驗的明確性。
2、本發明提供一體化好氧顆粒污泥反應器,采用加料臂,反應盤,加料槽,密封塞,傳輸軌和限位旋轉軌相配合,起到了通過加料槽加入適量的好氧顆粒或者是厭氧顆粒,在反應拍轉動過程中,好氧顆粒或者是厭氧顆粒會經過傳輸軌進入限位旋轉軌的內部,在進行攪拌轉動的同時,好氧顆粒或者是厭氧顆粒在限位旋轉軌內部旋轉轉動,可以可以增加好氧顆粒或者是厭氧顆粒和水體接觸的動力,方便增加反應速率的效果,保證好氧顆粒或者是厭氧顆粒更好的處理污水的效果。
3、本發明提供一體化好氧顆粒污泥反應器,利用沉淀物吸取器,排污管,排污閥,沉淀物吸取管和吸取槽相配合,起到了在反應完成之后,產生一定的沉淀物,此時通過排水管進行排水作業,通過控制沉淀物吸取器上的沉淀物吸取管進行沉淀物的收集吸取,通過沉淀物吸取管表面不同位置的吸取槽進行不同位置的吸取,保證吸取全面性的效果,最終通過排污管進行集中排出的效果,減少后續清理污泥反應池底部沉淀物的處理時間,降低工作量的同時保證污泥反應池內部的使用清潔程度。
(發明人:徐棟;朱晨陽;王其樂;蔣晨鵬;劉振華;屈興紅)






