公布日:2023.11.28
申請日:2023.10.26
分類號:C02F1/44(2023.01)I;B01D65/02(2006.01)I
摘要
本發明公開了一種廢水后處理過濾裝置,包括殼體、過濾組件以及流體切換機構;殼體具有進水口和出水口,過濾組包括上濾膜和下濾膜、內支承部件和外支承部件;所述流體切換機構包括:閥芯、閥板、罩設部件以及驅動機構。本發明的過濾裝置利用閥芯、外支承部件與罩設部件之間的配合實現了對廢水流向的切換,在需要進行反沖洗時,被切換流向的廢水被上濾膜過濾后直接用于對下濾膜的反沖洗,從而能夠避免利用來自于出水口下游的暫存容器中的水反向流入過濾裝置而對濾膜進行沖洗。

權利要求書
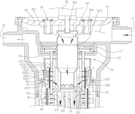
1.一種廢水后處理過濾裝置,包括殼體、過濾組件以及流體切換機構;所述殼體具有位于徑向上的兩側的進水口和出水口,所述殼體的分隔部件將所述殼體的內部分成供水腔和過濾腔,所述進水口與所述供水腔連通;所述過濾組件設置于所述過濾腔中并將所述過濾腔分成內腔室和外腔室,所述出水口與所述外腔室連通,所述過濾組件包括濾膜、設置于濾膜的內側的內支承部件以及設置于濾膜的外側的外支承部件;其特征在于,所述外支承部件配置成具有矩陣排布的過流槽的筒狀結構,所述外支承部件包括下筒部、上筒部以及介于所述上筒部與所述下筒部之間的結合部;所述濾膜包括下濾膜和上濾膜,所述下濾膜與所述下筒部對應設置,所述上濾膜與所述上筒部對應設置;所述流體切換機構包括:閥芯,其配置成柱狀且內部具有空腔,所述閥芯的上部側壁開設有貫通至空腔的流體進口,所述閥芯的下部側壁開設有貫通至空腔的主流體出口,所述閥芯穿設所述分隔部件,從而所述閥芯的流體進口位于所述供水腔中,所述閥芯的主流體出口位于所述內腔室中;閥板,其橫置于所述外支承部件中并介于所述上筒部與所述下筒部之間,所述閥板的中部設置有中心套,所述閥芯的下端穿設所述中心套;驅動機構,其用于驅動所述閥芯豎向移動以使得所述閥芯的主流體出口在向下移動而降至所述中心套的下方后與閥板下方的下內腔室連通,所述閥芯的主流體出口在向上移動而升至所述中心套的上方后與閥板上方的上內腔室連通;罩設部件,其配置成與所述閥芯隨動,所述罩設部件扣設于所述上筒部外并包圍所述上內腔室;當所述閥芯下移至使得所述主流體出口進入所述下內腔室時,所述罩設部件隨所述閥芯下移而使得其側壁的下部與所述結合部的外周面配合而將所述上內腔室關閉,而當所述閥芯上移至使得所述主流體出口進入所述上內腔室時,所述罩設部件隨所述閥芯上移而使得其下部與所述結合部分離從而將所述上內腔室開啟;所述內支承部件包括周向排布的多個支承桿,所述支承桿包括桿主體、形成于所述桿主體上端的光桿,所述支承桿的桿主體與所述下內腔室對應以用于支承所述下濾膜,所述支承桿的光桿穿過所述閥板而與所述上內腔室對應以用于支承所述上濾膜;自所述光桿的上端面朝桿主體的方向開設有軸向延伸的沖洗流道,自所述桿主體的表面開設有徑向向內貫通至所述沖洗流道的沿軸向間隔排布的噴嘴;所述流體切換機構還包括:閥體;所述分隔部件配置成具有安裝沉槽的安裝座,所述閥體安裝于所述安裝沉槽中,所述閥體包括固定座、活動盤以及彈簧,所述固定座包括底板和環板,所述活動盤設置于所述環板內并能夠進行豎向滑動,所述活動盤的底部形成有軸向貫通的外筒,所述外筒穿設所述底板,從而所述固定座與所述活動盤圍成環狀的導流腔,所述彈簧設置于所述導流腔中;所述閥芯穿設所述外筒,所述支承桿的光桿的上端穿設所述罩設部件的頂部而伸入至所述導流腔中;所述外筒的筒壁開設有多個閥口,多個所述閥口周向排布;所述閥芯的上部側壁上還開設有貫通至空腔的周向排布的副流體出口;其中:所述副流體出口與所述主流體出口的位置關系配置成:在所述主流體出口與所述中心套對應時,所述副流體出口與所述外筒的閥口相對。
2.根據權利要求1所述的廢水后處理過濾裝置,其特征在于,所述罩設部件配置成筒狀結構;所述罩設部件的下部的外周面上構造出徑向向外凸出環狀的第一節流部,所述殼體的內側構造出徑向向內凸出環狀的第二節流部;其中:所述第二節流部位于所述第一節流部的上方;當所述閥芯上移至使得所述主流體出口進入所述上內腔室,同步地所述罩設部件將所述上內腔室開啟時,所述第一節流部隨所述罩設部件上移而接近所述第二節流部以與所述第二節流部配合以限定流體水從外腔室流向所述出水口的流量;而當所述閥芯下移至使得所述主流體出口進入所述下內腔室,同步地所述罩設部件將所述上內腔室關閉時,所述第一節流部隨所述罩設部件下移而遠離所述第二節流部以解除對流體水流量的限定。
3.根據權利要求2所述的廢水后處理過濾裝置,其特征在于,所述罩設部件的外周面上配置成周向排布的多個平直表面;每個所述平直表面上均開設有沿豎向延伸的條形槽,所述條形槽徑向的貫通所述罩設部件的側壁;每個所述條形槽上均覆蓋有閥條;其中:所述閥條的下端作為連接端而與所述平直表面貼附固定,所述閥條的上端作為自由端以使得所述閥條能夠進行徑向彈性變形并通過彈性變形而將所述條形槽打開;若所述第一節流部與所述第二節流部配合對流體水流量的限定使得流體水的壓力超過預設壓力值,所述閥條響應于流體水的壓力而將所述條形槽打開。
4.根據權利要求1所述的廢水后處理過濾裝置,其特征在于,所述上筒部的外周面上形成有環形凹槽,所述結合部位于所述環形凹槽的下方;其中:所述罩設部件的側壁與所述環形凹槽圍成環形空隙。
5.根據權利要求1所述的廢水后處理過濾裝置,其特征在于,所述罩設部件上、或所述上筒部上、或者所述罩設部件與所述上筒部之間設置有反流結構;在所述罩設部件將所述上內腔室關閉后,所述反流結構允許所述外腔室內的流體水進入到所述上內腔室中。
6.根據權利要求5所述的廢水后處理過濾裝置,其特征在于,所述結合部的外周面上開設有周向排布且軸向延伸的微溝槽;在所述罩設部件與所述結合部配合而將所述上內腔室關閉后,所述微溝槽形成為所述反流結構。
7.根據權利要求1所述的廢水后處理過濾裝置,其特征在于,所述上筒部的外徑和內徑均小于所述下筒部,所述下筒部與所述上筒部之間形成有定位臺階,所述閥板固定在所述定位臺階處。
8.根據權利要求1所述的廢水后處理過濾裝置,其特征在于,所述下濾膜的軸向上的兩端粘接固定于所述下筒部的內壁上,所述上濾膜的軸向上的兩端粘接固定于所述上筒部的內壁上;其中:所述上濾膜與所述上筒部之間設置有隔墊,所述隔墊使得所述上濾膜與所述上筒部之間形成預留間隙。
9.根據權利要求1所述的廢水后處理過濾裝置,其特征在于,所述閥芯的下部的徑向尺寸小于所述閥芯的上部的徑向尺寸,并借由錐形結構過渡。
發明內容
針對現有技術中存在的上述技術問題,本發明的實施例提供了一種廢水后處理過濾裝置。
為解決上述技術問題,本發明的實施例采用的技術方案是:
一種廢水后處理過濾裝置,包括殼體、過濾組件以及流體切換機構;所述殼體具有位于徑向上的兩側的進水口和出水口,所述殼體的分隔部件將所述殼體的內部分成供水腔和過濾腔,所述進水口與所述供水腔連通;所述過濾組件設置于所述過濾腔中并將所述過濾腔分成內腔室和外腔室,所述出水口與所述外腔室連通,所述過濾組件包括濾膜、設置于濾膜的內側的內支承部件以及設置于濾膜的外側的外支承部件;
所述外支承部件配置成具有矩陣排布的過流槽的筒狀結構,所述外支承部件包括下筒部、上筒部以及介于所述上筒部與所述下筒部之間的結合部;
所述濾膜包括下濾膜和上濾膜,所述下濾膜與所述下筒部對應設置,所述上濾膜與所述上筒部對應設置;
所述流體切換機構包括:
閥芯,其配置成柱狀且內部具有空腔,所述閥芯的上部側壁開設有貫通至空腔的流體進口,所述閥芯的下部側壁開設有貫通至空腔的主流體出口,所述閥芯穿設所述分隔部件,從而所述閥芯的流體進口位于所述供水腔中,所述閥芯的主流體出口位于所述內腔室中;
閥板,其橫置于所述外支承部件中并介于所述上筒部與所述下筒部之間,所述閥板的中部設置有中心套,所述閥芯的下端穿設所述中心套;
驅動機構,其用于驅動所述閥芯豎向移動以使得所述閥芯的主流體出口在向下移動而降至所述中心套的下方后與閥板下方的下內腔室連通,所述閥芯的主流體出口在向上移動而升至所述中心套的上方后與閥板上方的上內腔室連通;
罩設部件,其配置成與所述閥芯隨動,所述罩設部件扣設于所述上筒部外并包圍所述上內腔室;當所述閥芯下移至使得所述主流體出口進入所述下內腔室時,所述罩設部件隨所述閥芯下移而使得其側壁的下部與所述結合部的外周面配合而將所述上內腔室關閉,而當所述閥芯上移至使得所述主流體出口進入所述上內腔室時,所述罩設部件隨所述閥芯上移而使得其下部與所述結合部分離從而將所述上內腔室開啟。
優選地,
所述罩設部件配置成筒狀結構;
所述罩設部件的下部的外周面上構造出徑向向外凸出環狀的第一節流部,所述殼體的內側構造出徑向向內凸出環狀的第二節流部;其中:
所述第二節流部位于所述第一節流部的上方;
當所述閥芯上移至使得所述主流體出口進入所述上內腔室,同步地所述罩設部件將所述上內腔室開啟時,所述第一節流部隨所述罩設部件上移而接近所述第二節流部以與所述第二節流部配合以限定流體水從外腔室流向所述出水口的流量;
而當所述閥芯下移至使得所述主流體出口進入所述下內腔室,同步地所述罩設部件將所述上內腔室關閉時,所述第一節流部隨所述罩設部件下移而遠離所述第二節流部以解除對流體水流量的限定。優選地,所述罩設部件的外周面上配置成周向排布的多個平直表面;每個所述平直表面上均開設有沿豎向延伸的條形槽,所述條形槽徑向的貫通所述罩設部件的側壁;每個所述條形槽上均覆蓋有閥條;其中:
所述閥條的下端作為連接端而與所述平直表面貼附固定,所述閥條的上端作為自由端以使得所述閥條能夠進行徑向彈性變形并通過彈性變形而將所述條形槽打開;
若所述第一節流部與所述第二節流部配合對流體水流量的限定使得流體水的壓力超過預設壓力值,所述閥條響應于流體水的壓力而將所述條形槽打開。
優選地,所述上筒部的外周面上形成有環形凹槽,所述結合部位于所述環形凹槽的下方;其中:
所述罩設部件的側壁與所述環形凹槽圍成環形空隙。
優選地,所述罩設部件上、或所述上筒部上、或者所述罩設部件與所述上筒部之間設置有反流結構;
在所述罩設部件將所述上內腔室關閉后,所述反流結構允許所述外腔室內的流體水進入到所述上內腔室中。
優選地,所述結合部的外周面上開設有周向排布且軸向延伸的微溝槽;在所述罩設部件與所述結合部配合而將所述上內腔室關閉后,所述微溝槽形成為所述反流結構。
優選地,
所述內支承部件包括周向排布的多個支承桿,所述支承桿包括桿主體、形成于所述桿主體上端的光桿,所述支承桿的桿主體與所述下內腔室對應以用于支承所述下濾膜,所述支承桿的光桿穿過所述閥板而與所述上內腔室對應以用于支承所述上濾膜;自所述光桿的上端面朝桿主體的方向開設有軸向延伸的沖洗流道,自所述桿主體的表面開設有徑向向內貫通至所述沖洗流道的沿軸向間隔排布的噴嘴;
所述流體切換機構還包括:閥體;所述分隔部件配置成具有安裝沉槽的安裝座,所述閥體安裝于所述安裝沉槽中,所述閥體包括固定座、活動盤以及彈簧,所述固定座包括底板和環板,所述活動盤設置于所述環板內并能夠進行豎向滑動,所述活動盤的底部形成有軸向貫通的外筒,所述外筒穿設所述底板,從而所述固定座與所述活動盤圍成環狀的導流腔,所述彈簧設置于所述導流腔中;
所述閥芯穿設所述外筒,
所述支承桿的光桿的上端穿設所述罩設部件的頂部而伸入至所述導流腔中;
所述外筒的筒壁開設有多個閥口,多個所述閥口周向排布;所述閥芯的上部側壁上還開設有貫通至空腔的周向排布的副流體出口;其中:
所述副流體出口與所述主流體出口的位置關系配置成:在所述主流體出口與所述中心套對應時,所述副流體出口與所述外筒的閥口相對。
優選地,所述上筒部的外徑和內徑均小于所述下筒部,所述下筒部與所述上筒部之間形成有定位臺階,所述閥板固定在所述定位臺階處。
優選地,所述下濾膜的軸向上的兩端粘接固定于所述下筒部的內壁上,所述上濾膜的軸向上的兩端粘接固定于所述上筒部的內壁上;其中:
所述上濾膜與所述上筒部之間設置有隔墊,所述隔墊使得所述上濾膜與所述上筒部之間形成預留間隙。優選地,所述閥芯的下部的徑向尺寸小于所述閥芯的上部的徑向尺寸,并借由錐形結構過渡。
與現有技術相比,本發明的實施例所提供的廢水后處理過濾裝置的有益效果是:
1、本發明所提供的過濾裝置在過濾作業與反沖洗作業之間頻繁切換時,過濾裝置的上游和下游的相關部件不必同步的進行頻繁切換而保持在原狀態,從而能夠顯著提高相關部件的使用壽命。
2、利用閥芯、外支承部件與罩設部件之間的配合實現了對廢水流向的切換,在需要進行反沖洗時,被切換流向的廢水被上濾膜過濾后直接用于對下濾膜的反沖洗,從而能夠避免利用來自于出水口下游的暫存容器中的水反向流入過濾裝置而對濾膜進行沖洗。(發明人:賈亞東;馬琦;許建全;王學成;陳英;王祖兵)






