公布日:2023.12.12
申請日:2023.09.14
分類號:E03C1/30(2006.01)I;E03C1/302(2006.01)I
摘要
本發明適用于污泥清淤技術領域,提供了一種污泥清淤裝置,包括:收集桶、基板、轉管二以及支撐架,基板固定安裝于收集桶頂部,且收集桶底部還開設有排水孔,轉管二固定安裝于基板上,支撐架固定安裝于轉管二遠離基板的一端;清理組件,清理組件轉動安裝于轉管二上;滑動安裝于基板上的滑塊組件,滑塊組件包括滑塊一和滑塊二,基板上還設置有用于帶動滑塊一和滑塊二移動的往復組件,往復組件還與轉管二相連通;以及驅動組件,驅動組件與滑塊組件相連接,本發明通過收集桶、往復組件以及驅動組件等的配合設置,避免了現有的污泥清淤裝置普遍體積較大,不便于對建筑內的排水管道進行污泥清淤處理,存在一定的局限性的問題。

權利要求書
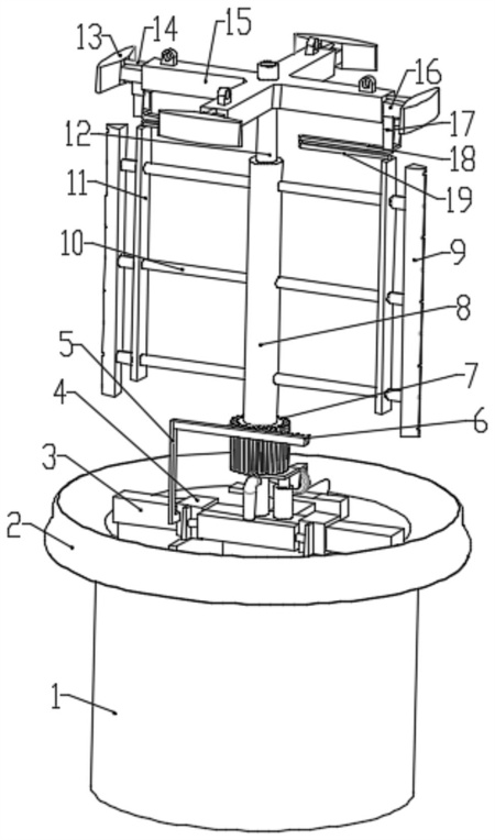
1.一種污泥清淤裝置,包括收集桶、基板、轉管二以及支撐架,所述基板固定安裝于收集桶頂部,且收集桶底部還開設有排水孔,所述轉管二固定安裝于基板上,支撐架固定安裝于轉管二遠離基板的一端,所述支撐架內設有空腔,且空腔與轉管二相連通,空腔與轉管二的連接處還設置有電磁閥一,所述支撐架上還設置有多組懸掛部,其特征在于,還包括:滑動安裝于支撐架的空腔內的固定組件,所述固定組件設置有多組;清理組件,所述清理組件轉動安裝于轉管二上;滑動安裝于基板上的滑塊組件,所述滑塊組件包括滑塊一和滑塊二,且滑塊一和滑塊二在基板上對稱設置,基板上還設置有用于帶動滑塊一和滑塊二移動的往復組件,所述往復組件還與轉管二相連通;以及用于帶動清理組件工作的驅動組件,所述驅動組件與滑塊組件相連接。
2.根據權利要求1所述的污泥清淤裝置,其特征在于,所述固定組件包括:滑動桿,所述滑動桿滑動安裝于支撐架的空腔內;支撐塊,所述支撐塊固定安裝于滑動桿上;以及彈力繩一,用于所述支撐塊與支撐架之間的連接。
3.根據權利要求2所述的污泥清淤裝置,其特征在于,所述支撐塊上還設置有防滑墊,能夠提高支撐塊與排水管道之間的摩擦力。
4.根據權利要求2所述的污泥清淤裝置,其特征在于,所述清理組件包括:轉管一,所述轉管一轉動安裝于轉管二上,且轉管一與驅動組件相連接;伸縮桿,所述伸縮桿在轉管一上固定安裝有多組,且轉管二上還開設有能夠與伸縮桿相連通的通孔;刮板,所述刮板固定安裝于伸縮桿的伸縮端上,且刮板上開設有能夠與伸縮桿相連通的噴孔;以及聯動組件,用于伸縮桿的伸縮端與滑動桿之間的連接。
5.根據權利要求4所述的污泥清淤裝置,其特征在于,所述聯動組件包括:伸縮架,所述伸縮架的一端固定安裝于滑動桿上,且伸縮架為U字形結構;驅動板,所述驅動板固定安裝于伸縮桿的伸縮端上;聯動桿二,所述聯動桿二轉動安裝于驅動板上;聯動桿一,所述聯動桿一固定安裝于伸縮架另一端,且聯動桿一與聯動桿二遠離驅動板的一端轉動連接。
6.根據權利要求4所述的污泥清淤裝置,其特征在于,所述往復組件包括:至少一組彈力繩二,用于滑塊一與滑塊二之間的連接;驅動盒,所述驅動盒固定安裝于基板上,且驅動盒的兩端分別與滑塊一和滑塊二相接觸;導管二,用于驅動盒與轉管二之間的連通;擋板,所述擋板在驅動盒滑動安裝有兩組,且兩組擋板之間具有用于容納氣體的空隙;以及兩組推桿,兩組推桿分別用于擋板與滑塊一之間以及擋板與滑塊二之間的連接。
7.根據權利要求6所述的污泥清淤裝置,其特征在于,所述驅動組件包括:齒輪,所述齒輪轉動安裝于轉管二上,且齒輪與轉管一固定連接;齒條,所述齒條通過聯動板固定安裝于滑塊一上,且齒條與齒輪相嚙合,齒輪的厚度大于齒條的厚度;安裝架,所述安裝架通過彈性伸縮桿安裝于基板上,且安裝架與齒輪之間轉動連接,齒輪能夠跟隨安裝架在轉管一的長度方向上移動;導輪,所述導輪轉動安裝于安裝架上;以及起伏板,所述起伏板固定安裝于滑塊二上,且導輪與起伏板相接觸,起伏板上還設置有用于推動導輪在轉管一的長度方向上移動的凸起部。
8.根據權利要求1所述的污泥清淤裝置,其特征在于,所述收集桶上還設置有氣囊,且氣囊膨脹后為圓環形結構,且氣囊與轉管二之間通過導管一連通,導管一與氣囊的連接處設有電磁閥二。
9.根據權利要求1所述的污泥清淤裝置,其特征在于,所述滑塊一和滑塊二上還固定安裝有按壓板,且按壓板位于收集桶內。
10.根據權利要求1所述的污泥清淤裝置,其特征在于,所述支撐架為十字形結構。
發明內容
本發明的目的在于提供一種污泥清淤裝置,旨在解決上述背景技術中的問題。
本發明是這樣實現的,一種污泥清淤裝置,包括:
收集桶、基板、轉管二以及支撐架,所述基板固定安裝于收集桶頂部,且收集桶底部還開設有排水孔,所述轉管二固定安裝于基板上,支撐架固定安裝于轉管二遠離基板的一端,所述支撐架內設有空腔,且空腔與轉管二相連通,空腔與轉管二的連接處還設置有電磁閥一,所述支撐架上還設置有多組懸掛部;
滑動安裝于支撐架的空腔內的固定組件,所述固定組件設置有多組;
清理組件,所述清理組件轉動安裝于轉管二上;
滑動安裝于基板上的滑塊組件,所述滑塊組件包括滑塊一和滑塊二,且滑塊一和滑塊二在基板上對稱設置,基板上還設置有用于帶動滑塊一和滑塊二移動的往復組件,所述往復組件還與轉管二相連通;
以及用于帶動清理組件工作的驅動組件,所述驅動組件與滑塊組件相連接。
作為本發明進一步的方案:所述固定組件包括:
滑動桿,所述滑動桿滑動安裝于支撐架的空腔內;
支撐塊,所述支撐塊固定安裝于滑動桿上;
以及彈力繩一,用于所述支撐塊與支撐架之間的連接。
作為本發明進一步的方案:所述支撐塊上還設置有防滑墊,能夠提高支撐塊與排水管道之間的摩擦力。
作為本發明進一步的方案:所述清理組件包括:
轉管一,所述轉管一轉動安裝于轉管二上,且轉管一與驅動組件相連接;
伸縮桿,所述伸縮桿在轉管一上固定安裝有多組,且轉管二上還開設有能夠與伸縮桿相連通的通孔;
刮板,所述刮板固定安裝于伸縮桿的伸縮端上,且刮板上開設有能夠與伸縮桿相連通的噴孔;
以及聯動組件,用于伸縮桿的伸縮端與滑動桿之間的連接。
作為本發明進一步的方案:所述聯動組件包括:
伸縮架,所述伸縮架的一端固定安裝于滑動桿上,且伸縮架為U字形結構;
驅動板,所述驅動板固定安裝于伸縮桿的伸縮端上;
聯動桿二,所述聯動桿二轉動安裝于驅動板上;
聯動桿一,所述聯動桿一固定安裝于伸縮架另一端,且聯動桿一與聯動桿二遠離驅動板的一端轉動連接。
作為本發明進一步的方案:所述往復組件包括:
至少一組彈力繩二,用于滑塊一與滑塊二之間的連接;
驅動盒,所述驅動盒固定安裝于基板上,且驅動盒的兩端分別與滑塊一和滑塊二相接觸;
導管二,用于驅動盒與轉管二之間的連通;
擋板,所述擋板在驅動盒滑動安裝有兩組,且兩組擋板之間具有用于容納氣體的空隙;
以及兩組推桿,兩組推桿分別用于擋板與滑塊一之間以及擋板與滑塊二之間的連接。
作為本發明進一步的方案:所述驅動組件包括:
齒輪,所述齒輪轉動安裝于轉管二上,且齒輪與轉管一固定連接;
齒條,所述齒條通過聯動板固定安裝于滑塊一上,且齒條與齒輪相嚙合,齒輪的厚度大于齒條的厚度;
安裝架,所述安裝架通過彈性伸縮桿安裝于基板上,且安裝架與齒輪之間轉動連接,齒輪能夠跟隨安裝架在轉管一的長度方向上移動;
導輪,所述導輪轉動安裝于安裝架上;
以及起伏板,所述起伏板固定安裝于滑塊二上,且導輪與起伏板相接觸,起伏板上還設置有用于推動導輪在轉管一的長度方向上移動的凸起部。
作為本發明進一步的方案:所述收集桶上還設置有氣囊,且氣囊膨脹后為圓環形結構,且氣囊與轉管二之間通過導管一連通,導管一與氣囊的連接處設有電磁閥二。
作為本發明進一步的方案:所述滑塊一和滑塊二上還固定安裝有按壓板,且按壓板位于收集桶內。
作為本發明進一步的方案:所述支撐架為十字形結構。
與現有技術相比,本發明的有益效果:將牽引繩與懸掛部連接,便于將裝置整體放入到排水管道內,同時將轉管二與外部氣源(或水源)相連通,待裝置整體移動至需要清淤的位置時,電磁閥一打開,并向支撐架的空腔內導入氣體(或液體),從而推動固定組件在支撐架上移動,使得固定組件按壓到排水管道的側壁上,完成固定后電磁閥一關閉轉管二內的氣體將進入到往復組件內,并通過往復組件帶動滑塊一和滑塊二在基板的長度方向上相互靠近或遠離,同時配合驅動組件帶動清理組件在轉管二上轉動,以及帶動清理組件在轉管二的長度方向上往復移動,實現對排水管道內的清淤處理,清除的淤泥將落入收集桶內進行收集,淤泥中的水分將通過收集桶底部的排水孔排出;通過收集桶、轉管二、固定組件、清理組件、滑塊組件、往復組件以及驅動組件的配合設置,避免了現有的污泥清淤裝置普遍體積較大,不便于對建筑內的排水管道進行污泥清淤處理,存在一定的局限性的問題。
(發明人:劉輝;張同)






