公布日:2023.12.05
申請日:2023.08.15
分類號:C02F9/00(2023.01)I;C02F1/78(2023.01)I;C02F1/72(2023.01)I;C02F1/32(2023.01)I;C02F3/30(2023.01)I;C02F101/30(2006.01)N;C02F103/20(2006.01)N;C02F101
/20(2006.01)N;C02F101/22(2006.01)N;C02F101/38(2006.01)N;C02F101/10(2006.01)N;C02F101/16(2006.01)N
摘要
本發明涉及一種非均相臭氧催化氧化系統及其用于深度處理養殖廢水的方法,該系統包括生物處理反應器、一級臭氧催化氧化塔、二級臭氧催化氧化塔、曝氣生物濾塔(BAF塔),一級臭氧催化氧化塔、二級臭氧催化氧化塔、BAF塔的高度依次遞減。本發明有效降低臭氧消耗量,提高臭氧利用率,可進一步降低生物法處理后的出水中的污染物(COD、SS、抗生素、色度),出水水質穩定,可達到《農田灌溉水質標準》(GB5084-2021)。

權利要求書
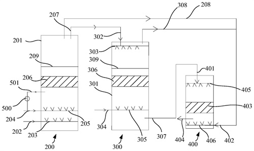
1.一種非均相臭氧催化氧化系統,包括一級臭氧催化氧化塔、二級臭氧催化氧化塔、曝氣生物濾塔(BAF塔);一級臭氧催化氧化塔、二級臭氧催化氧化塔、BAF塔的高度依次遞減;所述一級臭氧催化氧化塔包括第一塔體、第一廢水進水管、第一布水器、第一臭氧進氣管、第一布氣管、第一硅鋁基催化劑、第一紫外裝置、第一廢水出口管、第一尾氧收集管;其中第一廢水進水管設置于第一塔體側壁,與第一塔體底部的第一布水器相連接;第一臭氧進氣管設置于第一塔體側壁,與第一塔體底部的第一布氣管相連接,第一廢水出水管和第一尾氧收集管設置于第一塔體頂部,所述一級臭氧催化氧化塔的第一廢水出水管與二級臭氧催化氧化塔的第二廢水進水管相連,所述二級臭氧催化氧化塔包括第二塔體、第二廢水進水管、第二臭氧進氣管、第二硅鋁基催化劑、第二紫外裝置、第二廢水出水管、第二尾氧收集管;其中第二廢水進水管設置于第二塔體頂部,與第二塔體上部的噴淋裝置相連接;第二臭氧進氣管設置于第二塔體側壁,與第二塔體底部的第二布氣管相連接,第二尾氧收集管設置于第二塔體頂部,二級臭氧催化氧化塔的第二廢水出水管設置于第二塔體底部,與BAF塔進水口連接;兩級臭氧催化氧化塔塔體中部均設有硅鋁基催化劑,用攔截網支撐固定在塔體內,兩級臭氧催化氧化塔均設有紫外裝置,塔體中部每隔50cm交叉設置一根紫外線燈管,在塔內用石英玻璃隔開,紫外燈管可從側壁抽出更換;所述BAF塔包括第三塔體、BAF塔進水口、第三布水器、BAF塔進氣口、第三布氣管、MBBR生物懸浮填料及BAF塔出水口;其中BAF塔進氣口位于BAF塔下部,與第三布氣管相連接,MBBR生物懸浮填料用第三攔截網保持在BAF塔中上部。
2.如權利要求1所述的系統,其特征在于,所述一級臭氧催化氧化塔側壁中部設有循環水出口,廢水從循環水出口,通過循環泵作用進入臭氧進氣管上的文丘里射流裝置,與臭氧快速氣液混合后,從位于一級臭氧催化氧化塔下部的臭氧入口,通過第一布氣管共同進入一級臭氧催化氧化塔底部。
3.如權利要求1-2任一項所述的系統,其特征在于,所述系統還包括生物處理反應器,所述生物處理反應器連接一級臭氧催化氧化塔。
4.應用如權利要求1-3任一項所述的非均相臭氧催化氧化系統深度處理養殖廢水的方法,包括如下步驟:(1)經過生物法處理后的養殖廢水從位于一級臭氧催化氧化塔側壁的廢水進口,通過第一布水器進入第一塔體底部,自下而上通過位于中部的硅鋁基催化劑,經臭氧、硅鋁基催化劑和紫外光的共同作用后,從位于頂部側壁的第一廢水出口管流出;(2)二級臭氧催化氧化塔低于一級臭氧催化氧化塔,廢水從一級臭氧催化氧化塔頂部側壁的廢水出口流出,利用高度差,自流進入二級臭氧催化氧化塔上部,在二級臭氧催化氧化塔中采用噴淋裝置均勻布水,水流自上而下,通過位于中部的硅鋁基催化劑,經臭氧、硅鋁基催化劑和紫外光的共同作用后,從位于底部側壁的第二廢水出口管流出;(3)二級臭氧催化氧化塔出水通過第二廢水出口管,由BAF塔進水口經上部第三布水器進入塔內,通過附著在MBBR生物懸浮填料上的微生物,進一步吸附、截留和降解廢水中的有機污染物;同時兩級臭氧催化氧化塔產生的尾氧分別從頂部通過管道匯合后,由位于BAF塔底部側壁的進氣口經第三布氣管通入塔內,為微生物提供有氧環境,保證微生物能夠充分、連續分解有機污染物;廢水自上而下處理后從第三塔體底部出水口排出。
5.如權利要求4所述的方法,其特征在于,所述廢水為經生物處理后的養殖廢水,廢水的COD小于400mg/L,BOD小于100mg/L,總氮小于100mg/L,氨氮小于10mg/L,總磷小于10mg/L,色度2000-5000。
6.如權利要求4-5任一項所述的方法,其特征在于,所述出水水質達到農田灌溉水質標準(GB5084—2021)的標準排放,COD小于200mg/L,BOD小于100mg/L,總氮小于100mg/L,氨氮小于10mg/L,總磷小于10mg/L,色度小于50。
7.如權利要求4-6任一項所述的方法,其特征在于,所述臭氧發生器的發生量為1-10kg/h。
8.如權利要求4-7任一項所述的方法,其特征在于,所述一級臭氧催化氧化塔和二級臭氧催化氧化塔中的填料高度為1-10m,優選為4-6m。
9.如權利要求4-8任一項所述的方法,其特征在于,所述紫外裝置提供的紫外光波長為200-280nm,紫外光功率為75-350W。
10.如權利要求4-9任一項所述的方法,其特征在于,所述廢水先經過生物處理反應器前處理,再送入臭氧深度處理。
發明內容
本發明的目的在于提供一種非均相臭氧催化氧化系統,包括一級臭氧催化氧化塔、二級臭氧催化氧化塔、曝氣生物濾塔(BAF塔);一級臭氧催化氧化塔、二級臭氧催化氧化塔、BAF塔的高度依次遞減;
所述一級臭氧催化氧化塔包括第一塔體、第一廢水進水管、第一布水器、第一臭氧進氣管、第一布氣管、第一硅鋁基催化劑、第一紫外裝置、第一廢水出口管、第一尾氧收集管;
其中第一廢水進水管設置于第一塔體側壁,與第一塔體底部的第一布水器相連接;
第一臭氧進氣管設置于第一塔體側壁,與第一塔體底部的第一布氣管相連接,
第一廢水出水管和第一尾氧收集管設置于第一塔體頂部,
所述一級臭氧催化氧化塔的第一廢水出水管與二級臭氧催化氧化塔的第二廢水進水管相連,
所述二級臭氧催化氧化塔包括第二塔體、第二廢水進水管、第二臭氧進氣管、第二硅鋁基催化劑、第二紫外裝置、第二廢水出水管、第二尾氧收集管;
其中第二廢水進水管設置于第二塔體頂部,與第二塔體上部的噴淋裝置相連接;
第二臭氧進氣管設置于第二塔體側壁,與第二塔體底部的第二布氣管相連接,
第二尾氧收集管設置于第二塔體頂部,
二級臭氧催化氧化塔的第二廢水出水管設置于第二塔體底部,與BAF塔進水口連接;
兩級臭氧催化氧化塔塔體中部均設有硅鋁基催化劑,用攔截網支撐固定在塔體內,
兩級臭氧催化氧化塔均設有紫外裝置,塔體中部每隔50cm交叉設置一根紫外線燈管,在塔內用石英玻璃隔開,紫外燈管可從側壁抽出更換;
所述BAF塔包括第三塔體、BAF塔進水口、第三布水器、BAF塔進氣口、第三布氣管、MBBR生物懸浮填料及BAF塔出水口;
其中BAF塔進氣口位于BAF塔下部,與第三布氣管相連接,MBBR生物懸浮填料用第三攔截網保持在BAF塔中上部。
本發明優選的技術方案中,所述硅鋁基催化劑填料選自Mn-Fe-Ce/γ-Al2O3、SiO2-Al2O3中的任一種或其組合。
本發明優選的技術方案中,所述臭氧催化氧化塔的直徑為2-5m,高度為1-10m。
本發明優選的技術方案中,所述臭氧催化氧化塔中的填料高度為1-10m,優選為4-6m。
本發明優選的技術方案中,所述BAF塔的直徑為2-5m,高度為1-10m。
本發明優選的技術方案中,所述BAF塔中填料的高度為1-10m,優選為3-6m。
本發明優選的技術方案中,所述一級臭氧催化氧化塔側壁中部設有循環水出口,廢水從循環水出口,通過循環泵作用進入臭氧進氣管上的文丘里射流裝置,與臭氧快速氣液混合后,從位于一級臭氧催化氧化塔下部的臭氧入口,通過第一布氣管共同進入一級臭氧催化氧化塔底部。
本發明優選的技術方案中,所述系統還包括生物處理反應器,所述生物處理反應器連接一級臭氧催化氧化塔。
本發明優選的技術方案中,所述生物處理反應器,包括內圓板、外圓板,內圓板與外圓板為同心圓環板,內圓板內側設置中心沉淀池,內圓板與外圓板之間組成環狀間隙腔室,環狀間隙腔室內分隔設置有MBBR缺氧區、MBBR好氧區、接觸氧化缺氧區、接觸氧化好氧區、MBR膜反應區及MBR膜產水區,各級處理區域間由分隔板隔開;
所述MBBR缺氧區上部設置進水口,內部設置MBBR生物懸浮填料,側壁設置潛水攪拌器;所述MBBR缺氧區和MBBR好氧區通過第一分隔板隔開,第一分隔板下部有第一連通口;
所述MBBR好氧區內設置MBBR生物懸浮填料,底部設置穿孔曝氣管,上部設置有第一出水管道,連通中心沉淀池的中心導流筒;
所述中心沉淀池內設置中心導流筒,中心導流筒下部設有反射板,中心沉淀池底部設置有錐形沉泥斗,中心沉淀池上部設有三角堰,三角堰上設置第二出水管道連通至接觸氧化缺氧區底部;
所述接觸氧化缺氧區中設置生物繩填料,側壁設置潛水攪拌器,所述接觸氧化缺氧區和接觸氧化好氧區通過第二分隔板隔開,第二分隔板上部有第二連通口;
所述接觸氧化好氧區中設置生物繩填料,底部設置微孔曝氣盤;所述接觸氧化好氧區和MBR膜反應通過第三分隔板隔開,第三分隔板下部有第三連通口;所述MBR膜反應區中設置簾式MBR中空纖維膜,底部設置微孔曝氣裝置,上部設有抽水泵和第三出水管道連通MBR膜產水區;
所述MBR膜產水區中設置有出水口。
本發明優選的技術方案中,所述MBBR生物懸浮填料為商購,優選為HDPE。
本發明優選的技術方案中,所述生物繩填料為商購,優選為丙烯纖維。
本發明優選的技術方案中,所述簾式MBR中空纖維膜為商購,優選為浸沒式PVDF材質MBR中空纖維膜。
本發明另一目的在于提供應用非均相臭氧催化氧化系統深度處理養殖廢水的方法,包括如下步驟:
(1)經過生物法處理后的養殖廢水從位于一級臭氧催化氧化塔側壁的廢水進口,通過第一布水器進入第一塔體底部,自下而上通過位于中部的硅鋁基催化劑,經臭氧、硅鋁基催化劑和紫外光的共同作用后,從位于頂部側壁的第一廢水出口管流出;
(2)二級臭氧催化氧化塔低于一級臭氧催化氧化塔,廢水從一級臭氧催化氧化塔頂部側壁的廢水出口流出,利用高度差,自流進入二級臭氧催化氧化塔上部,在二級臭氧催化氧化塔中采用噴淋裝置均勻布水,水流自上而下,通過位于中部的硅鋁基催化劑,經臭氧、硅鋁基催化劑和紫外光的共同作用后,從位于底部側壁的第二廢水出口管流出;
(3)二級臭氧催化氧化塔出水通過第二廢水出口管,由BAF塔進水口經上部第三布水器進入塔內,通過附著在MBBR生物懸浮填料上的微生物,進一步吸附、截留和降解廢水中的有機污染物;同時兩級臭氧催化氧化塔產生的尾氧分別從頂部通過管道匯合后,由位于BAF塔底部側壁的進氣口經第三布氣管通入塔內,為微生物提供有氧環境,保證微生物能夠充分、連續分解有機污染物;廢水自上而下處理后從第三塔體底部出水口排出。
本發明優選的技術方案中,所述一級臭氧催化氧化塔側壁中部設有循環水出口,廢水從循環水出口,通過循環泵作用進入臭氧進氣管上的文丘里射流裝置,與臭氧快速氣液混合后,從位于一級臭氧催化氧化塔下部的臭氧入口,通過第一布氣管共同進入一級臭氧催化氧化塔底部。
本發明優選的技術方案中,所述文丘里射流裝置的使用方式為,臭氧通過在文丘里管喉頸處產生的負壓被吸入到廢水中,并充分混勻。
本發明優選的技術方案中,所述一級臭氧催化氧化塔和二級臭氧催化氧化塔的直徑為2-5m,高度為1-10m。
本發明優選的技術方案中,所述一級臭氧催化氧化塔和二級臭氧催化氧化塔的停留時間為1-10h。
本發明優選的技術方案中,所述臭氧發生器的發生量為1-10kg/h。
本發明優選的技術方案中,所述一級臭氧催化氧化塔和二級臭氧催化氧化塔中的填料高度為1-10m,優選為4-6m。
本發明優選的技術方案中,所述紫外裝置提供的紫外光波長為200-280nm,紫外光功率為75-350W。
本發明優選的技術方案中,所述BAF塔的直徑為2-5m,高度為1-10m。
本發明優選的技術方案中,所述BAF塔的停留時間為1-10h。
本發明優選的技術方案中,所述BAF塔中填料的高度為1-10m,優選為3-6m。
本發明優選的技術方案中,所述廢水為經生物處理后的養殖廢水,廢水的COD小于400mg/L,BOD小于100mg/L,總氮小于100mg/L,氨氮小于10mg/L,總磷小于10mg/L,色度2000-5000。
本發明優選的技術方案中,所述出水水質達到農田灌溉水質標準(GB5084—2021)的標準排放,COD小于200mg/L,BOD小于100mg/L,總氮小于100mg/L,氨氮小于10mg/L,總磷小于10mg/L,色度小于50。
本發明優選的技術方案中,所述廢水先經過生物處理反應器進行生物法處理,再送入臭氧深度處理。
本發明優選的技術方案中,所述養殖廢水為奶牛養殖廢水、養豬養殖廢水中的任一種。
本發明優選的技術方案中,所述生物法處理包括如下步驟:
(1)廢水通過進水口進入MBBR缺氧區,MBBR缺氧區內設置MBBR生物懸浮填料,作為載體附著厭氧微生物,側壁設置潛水攪拌器,通過強力攪拌避免底部沉積大量底泥,出水通過第一分隔板下部第一連通口自流進入MBBR好氧區;
(2)所述MBBR好氧區內設置MBBR生物懸浮填料,附著在填料上的微生物進一步去除廢水中的可降解有機污染物;同時在底部設置穿孔曝氣管,均勻布氣;
(3)所述MBBR好氧區出水通過上部管道進入中心沉淀池內的中心導流筒,廢水在中心導流筒內自上而下流出,廢水經位于中心導流筒下部的反射板折向上流,沿上部四周出水三角堰溢流,匯入第二管道流入接觸氧化缺氧區底部,污泥沉降進入池底錐形沉泥斗中排出;
(4)所述接觸氧化缺氧區中設置生物繩填料,用于吸附污泥和微生物;接觸氧化缺氧區側壁設置潛水攪拌器,避免淤泥沉積,出水通過第二分隔板上部開口溢流進入接觸氧化好氧區;
(5)所述接觸氧化好氧區中設置生物繩填料,通過生物膜與活性污泥共同作用降解和凈化有機污染物;底部設置微孔曝氣盤,為生化反應提供充足的氧氣,防止活性污泥沉積;出水通過第三分隔板下部第三連通口自流進入MBR膜反應區;
(6)所述MBR膜反應區中設置簾式MBR中空纖維膜,底部設置微孔曝氣裝置避免淤泥沉積,通過MBR中空纖維膜實現泥水分離;MBR膜反應區出水經上部抽水泵泵入MBR膜產水區,通過出水口排出。
本發明優選的技術方案中,所述廢水為經水解酸化處理后的養殖廢水,廢水的COD為10000-50000mg/L,BOD為5000-10000mg/L,總氮1000-5000mg/L,氨氮500-1000mg/L,總磷100-500mg/L。
本發明優選的技術方案中,所述出水水質達到農田灌溉水質標準(GB5084—2021)的標準排放,COD小于200mg/L,BOD小于100mg/L,總氮小于100mg/L,氨氮小于10mg/L,總磷小于10mg/L。
本發明優選的技術方案中,所述MBBR好氧區的停留時間為30-40h,溶解氧為1-4mg/L。
本發明優選的技術方案中,廢水在MBBR缺氧區的停留時間為10-20h。
本發明優選的技術方案中,所述中心沉淀池的停留時間為1-10h。
本發明優選的技術方案中,所述接觸氧化缺氧區的停留時間為20-30h。
本發明優選的技術方案中,所述接觸氧化好氧區的停留時間為40-50h,溶解氧為1-4mg/L
本發明優選的技術方案中,所述MBR膜反應區的停留時間為1-10h。
本發明優選的技術方案中,所述MBR膜產水區的停留時間為1-10h。
本發明優選的技術方案中,MBBR缺氧區:MBBR好氧區的有效容積比為1:1-5。
本發明優選的技術方案中,接觸氧化缺氧區:接觸氧化好氧區的有效容積比為1:1-5。
本發明優選的技術方案中,MBR膜反應區:MBR膜產水區的有效容積比為1:1-5。
本發明的目的在于提供一種生物處理反應器,包括內圓板、外圓板,內圓板與外圓板為同心圓環板,內圓板內側設置中心沉淀池,內圓板與外圓板之間組成環狀間隙腔室,環狀間隙腔室內分隔設置有MBBR缺氧區、MBBR好氧區、接觸氧化缺氧區、接觸氧化好氧區、MBR膜反應區及MBR膜產水區,各級處理區域間由分隔板隔開;
所述MBBR缺氧區上部設置進水口,內部設置MBBR生物懸浮填料,側壁設置潛水攪拌器;所述MBBR缺氧區和MBBR好氧區通過第一分隔板隔開,第一分隔板下部有第一連通口;
所述MBBR好氧區內設置MBBR生物懸浮填料,底部設置穿孔曝氣管,上部設置有第一出水管道,連通中心沉淀池的中心導流筒;
所述中心沉淀池內設置中心導流筒,中心導流筒下部設有反射板,中心沉淀池底部設置有錐形沉泥斗,中心沉淀池上部設有三角堰,三角堰上設置第二出水管道連通至接觸氧化缺氧區底部;
所述接觸氧化缺氧區中設置生物繩填料,側壁設置潛水攪拌器,所述接觸氧化缺氧區和接觸氧化好氧區通過第二分隔板隔開,第二分隔板上部有第二連通口;
所述接觸氧化好氧區中設置生物繩填料,底部設置微孔曝氣盤;所述接觸氧化好氧區和MBR膜反應通過第三分隔板隔開,第三分隔板下部有第三連通口;所述MBR膜反應區中設置簾式MBR中空纖維膜,底部設置微孔曝氣裝置,上部設有抽水泵和第三出水管道連通MBR膜產水區;
所述MBR膜產水區中設置有出水口。
本發明優選的技術方案中,所述MBBR生物懸浮填料為商購,優選為HDPE。本發明優選的技術方案中,所述生物繩填料為商購,優選為丙烯纖維。
本發明優選的技術方案中,所述簾式MBR中空纖維膜為商購,優選為浸沒式PVDF材質MBR中空纖維膜。
本發明的另一目的在于提供應用本發明的生物處理反應器進行養殖廢水處理的方法,具體包括如下步驟:
(1)廢水通過進水口進入MBBR缺氧區,MBBR缺氧區內設置MBBR生物懸浮填料,作為載體附著厭氧微生物,側壁設置潛水攪拌器,通過強力攪拌避免底部沉積大量底泥,出水通過第一分隔板下部第一連通口自流進入MBBR好氧區;
(2)所述MBBR好氧區內設置MBBR生物懸浮填料,附著在填料上的微生物進一步去除廢水中的可降解有機污染物;同時在底部設置穿孔曝氣管,均勻布氣;
(3)所述MBBR好氧區出水通過上部管道進入中心沉淀池內的中心導流筒,廢水在中心導流筒內自上而下流出,廢水經位于中心導流筒下部的反射板折向上流,沿上部四周出水三角堰溢流,匯入第二管道流入接觸氧化缺氧區底部;
(4)所述接觸氧化缺氧區中設置生物繩填料,用于吸附污泥和微生物;接觸氧化缺氧區側壁設置潛水攪拌器,避免淤泥沉積,出水通過第二分隔板上部開口溢流進入接觸氧化好氧區;
(5)所述接觸氧化好氧區中設置生物繩填料,通過生物膜與活性污泥共同作用降解和凈化有機污染物;底部設置微孔曝氣盤,為生化反應提供充足的氧氣,防止活性污泥沉積;出水通過第三分隔板下部第三連通口自流進入MBR膜反應區;
(6)所述MBR膜反應區中設置簾式MBR中空纖維膜,底部設置微孔曝氣裝置避免淤泥沉積,通過MBR中空纖維膜實現泥水分離;MBR膜反應區出水經上部抽水泵泵入MBR膜產水區,通過出水口排出。
本發明優選的技術方案中,所述廢水為經水解酸化處理后的養殖廢水,廢水的COD為10000-50000mg/L,BOD為5000-10000mg/L,總氮1000-5000mg/L,氨氮500-1000mg/L,總磷100-500mg/L。
本發明優選的技術方案中,所述出水水質達到《畜禽養殖業污染物排放標準》(GB18596-2001)的要求,COD小于400mg/L,BOD小于100mg/L,總氮小于100mg/L,氨氮小于10mg/L,總磷小于10mg/L。
本發明優選的技術方案中,所述MBBR好氧區的停留時間為30-40h,溶解氧為1-4mg/L。
本發明優選的技術方案中,廢水在MBBR缺氧區的停留時間為10-20h。
本發明優選的技術方案中,所述中心沉淀池的停留時間為1-10h。
本發明優選的技術方案中,所述接觸氧化缺氧區的停留時間為20-30h。
本發明優選的技術方案中,所述接觸氧化好氧區的停留時間為40-50h,溶解氧為1-4mg/L
本發明優選的技術方案中,所述MBR膜反應區的停留時間為1-10h。
本發明優選的技術方案中,所述MBR膜產水區的停留時間為1-10h。
本發明優選的技術方案中,MBBR缺氧區:MBBR好氧區的有效容積比為1:1-5。
本發明優選的技術方案中,接觸氧化缺氧區:接觸氧化好氧區的有效容積比為1:1-5。
本發明優選的技術方案中,MBR膜反應區:MBR膜產水區的有效容積比為1:1-5。
除非另有說明,本發明涉及液體與液體之間的百分比時,所述的百分比為體積/體積百分比;本發明涉及液體與固體之間的百分比時,所述百分比為體積/重量百分比;本發明涉及固體與液體之間的百分比時,所述百分比為重量/體積百分比;其余為重量/重量百分比。
與現有技術相比,本發明具有下述有益效果:
1.本發明的非均相臭氧催化氧化系統,有效降低臭氧消耗量,提高臭氧利用率,可進一步降低生物法處理后的出水中的污染物(COD、SS、抗生素、色度),出水水質穩定,可達到《農田灌溉水質標準》(GB5084-2021)。
2.本發明提供的生物處理反應器,有效利用MBBR、接觸氧化、MBR的組合設置,有效降低養殖廢水中的污染物(COD、BOD、SS),出水達到灌溉水排放標準,且傳統兩級A/O中污泥膨脹問題,MBBR在低DO的兼氧環境下,通過污泥降解,實現COD、BOD的降低,通過污泥吸附實現ss的降低,污泥回流通過噴淋裝置噴淋,實現污泥壓泡,節約了消泡劑的使用,A/O和MBR進一步實現COD、ss的降解、吸附,可有效解決污泥膨脹、堵塞問題,無需污泥回流,也無需反沖洗水。污泥膨脹一方面可以通過回流水壓泡解決,另一方面通過MBR膜反應區代替二沉池,用MBR進行污泥攔截,節省占地。
3.本發明整體工藝采用一體化蓮式結構,實現分區利用,布局緊湊,節省占地面積,便于增量擴容,降低投資運行成本,操作簡單,達到高效處理高濃度有機廢水的目的。本發明操作簡單,節能降耗,有效降低系統運行成本,保證處理效果。
(發明人:陳宏繡;焦翔翔;申妍穎;王花平)






