申請日2013.08.19
公開(公告)日2013.11.20
IPC分類號C02F11/04
摘要
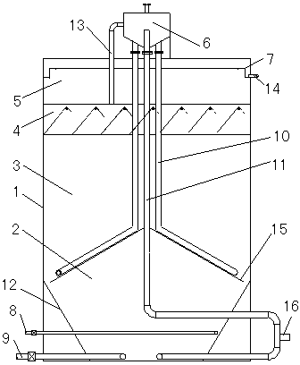
一種污泥高速沉流式污泥反向混合厭氧反應器,主體內自下至上依次設置有沉流式反應區、升流反應區、氣固液分離區和出水區;沉流式反應區為下部斗形體和上部錐形罩相對布置而成,斗形體和錐形罩之間留有間隙,升流反應區在錐形罩的上方;氣固液分離區內設置有三相分離器,出水區的上方設置有出水堰,出水堰上設有出水管;主體頂部設置有污泥反向提升回流裝置,該裝置包括氣水分離罐、污泥反向提升管和回流管,污泥反向提升管連接在氣水分離罐和沉流式反應區的底部之間,回流管連接在氣水分離罐和升流反應區的底部之間。該反應器中污泥高速反向沉流式傳質,傳質變得更為強烈,使污泥流失變得最小,又顯著提高了處理效率。
權利要求書
1.一種高速沉流式污泥反向混合厭氧反應器,包括柱狀主體,其特征在于:主體內自下至上依次設置有沉流式反應區、升流反應區、氣固液分離區和出水區;沉流式反應區為下部斗形體和上部錐形罩相對布置而成,斗形體和錐形罩之間留有間隙,升流反應區在錐形罩的上方;氣固液分離區內設置有三相分離器,出水區的上方設置有出水堰,出水堰上設有出水管;主體頂部設置有污泥反向提升回流裝置,該裝置包括氣水分離罐、污泥反向提升管和回流管,污泥反向提升管連接在氣水分離罐和沉流式反應區的底部之間,回流管連接在氣水分離罐和升流反應區的底部之間,污泥反向提升管與污泥提升動力連接,氣水分離罐與三相分離器之間連接有沼氣管;主體的底部設置有伸入沉流式反應區內的布水管和排泥管;
運行時,污泥反向提升管通過污泥提升動力將底部污泥提升至氣水分離罐后由回流管回流至升流反應區底部,廢水由布水管進入沉流式反應區,同時與回流的污泥混合,此時沉降流速達到5m-10m/小時,污泥在重力和反向提升力作用下向升流反應區底部高速運行并形成旋流,與向上運行的污水形成劇烈傳質,在污泥反向提升管的作用下使污泥周而復始不停地反向循環,因此污泥流失變得最小,傳質變得更為強烈,避免了污泥沉積;廢水在沉流式反應區內形成的氣固液上升至升流反應區,在0.1m/小時-10m/小時的常態升流速度中進行殘余污染物的降解,然后至氣固液分離區,通過三相分離器實現氣固液分離,清液經出水堰排出,污泥在重力和反向提升力作用下向沉流式反應區沉降,沼氣沿沼氣管進入氣水分離罐,池體產生的顆粒污泥經排泥管定期排出。
2.根據權利要求1所述的高速沉流式污泥反向混合厭氧反應器,其特征在于:所述主體的高徑比為1:1-1:4。
3.根據權利要求1所述的高速沉流式污泥反向混合厭氧反應器,其特征在于:所述沉流式反應區和升流反應區之間設置有下部氣固液分離區。
說明書
高速沉流式污泥反向混合厭氧反應器
技術領域
本發明涉及一種用于污水處理生化處理階段的厭氧反應裝置,屬于厭氧反應技術領域。
背景技術
現階段使用的各種傳統厭氧反應器可以歸類為升流式厭氧反應器,這類厭氧反應器構造簡單,操作運行比較方便,通過上升水流和沼氣產生的上升氣流起到攪拌的作用,常態升流速度在0.1-10米/小時之間,啟動和運行時使用水循環帶動污泥進行傳質以達到降解污染物的目的。
但是,這類厭氧反應器由于是升流式原理,泥水由下向上升流循環,造成反應區厭氧污泥流失,污泥受重力影響向底部自然沉降,致使污泥堆積在底部,污泥卻得不到利用。因此,升流式厭氧反應器無法解決底部污泥堆積的問題,存在水流短路、傳質性差和升流過程中厭氧污泥流失的缺點,不適用高濃度水質和可生化差的污水處理,即使應用,效率也非常低。
目前亟需一種能夠對高濃度水質和可生化差的污水進行高效快速處理的厭氧反應器。
發明內容
本發明針對現有厭氧反應器的不足,提供一種污泥反向沉流式循環傳質、厭氧污泥流失率低的高速沉流式污泥反向混合厭氧反應器。該反應器顛覆了傳統厭氧升流式傳質的工藝原理,提出了污泥高速運行反向沉流式傳質的理念,可對高濃度水質和可生化差的污水進行高效快速處理。
本發明的高速沉流式污泥反向混合厭氧反應器,采用下述技術方案:
該反應器,包括柱狀主體,主體內自下至上依次設置有沉流式反應區、升流反應區、氣固液分離區和出水區;沉流式反應區為下部斗形體和上部錐形罩相對布置而成,斗形體和錐形罩之間留有間隙,升流反應區在錐形罩的上方;氣固液分離區內設置有三相分離器,出水區的上方設置有出水堰,出水堰上設有出水管;主體頂部設置有污泥反向提升回流裝置,該裝置包括氣水分離罐、污泥反向提升管和回流管,污泥反向提升管連接在氣水分離罐和沉流式反應區的底部之間,回流管連接在氣水分離罐和升流反應區的底部之間,污泥反向提升管與污泥提升動力連接,氣水分離罐與三相分離器之間連接有沼氣管;主體的底部設置有伸入沉流式反應區內的布水管和排泥管;
運行時,污泥反向提升管通過污泥提升動力(污泥提升泵等)將底部污泥提升至氣水分離罐后由回流管回流至升流反應區底部,廢水由布水管進入沉流式反應區,同時與回流的污泥混合,此時沉降流速達到5m/小時-10m/小時,污泥在重力和反向提升力作用下向升流反應區底部高速運行并形成旋流,與向上運行的污水形成劇烈傳質,在污泥反向提升管的作用下使污泥周而復始不停地反向循環,因此污泥流失變得最小,傳質變得更為強烈,避免了污泥沉積;廢水在沉流式反應區內形成的氣固液上升至升流反應區,在0.1m/小時-10m/小時的常態升流速度中進行殘余污染物的降解,然后至氣固液分離區,通過三相分離器實現氣固液分離,清液經出水堰排出,污泥在重力和反向提升力作用下向沉流式反應區沉降,沼氣沿沼氣管進入氣水分離罐,池體產生的顆粒污泥經排泥管定期排出。
主體的高徑比為1:1-1:4。
沉流式反應區和升流反應區之間設置有下部氣固液分離區。
本發明提出了一種污泥高速反向沉流式傳質的新理念,顛覆了傳統厭氧升流式傳質的運行模式,使底部污泥反向提升后高速向底部運行,與向上運行的污水形成劇烈傳質,傳質變得更為強烈,既避免了污泥沉積,使污泥流失變得最小,又顯著提高了處理效率,保證了出水水質的穩定,適用于各種濃度有機污染廢水的處理,特別適用于高濃度水質和可生化差的污水處理。







