申請日2014.10.20
公開(公告)日2015.01.14
IPC分類號C02F9/14
摘要
本發明涉及一種高效集約型脫氮除磷污水處理工藝,該工藝是將無氧池一、填料池一、無氧池二及填料池二沿水流方向依次串聯設置,組合成多段A/O構型,并通過分點進水的方式,將待處理污水分別注入無氧池一和無氧池二中,依次經反硝化、釋磷處理后,再在填料池一、填料池二中進行硝化、吸磷處理,最后,自流進入動態膜過濾池中,進行泥水分離后,一部分濃縮污泥回流至無氧池一,剩余部分排出,上清液經動態膜過濾后,由排水管道進入下一處理單元,即完成待處理污水的脫氮除磷作業。與現有技術相比,本發明采用多段A/O串聯構型及動態膜過濾池,污染物去除效率快、工藝流程短、占地面積省、出水水質好,為污水處理廠新建和改造工程提供更佳的技術選擇。
權利要求書
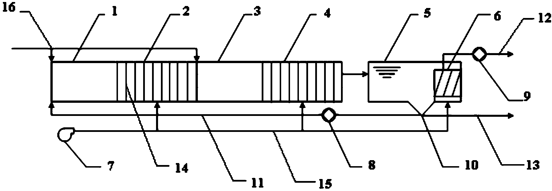
1.一種高效集約型脫氮除磷污水處理工藝,其特征在于,該工藝是將無氧池 一(1)、填料池一(2)、無氧池二(3)及填料池二(4)沿水流方向依次串聯設置, 組合成多段A/O構型,并通過分點進水的方式,將待處理污水分別注入無氧池一 (1)和無氧池二(3)中,所述的無氧池一(1)中的待處理污水依次經反硝化、 釋磷處理后,自流進入填料池一(2)中依次進行硝化、吸磷處理,隨后,自流進 入無氧池二(3)中,與無氧池二(3)的進水混合后,再依次進行反硝化、釋磷處 理,并自流進入填料池二(4)中依次進行硝化、吸磷處理,最后,填料池二(4) 的出水通過管道自流進入動態膜過濾池(5)中,進行泥水分離,形成沉淀污泥和 上清液,所述的沉淀污泥經濃縮后形成濃縮污泥,該濃縮污泥一部分回流至無氧池 一(1),剩余部分排出,所述的上清液經動態膜過濾后,由排水管道(12)進入下 一處理單元,即完成待處理污水的脫氮除磷作業。
2.根據權利要求1所述的一種高效集約型脫氮除磷污水處理工藝,其特征在 于,所述的無氧池一(1)和無氧池二(3)的進水口均通過分水管(16)與上一處 理單元相連通,所述的填料池二(4)通過管道與動態膜過濾池(5)相連通,所述 的動態膜過濾池(5)中的水位低于填料池二(4)的水位。
3.根據權利要求1或2或3所述的一種高效集約型脫氮除磷污水處理工藝, 其特征在于,所述的動態膜過濾池(5)中沿水流方向依次設有重力沉淀濃縮區(10) 和動態膜過濾區(6),所述的重力沉淀濃縮區(10)的底部設有污泥回流管道(11) 和排泥管道(13),所述的重力沉淀濃縮區(10)通過污泥回流管道(11)與無氧 池一(1)相連通,所述的污泥回流管道(11)上設有污泥回流泵(8),所述的動 態膜過濾區(6)的出水口通過排水管道(12)連接至下一處理單元,所述的排水 管道(12)上設有水泵(9)。
4.根據權利要求1或2所述的一種高效集約型脫氮除磷污水處理工藝,其特 征在于,所述的填料池一(2)、填料池二(4)中沿水流方向設有多層填料(14), 所述的填料(14)垂直于池的底板進行設置,相鄰兩層填料(14)之間的間距為 10cm,所述的填料(14)的比表面積>1000m2/m3。
5.根據權利要求4所述的一種高效集約型脫氮除磷污水處理工藝,其特征在 于,所述的填料池一(2)、填料池二(4)中每立方米填料(14)的總面積為4~10m2。
6.根據權利要求1或3所述的一種高效集約型脫氮除磷污水處理工藝,其特 征在于,所述的填料池一(2)、填料池二(4)及動態膜過濾區(6)的底部均通過 通氣管(15)與鼓風機(7)相連通。
7.根據權利要求1所述的一種高效集約型脫氮除磷污水處理工藝,其特征在 于,所述的無氧池一(1)的進水量為待處理污水總量的50~70%。
8.根據權利要求1所述的一種高效集約型脫氮除磷污水處理工藝,其特征在 于,所述的無氧池一(1)中的反硝化、釋磷處理包括前段反硝化反應a和后段釋 磷反應c,所述的前段反硝化反應a的時間為0.5~1h,所述的后段釋磷反應c的時 間為1~1.5h;
所述的無氧池二(3)中的反硝化、釋磷處理包括前段反硝化反應b和后段釋 磷反應d,所述的前段反硝化反應b的時間為1~2h,所述的后段釋磷反應d的時間 為0.5~1h;
所述的填料池一(2)、填料池二(4)中的硝化、吸磷處理的條件為:水力停 留時間為2~3h,控制溶解氧的濃度為1.0~3.0mg/L。
9.根據權利要求1或3所述的一種高效集約型脫氮除磷污水處理工藝,其特 征在于,所述的重力沉淀濃縮區(10)的水力停留時間為1~2h,所述的濃縮污泥 的濃度為4000~8000mg/L,并以30~100%的回流比,經污泥回流管道(11)回流 至無氧池一(1)。
10.根據權利要求1或3所述的一種高效集約型脫氮除磷污水處理工藝,其特 征在于,所述的動態膜過濾區(6)中上清液的SS含量<1000mg/L,動態膜過濾的 通量為60~150L/(m2.d)。
說明書
一種高效集約型脫氮除磷污水處理工藝
技術領域
本發明屬于環保技術領域,涉及一種污水處理工藝,尤其是涉及一種高效集 約型脫氮除磷污水處理工藝。
背景技術
我國城鎮污水處理廠建設的迅猛發展,在水污染控制中發揮著關鍵作用,但二 十世紀建設的污水處理廠多按二級或三級排放標準設計,普遍存在停留時間過短、 功能過于簡單的問題,除磷脫氮及高排放標準提標改造成為必然;而提標改造中普 遍遇到的難題就是占地面積受限。
目前,我國的污水脫氮除磷工藝繁多,以A/A/O、氧化溝和SBR三大系列工 藝為主,其中A/A/O系列工藝以其構造簡單,出水穩定,控制方便等優點,成為 大型污水處理廠建設的首選工藝。A/A/O系列工藝應用廣泛,形式多樣,常見的有 A/A/O、倒置A/A/O、改良A/A/O、Bardenpho、約堡工藝、UCT、MUCT、多段 A/O工藝等。其中多段A/O工藝由于分點進水,使工藝的前段形成較高的污泥濃 度,提高了系統的反應速率,在較短的時間內可完成污染物的去除,節約污水處理 廠占地面積。由于多段A/O工藝由多段AO串聯而成,因此不需要內回流就可以 獲得很好的脫氮效果,有效節約了運行的能耗。而在傳統生化反應池中設置填料可 進一步增加生化處理系統的生物量,提升污水處理工藝的處理效能。
隨著排放標準不斷提高,所需的污水處理工藝流程越來越復雜、停留時間越來 越長、能耗物耗越來越大。傳統的MBR工藝能夠較好地解決占地問題,但是膜通 量低、膜污染、建設和運行成本高等不利因素,限制了膜過濾技術的推廣。針對我 國污水處理設施建設面臨的難題,仍缺少節地、節能、節約成本的高效脫氮除磷工 藝技術。
發明內容
本發明的目的就是為了克服上述現有技術存在的缺陷而提供一種高效低能耗 的短流程脫氮除磷工藝,用于解決目前污水處理流程過長、占地面積偏大的問題, 為污水處理廠新建和改造工程提供更佳的技術選擇,為城市水環境質量改善提供技 術支撐。
本發明的目的可以通過以下技術方案來實現:
一種高效集約型脫氮除磷污水處理工藝,該工藝是將無氧池一、填料池一、無 氧池二及填料池二沿水流方向依次串聯設置,組合成多段A/O構型,并通過分點 進水的方式,將待處理污水分別注入無氧池一和無氧池二中,所述的無氧池一中的 待處理污水依次經反硝化、釋磷處理后,自流進入填料池一中依次進行硝化、吸磷 處理,隨后,自流進入無氧池二中,與無氧池二的進水混合后,再依次進行反硝化、 釋磷處理,并自流進入填料池二中依次進行硝化、吸磷處理,最后,填料池二的出 水通過管道自流進入動態膜過濾池中,進行泥水分離,形成沉淀污泥和上清液,所 述的沉淀污泥經濃縮后形成濃縮污泥,該濃縮污泥一部分回流至無氧池一,剩余部 分排出,所述的上清液經動態膜過濾后,由排水管道進入下一處理單元,即完成待 處理污水的脫氮除磷作業。
所述的無氧池一和無氧池二的進水口均通過分水管與上一處理單元相連通,所 述的填料池二通過管道與動態膜過濾池相連通,所述的動態膜過濾池中的水位低于 填料池二的水位。
所述的動態膜過濾池中沿水流方向依次設有重力沉淀濃縮區和動態膜過濾區, 所述的重力沉淀濃縮區的底部設有污泥回流管道和排泥管道,所述的重力沉淀濃縮 區通過污泥回流管道與無氧池一相連通,所述的污泥回流管道上設有污泥回流泵, 所述的動態膜過濾區的出水口通過排水管道連接至下一處理單元,所述的排水管道 上設有水泵。
所述的填料池一、填料池二中沿水流方向設有多層填料,所述的填料垂直于池 的底板進行設置,相鄰兩層填料之間的間距為10cm,所述的填料的比表面積>1000 m2/m3。
所述的填料池一、填料池二中每立方米填料的總面積為4~10m2。
所述的填料池一、填料池二及動態膜過濾區的底部均通過通氣管與鼓風機相連 通。
所述的無氧池一的進水量為待處理污水總量的50~70%。
所述的無氧池一中的反硝化、釋磷處理包括前段反硝化反應a和后段釋磷反應 c,所述的前段反硝化反應a的時間為0.5~1h,所述的后段釋磷反應c的時間為 1~1.5h;
所述的無氧池二中的反硝化、釋磷處理包括前段反硝化反應b和后段釋磷反應 d,所述的前段反硝化反應b的時間為1~2h,所述的后段釋磷反應d的時間為 0.5~1h;
所述的填料池一、填料池二中的硝化、吸磷處理的條件為:水力停留時間為 2~3h,控制溶解氧的濃度為1.0~3.0mg/L。
所述的重力沉淀濃縮區的水力停留時間為1~2h,所述的濃縮污泥的濃度為 4000~8000mg/L,并以30~100%的回流比,經污泥回流管道回流至無氧池一。
所述的動態膜過濾區中上清液的SS含量<1000mg/L,動態膜過濾的通量為 60~150L/(m2.d)。
所述的無氧池一、無氧池二主要通過攪拌,來維持活性污泥的懸浮狀態,所述 的填料池一、填料池二則通過鼓風機及通氣管向池中供應滿足生化反應所需的氧量 并維持活性污泥的懸浮狀態。
所述的動態膜過濾池中,二次處理污水首先通過重力沉淀,去除大部分懸浮固 體,形成的沉淀污泥進一步濃縮后,在污泥回流泵的作用下,按30~100%的回流 比經污泥回流管道回流至無氧池一;而具有一定濁度的上清液,則經動態膜過濾后, 由排水管道進入下一處理單元。
所述的動態膜過濾池在運行初期,可利用靜壓進行過濾,當阻力增加時,可利用水泵抽吸過濾,同時,啟動動態膜的自動清洗過程。
動態膜的污染控制,可以通過水力動態沖洗和機械自動清洗兩種形式來完成。 當在動態膜表面形成的泥餅增厚,導致阻力增加,僅依靠靜壓無法過濾時,啟動水 泵進行抽吸過濾,過濾阻力損失超過2m水頭時,啟動機械自動清洗,清洗時,停 止過濾,清洗完后經過5~10min即可完成動態膜的預涂,出水SS小于5mg/L。
所述的動態膜過濾池的動態膜過濾區內,懸浮固體與沖洗氣流接觸,可進行有 機物的去除、硝化等好氧反應過程,為出水水質穩定達標提供一定保障。
與現有技術相比,本發明具有以下特點:
1)通過將無氧池一、填料池一、無氧池二及填料池二串聯組合成一整體,形 成多段A/O串聯構型,能夠實現對待處理污水的高效脫氮除磷處理,污染物去除 效率快、工藝流程短、占地面積省、出水水質好;
2)采用重力沉淀、濃縮和動態膜過濾相結合的動態膜過濾池,能夠形成穩定 高效的泥水分離系統,出水主要指標可滿足GB18918-2002一級A標準,特別適合 有節地需求的污水處理廠新建和升級改造項目;
3)污水處理工藝流程簡單,停留時間短,能耗物耗小,建設可行性高,運行 成本低。







