申請日2016.04.29
公開(公告)日2018.01.16
IPC分類號E01C11/22; E03F5/04; E03F5/14; C02F9/00
摘要
本發明公開了一種道路排水處理裝置,包括水匯集通道,其特征在于,所述水匯集通道與分離箱連接,所述分離箱內設有濾水板,濾水板的下方布設有與集水箱,通過電機帶動的輪輻轉葉安裝在所述濾水板上方;輪輻轉葉的出料口安裝有傳送帶電機帶動的傳送帶,傳送帶的出料端安裝有垃圾出口擋門;本發明的有益效果:本發明利用水質凈化濾材,在初期雨水中直接凈化污染源,節儉維護管理費,不僅大量減少廢棄物產生量,同時是污染大大減少,成本低,適合推廣使用。
權利要求書
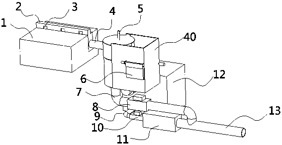
1.道路排水處理裝置,包括水匯集通道(4),其特征在于,所述水匯集通道(4)與分離箱(40)連接,所述分離箱(40)內設有濾水板(14),濾水板(14)的下方布設有集水箱,通過電機帶動的輪輻轉葉(16)安裝在所述濾水板(14)上方;輪輻轉葉(16)的出料口安裝有傳送帶電機(21)帶動的傳送帶(19),傳送帶(19)的出料端安裝有垃圾出口擋門(6);所述集水箱分別連接有管道一(7)和管道二(41),其中:管道一(7)上安裝有電磁閥一(8),管道二(41)上安裝有流量傳感器(22),所述管道一(7)與出水管道(13)連接;所述管道二(41)與儲水箱(12)連接;所述儲水箱(12)內設有進水通道(28),圓錐帽(27)安裝在進水通道(28)的出水口,其四周均布布設有EM原液噴射管(26),EM原液噴射管(26)外部連接有輸料管道(32);所述儲水箱(12)內設有波紋板(24),所述波紋板(24)的上方設有油污層(29),下方設有沉淀物斜槽(30);所述油污層(29)通過傾斜板連接集油箱(23);所述儲水箱(12)的出水口與管道四(9)連通,所述管道四(9)與水質處理裝置(11)連接,水質處理裝置(11)與出水管道(13)連接,所述管道四(9)上安裝有電磁閥三(10)。
2.如權利要求1所述的道路排水處理裝置,其特征在于,所述輪輻轉葉(16)內側的軸圈(161)上均布設有吹氣孔,半圓形擋孔板安裝在軸圈(161)內壁面擋住一半吹氣孔;所述軸圈(161)內還設有噴氣嘴(17)對準輪輻轉葉(16)的排料口,所述噴氣嘴(17)外部連接有壓力氣管(5)。
3.如權利要求1所述的道路排水處理裝置,其特征在于,所述垃圾出口擋門(6)布設在分離箱(40)上,其通過擋門電機(18)帶動可自動開啟和閉合。
4.如權利要求1所述的道路排水處理裝置,其特征在于,所述傳送帶(19)下方安裝有滑梯排水板(20)。
5.如權利要求1所述的道路排水處理裝置,其特征在于,所述圓錐帽(27)與波紋板(24)之間安裝有曝氣裝置(25),所述曝氣裝置(25)外側連接有曝氣泵(31)。
說明書
道路排水處理裝置及其排水方法
技術領域
本發明涉及一種道路排水處理裝置及其排水方法,屬于市政工程技術領域。
背景技術
道路排水包括路面排水部和路邊排水部,所述路面排水部從下至上依次為:基層、防水層、透水層,所述防水層上方設有路面排水溝槽;所述路邊排水部包括設置于道路兩側與所述路面排水部相鄰的透水路沿石,以及所述透水路沿石下方的路邊排水溝槽;所述透水路沿石包括:透水表層和透水強化層,所述透水表層中含有透水材料,所述透水強化層與所述透水表層內表面相鄰接;所述透水強化層內具有空腔。
如一申請號為CN201068550公開了一種道路排水結構。目前排除路面水主要靠盲溝設計和縱向排水溝的設計,這種設計在使用過程中很容易堵塞,而且排水速度受限。本發明由瀝青面層或水泥混凝土面層和透水基層組成,在透水基層中設有排灌管,或在瀝青面層或在水泥混凝土面層和透水基層中設有排灌管,排灌管的下端設為V形、U形或呈馬蹄形結構,排灌管的下端設置排灌孔,排灌管的內腔設有V形水槽,在水槽與排灌管內壁之間設有分隔排灌孔的耳片。道路排水結構解決了路面結構層內部的排水問題,道路排水結構中的排灌管結構設計可以避免排水管道的堵塞造成的困擾,其排水面積大,排水速度快,實用性強。又如一申請號為CN204582715U公開了一種新型道路排水過濾裝置,過濾裝置置于道路排水溝中,其包括設有多孔滲透包的殼體,相鄰殼體之間采用帶條連接,所述多孔滲透包內部填充有不可回收降解的凈水土工合成材料骨料顆粒;道路排水溝包括蓄水部分和格柵,所述過濾裝置位于主要蓄水部分中。本發明結構置于道路排水溝中,引導水流中垃圾向特定排污口排放;附著在過濾裝置上的垃圾,打開格柵,通過帶條取出過濾裝置清理干凈后重新置于排水溝中循環利用;又可對水質進行凈化,效果好,成本和勞動強度低,不僅可用于道路排水溝中還可用于引用自來水管路的凈化。
一般情況下橋梁和道路,由于頻繁的車輛的行使,受到重金屬、污油、輪胎粉塵及污垢,雨天時,大量初期雨水流出水,通過排水渠流入到河川、湖水里,尤其是植物園或純凈水域、地下水脈污染水質。
為了處理以上污染水質的非點源污染源,以前的方法是臨近道路的空地上,挖個大坑,在大坑里種植水芹菜等具有凈化水的植物,以此凈化從橋梁流下的初期雨水流出水,或者在空地上設置凈化槽,集水后凈化污染的雨水。
發明內容
本發明克服了現有技術存在的問題,提出了一種道路排水處理裝置及其排水方法,本發明利用水質凈化濾材,在初期雨水中直接凈化污染源,節儉維護管理費,不僅大量減少廢棄物產生量,同時是污染大大減少。
本發明的具體技術方案如下:
道路排水處理裝置,包括水匯集通道,其特征在于,所述水匯集通道與分離箱連接,所述分離箱內設有濾水板,濾水板的下方布設有集水箱,通過電機帶動的輪輻轉葉安裝在所述濾水板上方;輪輻轉葉的出料口安裝有傳送帶電機帶動的傳送帶,傳送帶的出料端安裝有垃圾出口擋門;
所述集水箱分別連接有管道一和管道二,其中:管道一上安裝有電磁閥一,管道二上安裝有流量傳感器,所述管道一與出水管道連接;所述管道二與儲水箱連接;所述儲水箱內設有進水通道,圓錐帽安裝在進水通道的出水口,其四周均布布設有EM原液噴射管,EM原液噴射管外部連接有輸料管道;所述儲水箱內設有波紋板,所述波紋板的上方設有油污層,下方設有沉淀物斜槽;所述油污層通過傾斜板連接集油箱;
所述儲水箱的出水口與管道四連通,所述管道四與水質處理裝置連接,水質處理裝置與出水管道連接,所述管道四上安裝有電磁閥三。
優先地,所述輪輻轉葉內側的軸圈上均布設有吹氣孔,半圓形擋孔板安裝在軸圈內壁面擋住一半吹氣孔;所述軸圈內還設有噴氣嘴對準輪輻轉葉的排料口,所述噴氣嘴外部連接有壓力氣管。
優先地,所述垃圾出口擋門布設在分離箱上,其通過擋門電機帶動可自動開啟和閉合。所述傳送帶下方安裝有滑梯排水板。所述圓錐帽與波紋板之間安裝有曝氣裝置,所述曝氣裝置外側連接有曝氣泵。
基于上述裝置,本發明還提供一種道路排水處理方法,其特征在于,包括以下步驟,
1)將道路的排水下水道與水匯集通道連接;
2)當下雨或路面灑水清洗時,污水通過水匯集通道進入分離箱,關閉電磁閥一,開啟流量傳感器30-60分鐘,開啟電磁閥三;
3)對壓力氣管進行吹氣,同時啟動輪輻轉葉開始對污水和雜物進行分離,將雜貨排入傳送帶排出;
4)廢水進入儲水箱之后通過圓錐帽將水撒開與EM原液噴射管噴射進來的EM原液混合;
5)曝氣裝置對EM原液與污水混合水質進行曝氣,使EM原液和污水充分混合;
6)波紋板利用污水內的油、水的密度差將油分離到油污層排入出水管道,沉積物分離到沉淀物斜槽;
7)分離之后污水排入到管道四,并通過電磁閥三進入水質處理裝置進行處理,處理完成之后進入出水管道排出;
8)待30-60分鐘之后,關閉流量傳感器,開啟電磁閥一,使污水直接進入出水管道排出。
本發明的有益效果:本發明利用水質凈化濾材,在初期雨水中直接凈化污染源,節儉維護管理費,不僅大量減少廢棄物產生量,同時是污染大大減少,成本低,適合推廣使用。



