申請日2016.05.04
公開(公告)日2016.09.07
IPC分類號B01J19/18; C02F1/52
摘要
本實用新型公開了一種污水處理反應槽,包括槽體,所述槽體的進料端設有酸液管和堿液管,出料端設有排水管,所述槽體側壁還設有聚凝劑管,所述槽體兩側內壁上交替設置有擋板。本實用新型的擋板既可以延長廢水流過的路程,增加反應時間,又可以使廢水在撞擊擋板使翻騰充分混合,色度降至100以下,既大幅提高效果,又不需要攪拌槳,能降低運行成本。
權利要求書
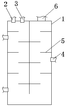
1. 一種污水處理反應槽,包括槽體(1),所述槽體(1)的進料端設有酸液管(2)和堿液管(3),出料端設有排水管(6),所述槽體(1)側壁還設有聚凝劑管(4),其特征在于:所述槽體(1)兩側內壁上交替設置有擋板(5)。
2. 如權利要求1所述的一種污水處理反應槽,其特征在于:所述擋板(5)垂直于槽體(1)側壁設置。
3. 如權利要求1或2所述的一種污水處理反應槽,其特征在于:所述擋板(5)的寬度為槽體(1)寬度的1/2~2/3。
4. 如權利要求1所述的一種污水處理反應槽,其特征在于:所述槽體(1)成U形。
5. 如權利要求1或4所述的一種污水處理反應槽,其特征在于:所述槽體(1)的進料端高于出料端。
說明書
一種污水處理反應槽
技術領域
本實用新型涉及污水處理領域,具體涉及一種污水處理反應槽。
背景技術
紡織企業的染色工藝會產生大量的廢水,廢水中的化學試劑會造成十分嚴重的環境污染,必須進行處理后才能排放;廢水處理其中一個步驟是降低色度,即將廢水進行酸堿中和反應,然后添加聚凝劑沉降,現有的反應槽是直通槽,直通槽前段為設有攪拌槳的混合部,酸堿通過攪拌槳的動作提高均勻性,其缺陷在于:一、廢水在直通槽中流速較快,酸堿反應時間不充分,廢水色度從6000將至500左右;二、攪拌槳不間斷運作的能耗較高;三、廢水具有腐蝕性,攪拌槳及傳動機構、驅動機構易損壞。由此可見,這種直通反應槽的效果不理想,而且運行成本高。
發明內容
本實用新型要解決的技術問題是提供一種污水反應槽,可以解決現有污水處理反應槽采用直通槽,導致效果不理想,而且運行成本高的問題。
本實用新型通過以下技術方案實現:
一種污水處理反應槽,包括槽體,所述槽體的進料端設有酸液管和堿液管,出料端設有排水管,所述槽體側壁還設有聚凝劑管,所述槽體兩側內壁上交替設置有擋板。
本實用新型的進一步方案是,所述擋板垂直于槽體側壁設置。
本實用新型的進一步方案是,所述擋板的寬度為槽體寬度的1/2~2/3。
本實用新型的進一步方案是,所述槽體成U形。
本實用新型的進一步方案是,所述槽體的進料端高于出料端。
本實用新型與現有技術相比的優點在于:
一、擋板既可以延長廢水流過的路程,增加反應時間,又可以使廢水在撞擊擋板使翻騰充分混合,色度降至100以下,既大幅提高效果,又不需要攪拌槳,能降低運行成本;
二、擋板垂直于槽體側壁設置,可以減小廢水撞擊回流形成的緩沖區,確保廢水充分混合;
三、槽體寬度的1/2~2/3的擋板確保廢水流過的路程能夠增加足夠的反應時間;
四、U形槽體有利于減小槽體占用的空間,而且U形的兩個拐角處也具有使廢水翻騰的效果;
五、進料端與出料端的落差使廢水自然流淌,固態沉降物更加容易排出。



