申請日2016.05.07
公開(公告)日2016.11.16
IPC分類號C02F11/12
摘要
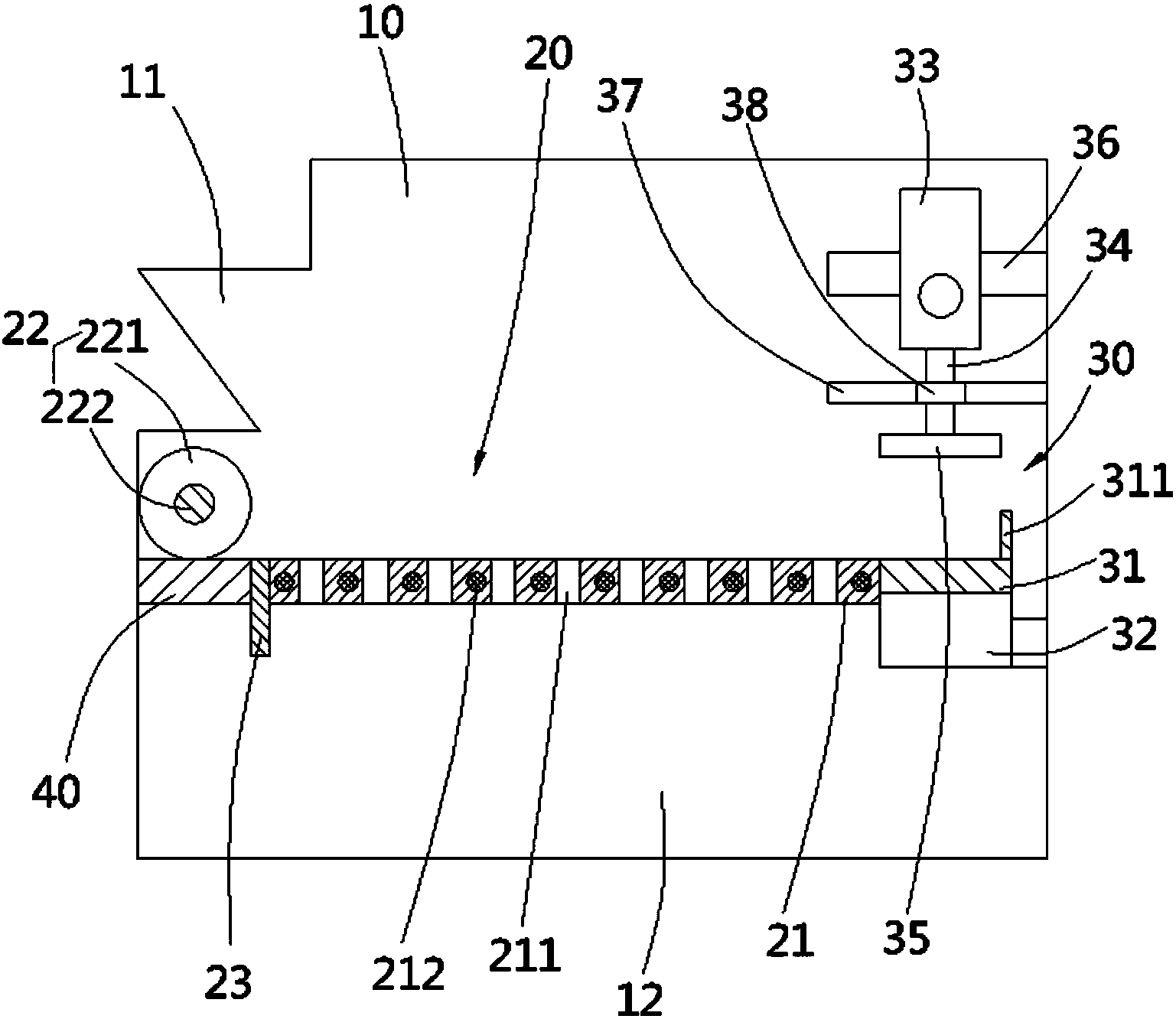
本實用新型公開了一種用于水電站的污泥干化裝置,包括處理箱,處理箱的側壁上設有進料口,進料口下方的處理箱內設有污泥擠壓機構,污泥擠壓機構的一側設有污泥成型機構,污泥擠壓機構和污泥成型機構的下方的處理箱內成型有集液腔;污泥擠壓機構包括擠壓板、擠壓輥和刮泥板,擠壓板上均勻分布有多個與集液腔連通的過濾孔,擠壓板內部設有多個加熱管,擠壓輥壓靠在擠壓板上,刮泥板的前后兩端成型有連接部,連接部的下端固定連接升降氣缸的活塞桿,升降氣缸固定在氣缸板上,氣缸板上螺接有轉動螺桿;污泥成型機構包括輸送帶、液壓器、液壓伸縮柱和定型板。本實用新型具有干化效率高,且能有效地將干化后的污泥擠壓成型并輸送出去的優點。
權利要求書
1.一種用于水電站的污泥干化裝置,包括處理箱(10),其特征在于:
所述處理箱(10)的側壁上設有進料口(11),所述進料口下方的處理箱(10)內設有污泥擠壓機構(20),所述污泥擠壓機構的一側設有污泥成型機構(30),所述污泥擠壓機構(20)和污泥成型機構(30)的下方的處理箱(10)內成型有集液腔(12);
所述污泥擠壓機構(20)包括擠壓板(21)、擠壓輥(22)和刮泥板(23),所述擠壓板(21)固定在處理箱(10)的前后側壁上,擠壓板(21)上均勻分布有多個與所述集液腔(12)連通的過濾孔(211),擠壓板(21)內部設有多個加熱管(212),所述加熱管將所述過濾孔(211)包圍,加熱管(212)連接加熱源,所述擠壓輥(22)壓靠在擠壓板(21)上,擠壓輥(22)包括輥體(221)和轉軸(222),所述輥體(221)固定在轉軸(222)的中部,輥體(221)壓靠在擠壓板(21)上,所述轉軸(222)的兩端分別固定連接有一齒輪(24),所述齒輪的下方嚙合連接有齒條(25),所述齒條固定在處理箱(10)的側壁上,轉軸(222)的其中一端端部固定連接電機(26)的輸出軸,所述電機活動設置在處理箱(10)的側壁上,所述刮泥板(23)設置在與污泥成型機構(30)相對的擠壓板(21)的一側,刮泥板(23)的頂面與擠壓板(21)的頂面持平,所述刮泥板(23)的前后兩端成型有連接部(231),處理箱(10)的前后側壁上成型有移動槽(13),所述連接部(231)設置在所述移動槽(13)內,連接部(231)的下 端固定連接升降氣缸(27)的活塞桿,所述升降氣缸固定在氣缸板(28)上,所述氣缸板上螺接有轉動螺桿(29),所述轉動螺桿的一端固定連接驅動電機(291)的輸出軸;
所述污泥成型機構(30)包括輸送帶(31)、輸送帶底座(32)、液壓器(33)、液壓伸縮柱(34)和定型板(35),所述輸送帶底座(32)固定在處理箱(10)的內側壁上,所述輸送帶(31)設置在輸送帶底座(32)上,輸送帶(31)的輸送表面與擠壓板(21)的頂面持平,所述液壓器(33)位于輸送帶(31)的上方,所述液壓伸縮柱(34)連接在液壓器(33)的下部,所述定型板(35)固定連接在液壓伸縮柱(34)的下端,定型板(35)位于輸送帶(31)的正上方。
2.根據權利要求1所述的用于水電站的污泥干化裝置,其特征在于:所述污泥擠壓機構(20)的另一側設有所述擠壓輥(22)的置放板(40),所述置放板固定在處理箱(10)的側壁上,置放板(40)的頂面與擠壓板(21)的頂面持平,所述刮泥板(23)位于置放板(40)與擠壓板(21)之間,所述集液腔(12)位于置放板(40)的下方。
3.根據權利要求1所述的用于水電站的污泥干化裝置,其特征在于:所述處理箱(10)內的前后側壁上成型有凹槽(14),所述齒條(25)固定在所述凹槽(14)的底部壁上,擠壓輥(22)的轉軸(222)的兩端伸入凹槽(14)內,所述齒輪(24)位于凹槽(14)內,其中一個凹槽(14)的側壁上成型有電機槽(15),所述電機(26)固定在電機板(261)上,所述電機板壓靠在所述電機槽(15)的底部壁上,電機板(261)可沿電機槽(15)移動。
4.根據權利要求1所述的用于水電站的污泥干化裝置,其特征在于:所述液壓器(33)通過液壓器支座(36)固定在處理箱(10)的內側壁上,所述液壓器支座(36)下方的處理箱(10)內側壁上固定有支撐板(37),所述支撐板的中部設置有套筒(38),所述液壓伸縮柱(34)穿過所述套筒(38)。
5.根據權利要求1所述的用于水電站的污泥干化裝置,其特征在于:所述輸送帶(31)上靠近處理箱(10)內側壁的一端成型有污泥限位板(311)。
6.根據權利要求1所述的用于水電站的污泥干化裝置,其特征在于:所述加熱管(212)均勻分布在擠壓板(21)內部,加熱管(212)在擠壓板(21)內部呈蛇形將過濾孔(211)環繞包圍。
7.根據權利要求1所述的用于水電站的污泥干化裝置,其特征在于:所述轉動螺桿(29)的另一端鉸接在移動槽(13)的側壁上,所述驅動電機(291)固定在移動槽(13)的側壁上,所述氣缸板(28)壓靠在移動槽(13)的底部壁上。
8.根據權利要求1所述的用于水電站的污泥干化裝置,其特征在于:所述刮泥板(23)的豎直長度不大于進料口(11)的底端與擠壓板(21)的頂面之間的距離。
說明書
一種用于水電站的污泥干化裝置
技術領域:
本實用新型涉及污泥處理設備的技術領域,具體是涉及一種用于水電站的污泥干化裝置。
背景技術:
目前,水電站利用建筑集中天然水流的落差形成水頭,匯集、調節天然水流的流量,將集中的水能轉換為電能。當枯水季節來臨時,水庫內的水位下降,水庫內的污泥會顯露出來。污泥內有機物含量高,容易腐化發臭,污染環境,因此,需要將污泥收集后進行統一處理。污泥的主要特性是含水率高,需要將污泥內的水排出,減小占用的空間。現有的污泥干化裝置干化效率低,且干化后無法有效地將污泥擠壓成型并輸送出干化設備,因此有必要予以改進。
實用新型內容:
本實用新型的目的旨在解決現有技術存在的問題,提供一種干化效率高,且能有效地將干化后的污泥擠壓成型并輸送出去的用于水電站的污泥干化裝置。
本實用新型涉及一種用于水電站的污泥干化裝置,包括處理箱,所述處理箱的側壁上設有進料口,所述進料口下方的處理箱內設有污泥擠壓機構,所述污泥擠壓機構的一側設有污泥成型機構,所述污泥擠壓機構和污泥成型機構的下方的處理箱內成型有集液腔;
所述污泥擠壓機構包括擠壓板、擠壓輥和刮泥板,所述擠壓板固定在處理箱 的前后側壁上,擠壓板上均勻分布有多個與所述集液腔連通的過濾孔,擠壓板內部設有多個加熱管,所述加熱管將所述過濾孔包圍,加熱管連接加熱源,所述擠壓輥壓靠在擠壓板上,擠壓輥包括輥體和轉軸,所述輥體固定在轉軸的中部,輥體壓靠在擠壓板上,所述轉軸的兩端分別固定連接有一齒輪,所述齒輪的下方嚙合連接有齒條,所述齒條固定在處理箱的側壁上,轉軸的其中一端端部固定連接電機的輸出軸,所述電機活動設置在處理箱的側壁上,所述刮泥板設置在與污泥成型機構相對的擠壓板的一側,刮泥板的頂面與擠壓板的頂面持平,所述刮泥板的前后兩端成型有連接部,處理箱的前后側壁上成型有移動槽,所述連接部設置在所述移動槽內,連接部的下端固定連接升降氣缸的活塞桿,所述升降氣缸固定在氣缸板上,所述氣缸板上螺接有轉動螺桿,所述轉動螺桿的一端固定連接驅動電機的輸出軸;
所述污泥成型機構包括輸送帶、輸送帶底座、液壓器、液壓伸縮柱和定型板,所述輸送帶底座固定在處理箱的內側壁上,所述輸送帶設置在輸送帶底座上,輸送帶的輸送表面與擠壓板的頂面持平,所述液壓器位于輸送帶的上方,所述液壓伸縮柱連接在液壓器的下部,所述定型板固定連接在液壓伸縮柱的下端,定型板位于輸送帶的正上方。
借由上述技術方案,本實用新型在使用時,將待處理的污泥從處理箱的進料口倒入處理箱內,污泥順著進料口進到污泥擠壓機構的擠壓板上,接著啟動電機,電機帶動擠壓輥的轉軸轉動,轉軸上的齒輪跟隨轉軸一起轉動,齒輪在與之嚙合的齒條上轉動,從而帶動擠壓輥在擠壓板上移動,擠壓輥的輥體壓靠在擠壓板上移動,從而將擠壓板上的污泥在擠壓板上碾平,在擠壓并碾平污泥的過程中,污泥中的水分通過擠壓板上的過濾孔流入下方的處理箱的集液腔中,同時,加熱源 使加熱管發熱,加熱管對擠壓板上的污泥加熱,從而對污泥進行干燥,電機正轉和反轉可帶動擠壓輥在擠壓板上來回碾壓污泥,使得污泥中的水分擠壓徹底。污泥在擠壓板上被擠壓完全之后,啟動處理箱一端的升降氣缸,升降氣缸的活塞桿伸展帶動刮泥板的連接部上升,從而使得刮泥板上升,待刮泥板的底部上升至與擠壓板的頂面持平時,啟動驅動電機,驅動電機帶動轉動螺桿轉動,轉動螺桿帶動與其螺接的氣缸板在處理箱的移動槽內向著污泥成型機構移動,從而帶動升降氣缸和固定在升降氣缸上的刮泥板也朝著污泥成型機構移動,刮泥板在移動的過程中,其下端將擠壓板上的污泥刮起,并最終將污泥刮到污泥成型機構的輸送帶上。輸送帶將干化后的污泥進行輸送,同時液壓器啟動,在液壓器的作用下,液壓伸縮柱帶動定型板下降,利用定型板將輸送帶上的污泥擠壓成型,便于后續處理,擠壓成型后的干化污泥被輸送帶送離處理箱。
通過上述方案,本實用新型的污泥干化裝置干化效率高,能有效地針對水電站中的污泥進行處理,方便這些污泥在干燥后擠壓成塊,既可以方便污泥的搬運,也可以方便這些污泥用作其他用途,改善了水電站污泥處理效果。
作為上述方案的一種優選,所述污泥擠壓機構的另一側設有所述擠壓輥的置放板,所述置放板固定在處理箱的側壁上,置放板的頂面與擠壓板的頂面持平,所述刮泥板位于置放板與擠壓板之間,所述集液腔位于置放板的下方。按上述方案,在待處理的污泥還未進入處理箱內時,擠壓輥置于置放板上,待污泥進到擠壓板上時,擠壓輥從置放板滾到擠壓板上對污泥進行擠壓;在污泥被擠壓完全之后,擠壓輥又重新滾到置放板上,從而便于刮泥板對擠壓板上的污泥進行刮除。
作為上述方案的一種優選,所述處理箱內的前后側壁上成型有凹槽,所述齒條固定在所述凹槽的底部壁上,擠壓輥的轉軸的兩端伸入凹槽內,所述齒輪位于 凹槽內,其中一個凹槽的側壁上成型有電機槽,所述電機固定在電機板上,所述電機板壓靠在所述電機槽的底部壁上,電機板可沿電機槽移動。按上述方案,擠壓輥在轉動并移動時,其上的齒輪在凹槽內與齒條嚙合轉動,電機在帶動轉軸轉動的過程中,和電機板一起被轉軸帶動在電機槽內來回移動。
作為上述方案的一種優選,所述液壓器通過液壓器支座固定在處理箱的內側壁上,所述液壓器支座下方的處理箱內側壁上固定有支撐板,所述支撐板的中部設置有套筒,所述液壓伸縮柱穿過所述套筒。
作為上述方案的一種優選,所述輸送帶上靠近處理箱內側壁的一端成型有污泥限位板。按上述方案,當干化后的污泥被刮泥板刮到輸送帶上時,所述污泥限位板對輸送帶上的污泥進行限位,防止污泥從輸送帶上掉落。
作為上述方案的一種優選,所述加熱管均勻分布在擠壓板內部,加熱管在擠壓板內部呈蛇形將過濾孔環繞包圍。
作為上述方案的一種優選,所述轉動螺桿的另一端鉸接在移動槽的側壁上,所述驅動電機固定在移動槽的側壁上,所述氣缸板壓靠在移動槽的底部壁上。
作為上述方案的一種優選,所述刮泥板的豎直長度不大于進料口的底端與擠壓板的頂面之間的距離。
上述說明僅是本實用新型技術方案的概述,為了能夠更清楚了解本實用新型的技術手段,并可依照說明書的內容予以實施,以下以本實用新型的較佳實施例并配合附圖詳細說明如后。



