某生物制藥企業以豆油、玉米淀粉、甜菜堿、玉米胚芽、玉米蛋白粉、豆粕、棉籽蛋白等為原料,生產維生素B12、甲鈷胺、維生素B2、腺苷鈷胺等原料藥。生產過程中產生高鹽高有機物廢水約3000m3·d-1,經生化處理后達標排放。為節約水資源,該企業新增廢水零排放工藝,出水水質達到《循環冷卻水再生水水質標準》(HG/T3923-2007)標準,回用率不低于95%。濃縮液進行蒸發分鹽處理,蒸發結晶副產品氯化鈉滿足GB/T5462-2015《工業鹽》工業干鹽二級標準,雜鹽率小于等于15%
1、零排放工藝
1.1 水質情況
該廢水鹽分較高,氯離子、鈉離子等一價離子占鹽分總比較高,其設計進出水水質如表1,單位均為mg·L-1。

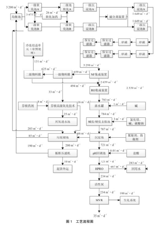
1.2 工藝流程
如圖1所示,中水回用及零排工藝為“預處理系統+NF系統+NF濃縮液減量化系統+RO系統+二級除硬去硅系統+高壓HPRO濃縮+后續MVR蒸發及冷凍結晶系統。整個系統的處理思路為先將COD、二價鹽與一價鹽分通過納濾膜截留分離開,再通過物料膜分離NF濃縮液中的COD和二價鹽與一價離子,使得整個污水中的二價鹽分與COD分別富集在減量濃縮液的二級濃縮液及一級濃縮液中,一級減量后的濃縮液中COD屬于不可生化降解的COD,通過高級氧化技術提高可生化性后作為生化系統的碳源。二級減量后的濃縮液中主要含有絕大多數的二價鹽,可通過后續的冷凍結晶單元去除。經過NF和NF減量化裝置處理后的清液中主要含有一價鹽分,此時便可進行濃縮鹽分,經RO處理后,濃液中鈣鎂總硬度上升,通過過燒堿-純堿-氯化鎂藥劑協同去除硬度、堿度和總硅。為后續的HPRO再濃縮作為前端保障預處理,HPRO濃縮液為高TDS、高COD。能夠透過NF進入NF清液的有機物分子量較小,多數屬于易揮發性的物質,不會對后續的MVR蒸發運行工藝產生較大的影響。故而主要的思路為首先分離COD與二價鹽,一價鹽濃縮液蒸發分鹽結晶,二價鹽濃縮冷凍結晶,COD經氧化預處理后進生化系統處理,從而達到零排放的目的。
整個工藝由預處理系統、NF系統、NF濃縮液減量化系統、反滲透系統、軟化系統、HPRO系統、污泥處置系統七大部分組成。

預處理系統包括:除硬軟化系統、磁分離系統、砂濾過濾器、保安過濾系統等。
NF系統包括:NF進水泵、NF進水罐、NF集成設備、NF清液罐、NF濃縮液罐等附屬加藥單元等。
RO系統包括:RO進水泵、RO集成設備、RO濃縮液水罐以及RO系統所需的阻垢劑等加藥清洗單元等。
NF濃縮液減量化系統包括:一級進水泵、二級進水泵、一級增壓泵、二級增壓泵、中間水罐、各級物料儲罐等單元、清洗加藥單元等。
深度軟化系統:包括pH調節池、鈣鎂沉淀區以及除硬反應區。
污泥處置系統包括:隔膜式板框壓濾機、壓榨泵、壓榨水箱、皮帶輸送、脫水清液輸送泵、污泥料斗、翻板系統、污泥儲池、板框進料泵等。
2、主要建構筑物及設備參數
2.1 預處理系統
生化系統二沉池出水呈現出高COD、高懸浮物、高硬度的特性,為了滿足NF進水的最低要求,需要先進行預處理沉淀COD、鈣鎂硬度和TSS等。再經砂濾和保安過濾器截留未沉淀完全的懸浮物和有機物。將原水預處理的主要作用為:防止細小顆粒物質污染NF膜;防止膠體類物質污染堵塞NF膜;防止強氧化劑對NF膜的氧化損傷。本項目設計采用“除硬軟化+磁分離+沉淀+砂濾+保安過濾器”組合方式對原生化系統二沉池出水進行預處理。
軟化反應區4個,單個池容50m,加藥分別為氫氧化鈉、氯化鎂、氧化鈣、碳酸鈉,沉淀池2個,單個池容275m3,沉淀時間3h。砂濾設備4套,單套處理能力70m3·h-1,濾速10m3·h-1。保安過濾器2個,采用折疊式大流量濾芯,長度1016mm,過濾精度5μm。
2.2 NF系統
生化系統處理后二沉池出水中難生化降解的有機物形成的COD、鹽分和色度超標嚴重,經前端的預處理系統后,出水懸浮物、硬度大幅降低,但COD、鹽分等依然很高。
NF采用集成模塊化裝置,按照3298m3·d-1進行設計,共設4套處理量為900m3·d-1NF集成設備,總計處理量3600m3·d-1。單套配置9支膜殼,54支膜元件,共計216支膜元件,設計膜通量16LHM,設計產水率80%。
2.3 RO系統
采用RO系統將一價鹽濃縮,清液回用,RO膜濃縮液量進入高壓HPRO進行進一步濃縮處理,盡可能減少蒸發的量。
RO采用集成模塊化裝置,按照3200m3·d-1進行設計,共設4套處理量為800m3·d-1RO集成設備,單套配置12支膜殼,72支膜元件,共計288支膜元件,設計膜通量12LHM,設計產水率75%。
2.4 NF濃縮液減量系統
針對NF膜濃縮液高COD、高二價鹽的特性,為提高整體水資源回收利用率,需要將COD和二價鹽進行分離。本項目共設計4套納濾濃縮液減量集成設備,單套分兩級分離,一級分兩段,一級一段清液進入二級,確保清液出水的COD,一級一段濃液進入一級二段再濃縮,最大限度的降低了納濾濃縮液尾液的量。減量化系統產生的清液與納濾清液混合后一道進行反滲透處理,一級二段濃縮液經原芬頓高級氧化技術提高可生化系之后,進入原厭氧單元進行處理,二級濃縮液進入冷凍結晶單元進行硫酸鈉結晶。
NF濃縮液減量化集成模塊裝置,按照659m3·d-1設計,產水495m3·d-1,設計一級膜通量12LMH,二級膜通量5.8LMH,總膜元件數112支。
2.5 深度軟化系統
RO濃縮液富集了NF產水中絕大多數的鈣、鎂等二價離子以及二氧化硅,在后續HPRO處理系統中有很強的結垢污堵傾向,因此需要做化學軟化處理。
深度軟化反應區4個,單個池容30m3,加藥順序分別為氫氧化鈉、氯化鎂、氧化鈣、碳酸鈉,沉淀池2個,單個池容150m3,沉淀時間6h。
2.6 HPRO系統
RO濃液尚有721m3·d-1,直接上蒸發結晶,則投資及運行成本會高,經物料平衡計算及離子濃度估算,RO濃液的TDS約35000mg·L-1,通過HPRO將TDS進一步濃縮至100000mg·L-1左右,可將進入蒸發的量減少至234m3·d-1。HPRO采用集成模塊化裝置,按照730m3·d-1進行設計,84支膜,設計膜通量10LHM,設計產水率60%。
2.7 污泥處置系統
本項目產生的污泥主要為軟化過程、芬頓氧化系統、混凝沉淀系統產生的化學污泥為主,含水率為95%~98%之間,凝聚性能強,主要成分為碳酸鈣、氫氧化鎂、硅酸鎂、硅酸鈣、氫氧化鐵以及部分絮凝劑和有機污染物質,適合選用板框壓濾機進行處理,設計采用高壓隔膜脫水機2臺,單臺過濾面積200m²,進料量297m3·d-1,配套進料泵40m3·h-1,同步配套出料倉、污泥濃縮池等,脫水后污泥含水率為60%~70%。
3、運行成本
運行成本包括藥劑費、電費及人工。按照工程處理水量3200m3·d-1計算,蒸汽為場內余熱蒸汽,不計費用,氯化鈉和硫酸鈉成品鹽收益及處置費相抵。
1)藥劑費:包括膜清洗劑、阻垢劑、鹽酸、助凝劑、絮凝劑、氯化鎂、碳酸鈉、氫氧化鈉、氧化鈣、雙氧水、硫酸亞鐵、殺菌劑以及還原劑共12種藥劑,噸水處理成本約13.23元;
2)電費:每日運行的污水處理系統設備總運行功率為1593.347kW。
噸水每日最大電耗為:
1593.47kWx0.8x24h÷3200m3=9.56kW·h·m-3。
工業用電按0.407元·(kW·h)-1計。噸水處理電費為3.89元·m-3。
3)人工費:該項目共需人員約24人,按照10萬元/人·年估算,則噸水人工費約2.27元。
綜合運行成本約為19.39元·m-3,其中,藥劑成本會隨著水質水量的變化而變化。
4、結論
1)生物制藥產生的廢水經生化系統處理后的達標水可通過除硬、過濾及膜分離的方式實現中水回用,水質達到《循環冷卻水再生水水質標準》(HG/T3923-2007)。
2)廢水中的一二價鹽可通過NF納濾膜集成設備進行分離,NF濃液可通過兩級物料分離膜實現COD和鹽分的分離,進一步對NF濃液減量的同時,減少了硫酸鈉蒸發結晶系統的進水COD值,可提高硫酸鈉結晶鹽的品質。
3)經NF膜系統分離后的清液通過RO及HPRO完成多倍濃縮,有效縮減氯化鈉蒸發結晶系統的規模,節約投資及運行成本。
4)軟化除硬系統的設置降低了膜的清洗頻次,可提高膜的使用壽命。
5)整體水回用率達到95%以上。(來源:維爾利環?萍技瘓F股份有限公司)



